LEMON Manuals: Even more car manuals for everyone
Home >> Lexus >> 2021 >> ES 250 Base >> Repair and Diagnosis >> Transmission >> Transfer Case >> Dynamic Torque Control AWD System - Diagnostics - Introduction >> Dynamic Torque Control AWD System >> System Diagram [08/2020 - ] >> System Diagram [08/2020 - ]

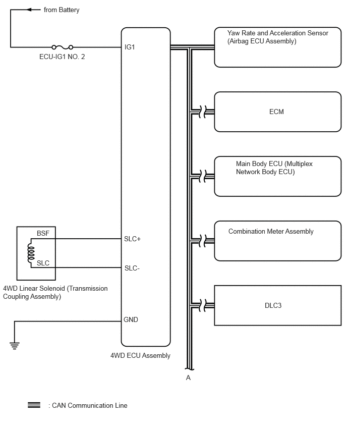
System Diagram [08/2020 - ]

GTY957572Courtesy of © TOYOTA, LICENSE AGREEMENT TMS1002
GTY957635Courtesy of © TOYOTA, LICENSE AGREEMENT TMS1002