LEMON Manuals: Even more car manuals for everyone
Home >> Lexus >> 2021 >> ES 250 Base >> Repair and Diagnosis (Single Page) >> Accessories & Equipment >> Anti-Theft Systems >> Smart Access System (For Start) (Except Hybrid) - Symptom Tests >> SMART ACCESS SYSTEM WITH PUSH-BUTTON START (for Start Function, Gasoline Model) >> Immobilizer System does not Operate Properly [06/2018 - 08/2020] >> Procedure

Immobilizer System does not Operate Properly [06/2018 - 08/2020]: Procedure

  1. CHECK FOR DTC 
    1. Check for DTCs.

      Body Electrical > Smart Access > Trouble Codes 

      Powertrain > Engine > Trouble Codes 

      Result

      Result Proceed to
      DTCs are not output A
      DTCs are output B

    Result: 

    GO TO DIAGNOSTIC TROUBLE CODE CHART. Refer to  REGISTRATION [06/2018 - 10/2019]  , or refer to  REGISTRATION [10/2019 - 08/2020] 

    Result: 

    See step  2

  2. READ VALUE USING TECHSTREAM (IMMOBILIZER FUEL CUT STATUS) 
    1. Connect the Techstream to the DLC3.
    2. Turn the engine switch on (IG).
    3. Turn the Techstream on.
    4. Enter the following menus: Powertrain / Engine / Data List.
    5. Read the Data List according to the display on the Techstream.

      Powertrain > Engine > Data List 

      Tester Display Measurement Item Range Normal Condition Diagnostic Note
      Immobilizer Fuel Cut Status Status of immobilizer fuel cut OFF or ON - -

      Powertrain > Engine > Data List 

      Tester Display
      Immobilizer Fuel Cut Status

      OK

      OFF is displayed after the engine is started.

      Result

      Proceed to
      OK
      NG

    Result: 

    OK 

    GO TO SFI SYSTEM. Refer to  HOW TO PROCEED WITH TROUBLESHOOTING [06/2018 - ] 

    Result: 

    NG 

    See step  3

  3. CHECK WHETHER ENGINE STARTS 
    1. Check that the engine starts 5 seconds after the engine switch turned on (IG).

      OK

      Engine starts normally.

      Result

      Proceed to
      OK
      NG

    Result: 

    OK 

    USE SIMULATION METHOD TO CHECK. Refer to  HOW TO PROCEED WITH TROUBLESHOOTING [06/2018 - ] 

    Result: 

    NG 

    See step  4

  4. CHECK HARNESS AND CONNECTOR (ID CODE BOX (IMMOBILIZER CODE ECU) - ECM) 
    1. Disconnect the G52 ID code box (immobilizer code ECU) connector.
    2. Disconnect the A25 ECM connector.
    3. Measure the resistance according to the value(s) in the table below.

      Standard Resistance

      Tester Connection Condition Specified Condition
      G52-3 (EFII) - A25-45 (IMO) Always Below 1 Ω
      G52-4 (EFIO) - A25-59 (IMI) Always Below 1 Ω
      G52-3 (EFII) or A25-45 (IMO) - Other terminals and body ground Always 10 kΩ or higher
      G52-4 (EFIO) or A25-59 (IMI) - Other terminals and body ground Always 10 kΩ or higher

      Result

      Proceed to
      OK
      NG

    Result: 

    NG 

    REPAIR OR REPLACE HARNESS OR CONNECTOR 

    Result: 

    OK 

    See step  5

  5. CHECK ECM (TERMINAL EFIO AND EFII) 
    1. Connect the G52 ID code box (immobilizer code ECU) connector.
    2. Connect the A25 ECM connector.
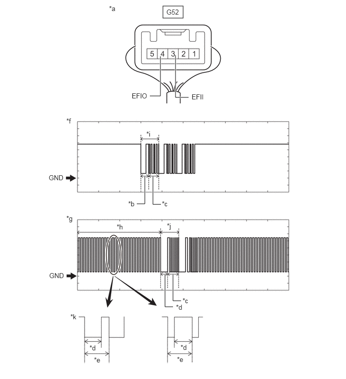
    3. Using an oscilloscope, check the waveform.
      GTY810694Courtesy of © TOYOTA, LICENSE AGREEMENT TMS1002
      *a Component with harness connected
      (ID Code Box (Immobilizer Code ECU))
      *b Approximately 160 ms.
      *c Approximately 270 ms. *d Approximately 40 ms.
      *e Approximately 60 ms. *f Waveform (EFII)
      *g Waveform (EFIO) *h Waveform A
      *i Waveform B *j Waveform C
      *k Waveform A (detail) - -
      NOTE:

      The waveform shown in the illustration is an example for reference only. Noise, chattering, etc. are not shown.

      OK

      Tester Connection Condition Tool Setting Specified Condition
      G52-3 (EFII) - Body ground Within 3 seconds of engine start or within 3 seconds of engine switch turned on (IG) after battery cable disconnected and reconnected 2 V/DIV., 500 ms./DIV. Pulse generation
      (See waveform (EFII))
      G52-4 (EFIO) - Body ground Within 3 seconds of engine start or within 3 seconds of engine switch turned on (IG) after battery cable disconnected and reconnected 2 V/DIV., 500 ms./DIV. Pulse generation
      (See waveform (EFIO))

      Result

      Result Proceed to
      Normal waveform A
      Waveform A or C not output, or has abnormal wavelength or shape B
      Waveform B not output, or has abnormal wavelength or shape C

    Result: 

    REPLACE ID CODE BOX (IMMOBILIZER CODE ECU). Refer to  REMOVAL [06/2018 - 08/2021] 

    Result: 

    REPLACE ECM. Refer to  REMOVAL [06/2018 - 10/2019]  , or refer to  REMOVAL [10/2019 - 08/2021] 

    Result: 

    See step  6

  6. REGISTER ECU COMMUNICATION ID 
    1. Register the ECU communication ID.

      Refer to REGISTRATION [06/2018 - 10/2019] , or refer to REGISTRATION [10/2019 - 08/2020]

      Result

      Proceed to
      NEXT

    Result: 

    NEXT 

    See step  7

  7. CHECK WHETHER ENGINE STARTS 
    1. Check that the engine starts.

      OK

      Engine starts normally.

      Result

      Proceed to
      OK
      NG

    Result: 

    OK 

    END (COMMUNICATION ID REGISTRATION WAS DEFECTIVE) 

    Result: 

    NG 

    REPLACE ID CODE BOX (IMMOBILIZER CODE ECU). Refer to  REMOVAL [06/2018 - 08/2021]