LEMON Manuals: Even more car manuals for everyone
Home >> Lexus >> 2019 >> UX 250h Base >> Repair and Diagnosis (Single Page) >> Accessories & Equipment >> Anti-Theft Systems >> Smart Access System W/ Push-Button Start (Start Function) (Diagnostics - Introduction) (1 Of 2) (Hybrid) >> SMART ACCESS SYSTEM WITH PUSH-BUTTON START (for Start Function, HV Model) >> System Diagram [08/2021 - 07/2022] >> System Diagram [08/2021 - 07/2022]

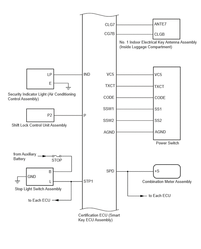
System Diagram [08/2021 - 07/2022]

  1. SMART ACCESS SYSTEM WITH PUSH-BUTTON START (for Start Function, HV Model) 
    GTY1087533Courtesy of © TOYOTA, LICENSE AGREEMENT TMS1002
    GTY1087722Courtesy of © TOYOTA, LICENSE AGREEMENT TMS1002
    GTY838260Courtesy of © TOYOTA, LICENSE AGREEMENT TMS1002
  2. SMART ACCESS SYSTEM WITH PUSH-BUTTON START (for Entry Function, HV Model) 

    Refer to SYSTEM DIAGRAM [08/2021 - 07/2022]