LEMON Manuals: Even more car manuals for everyone
Home >> Lexus >> 2019 >> UX 200 Base >> Repair and Diagnosis (Single Page) >> Transmission >> Automatic Trans >> Continuously Variable Transaxle (CVT) System (K120) (Diagnostic Codes) (1 Of 2) >> Continuously Variable Transaxle System >> DTC P0705-13: Transmission Range Sensor "A" Circuit Open; DTC P070562: Transmission Range Sensor "A" Signal Compare Failure [10/2018 - 07/2022] >> Wiring Diagram

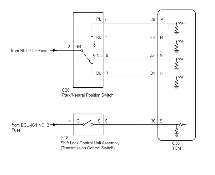
DTC P0705-13: Transmission Range Sensor "A" Circuit Open; DTC P070562: Transmission Range Sensor "A" Signal Compare Failure [10/2018 - 07/2022]: Wiring Diagram

GTY799294Courtesy of © TOYOTA, LICENSE AGREEMENT TMS1002