LEMON Manuals: Even more car manuals for everyone
Home >> Lexus >> 2019 >> UX 200 Base >> Repair and Diagnosis (Single Page) >> Electrical >> Fuses & Circuit Breakers >> OEM Junction Block, Ecu & Fuse/Relay Locations >> Junction Block Fuse, Relay & Circuit Identification >> Instrument Panel Junction Block Assembly - Instrument Panel Reinforcement >> Notes

Instrument Panel Junction Block Assembly - Instrument Panel Reinforcement: Notes

For additional information, refer to Figure.

Fig 1: Instrument Panel J/B Assembly (1 Of 4)
G00586048Courtesy of © TOYOTA, LICENSE AGREEMENT TMS1002
Fig 2: Instrument Panel J/B Assembly (2 Of 4)
G00586049Courtesy of © TOYOTA, LICENSE AGREEMENT TMS1002
Fig 3: Instrument Panel J/B Assembly (3 Of 4)
G00586050Courtesy of © TOYOTA, LICENSE AGREEMENT TMS1002
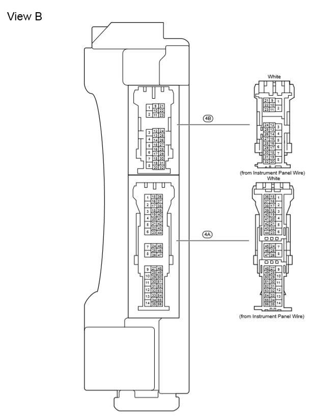
Fig 4: Instrument Panel J/B Assembly (4 Of 4)
G00586051Courtesy of © TOYOTA, LICENSE AGREEMENT TMS1002
Instrument Panel Junction Block Assembly Fuse Identification Legend

FUSE
5A ECU-ACC
5A ECU-B NO. 1
5A ECU-DCC NO. 1
5A ECU-IG1 NO. 1
5A ECU-IG2 NO. 3
5A EPS-IG1
5A METER-IG2
5A PANEL
7.5A AM2
7.5A BKUP LP
7.5A DCM
7.5A DOME
7.5A DOOR BACK
7.5A ECU-B NO. 3
7.5A ECU-DCC NO. 2
7.5A ECU-IG1 NO. 2
7.5A ECU-IG1 NO. 3
7.5A ECU-IG NO. 4
7.5A OBD
7.5A STOP
10A A/BAG-IG2
10A ECU-B NO. 2
10A HAZ
10A METER
10A STRG LOCK
10A TAIL
15A P/OUTLET NO. 1
15A WIPER RR
20A D/L
20A DOOR R/L
20A DOOR R/R
20A TI&TE
20A WASHER
20A P/SEAT
30A P/SEAT F/L
30A POWER
30A S/ROOF