LEMON Manuals: Even more car manuals for everyone
Home >> Lexus >> 2019 >> UX 200 Base >> Repair and Diagnosis (Single Page) >> Body & Frame >> Windows >> Power Window Control System (Diagnostics - Introduction) >> Power Window Control System >> System Diagram [10/2018 - ] >> System Diagram [10/2018 - ]

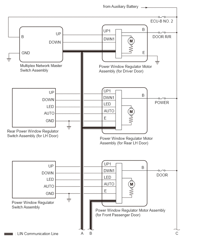
System Diagram [10/2018 - ]

  1. POWER WINDOW CONTROL SYSTEM 
    Fig 1: Power Window Control System Diagram (1 Of 3)
    GTY829718Courtesy of © TOYOTA, LICENSE AGREEMENT TMS1002
    Fig 2: Power Window Control System Diagram (2 Of 3)
    GTY811510Courtesy of © TOYOTA, LICENSE AGREEMENT TMS1002
    Fig 3: Power Window Control System Diagram (3 Of 3)
    GTY783592Courtesy of © TOYOTA, LICENSE AGREEMENT TMS1002
  2. COMMUNICATION TABLE

    Transmitting ECU Receiving ECU Signal Communication Method
    Multiplex Network Master Switch Assembly Power Window Regulator Motor Assembly (for Driver Door) Power window auto up and down signal LIN
    • Power Window Regulator Motor Assembly (for Front Passenger Door)
    • Power Window Regulator Motor Assembly (for Rear LH Door)
    • Power Window Regulator Motor Assembly (for Rear RH Door)
    Power window remote up and down signal LIN
    Main Body ECU (Multiplex Network Body ECU)
    • Power Window Regulator Motor Assembly (for Driver Door)
    • Power Window Regulator Motor Assembly (for Front Passenger Door)
    • Power Window Regulator Motor Assembly (for Rear LH Door)
    • Power Window Regulator Motor Assembly (for Rear RH Door)
    Power window operation permission signal LIN
    Certification ECU (Smart Key ECU Assembly) Main Body ECU (Multiplex Network Body ECU) Wireless power window operation signal CAN
    Main Body ECU (Multiplex Network Body ECU) Combination Meter Assembly Window open warning request signal CAN