LEMON Manuals: Even more car manuals for everyone
Home >> Lexus >> 2019 >> UX 200 Base >> Repair and Diagnosis (Single Page) >> Body & Frame >> Door Locks >> Smart Access System W/ Push-Button Start (Entry Function) (Diagnostic Codes & Symptom Tests) (Except Hybrid) >> SMART ACCESS SYSTEM WITH PUSH-BUTTON START (for Entry Function, Gasoline Model) >> All Door Entry Lock/Unlock Functions and Wireless Functions do not Operate [08/2021 - 07/2022] >> Procedure

All Door Entry Lock/Unlock Functions and Wireless Functions do not Operate [08/2021 - 07/2022]: Procedure

  1. INSPECT AUXILIARY BATTERY 
    1. Measure the auxiliary battery voltage with the engine switch off.

      Standard Voltage

      11 to 14 V

      HINT: 

      It may be possible to tell whether the auxiliary battery is discharged by operating the horn.

      If the voltage is below 11 V, recharge or replace the auxiliary battery before proceeding to the next step.

      Result

      Proceed to
      NEXT

    Result: 

    NEXT 

    See step  2

  2. CHECK FOR DTC 
    1. Open the driver door using the mechanical key built into the electrical key transmitter sub-assembly.
    2. Check for DTCs.

      Body Electrical > Smart Access > Trouble Codes 

      Result

      Result Proceed to
      DTCs are not output A
      DTCs are output B

    Result: 

    GO TO DIAGNOSTIC TROUBLE CODE CHART. Refer to  DIAGNOSTIC TROUBLE CODE CHART [10/2018 - 07/2022] 

    Result: 

    See step  3

  3. CHECK DOOR AJAR WARNING 
    1. When the doors are locked by operating the entry lock function with all doors closed, check that the door ajar warning operates.

      HINT: 

      Be sure to check the following before performing the procedure.

      • Engine switch is off.
      • All doors are closed.
      • The lock sensor is on or lock switch is pressed on the electrical key transmitter sub-assembly.
      • Electrical key transmitter sub-assembly is in the vehicle exterior detection area.
      • The customize setting Open Door Warning is ON.
      • The customize setting Wireless Lock Function with Doors Open is OFF.

      Result

      Result Proceed to
      The wireless buzzer does not sound A
      The wireless buzzer sounds B

    Result: 

    GO TO LIGHTING SYSTEM. Refer to  HOW TO PROCEED WITH TROUBLESHOOTING [10/2018 - 07/2022] 

    Result: 

    See step  4

  4. CHECK POWER DOOR LOCK CONTROL SYSTEM 
    1. When the door control switch on the multiplex network master switch assembly is operated, check that the doors unlock and lock according to the switch operation.

      Refer to OPERATION CHECK [10/2018 - 07/2022]

      Result

      Result Proceed to
      Power door lock function operates normally A
      Power door lock function does not operate normally B

    Result: 

    GO TO POWER DOOR LOCK CONTROL SYSTEM. Refer to  HOW TO PROCEED WITH TROUBLESHOOTING [10/2018 - 07/2022] 

    Result: 

    See step  5

  5. CHECK KEY DIAGNOSTIC MODE 
    1. Check the following antennas in key diagnostic mode.

      Body Electrical > Smart Access > Utility 

      Tester Display
      Communication Check(Key Diag Mode)
      1. Check the electrical key antenna (for driver side):

        When the electrical key transmitter sub-assembly is brought within 0.7 to 1 m (2.30 to 3.28 ft.) of the front door outside handle assembly LH, check that the wireless buzzer sounds.

        GTY835861Courtesy of © TOYOTA, LICENSE AGREEMENT TMS1002
        *a 0.7 to 1 m (2.30 to 3.28 ft.)

        HINT: 

        • Select either channel 1 or channel 2 and perform the key diagnostic mode inspection for each channel.
        • If the buzzer sounds with [CH1] displayed but not with [CH2], the electrical key transmitter sub-assembly cannot be detected by channel 2 due to a malfunction, such as wave interference.
      2. Check the electrical key antenna (for front passenger door):
        GTY821106Courtesy of © TOYOTA, LICENSE AGREEMENT TMS1002
        *a 0.7 to 1 m (2.30 to 3.28 ft.)

        When the electrical key transmitter sub-assembly is brought within 0.7 to 1 m (2.30 to 3.28 ft.) of the front door outside handle assembly RH, check that the wireless buzzer sounds.

        HINT: 

        • Select either channel 1 or channel 2 and perform the key diagnostic mode inspection for each channel.
        • If the buzzer sounds with [CH1] displayed but not with [CH2], the electrical key transmitter sub-assembly cannot be detected by channel 2 due to a malfunction, such as wave interference.
      3. Check the No. 1 indoor electrical key antenna assembly (front floor):
        GTY778214Courtesy of © TOYOTA, LICENSE AGREEMENT TMS1002
        *a Inspection Point

        When the electrical key transmitter sub-assembly is at either inspection point, check that the wireless buzzer sounds.

        HINT: 

        • Select either channel 1 or channel 2 and perform the key diagnostic mode inspection for each channel.
        • If the buzzer sounds with [CH1] displayed but not with [CH2], the electrical key transmitter sub-assembly cannot be detected by channel 2 due to a malfunction, such as wave interference.
      4. Check the No. 1 indoor electrical key antenna assembly (inside luggage compartment):
        GTY797424Courtesy of © TOYOTA, LICENSE AGREEMENT TMS1002
        *a Inspection Point

        When the electrical key transmitter sub-assembly is at either inspection point, check that the wireless buzzer sounds.

        HINT: 

        • Select either channel 1 or channel 2 and perform the key diagnostic mode inspection for each channel.
        • If the buzzer sounds with [CH1] displayed but not with [CH2], the electrical key transmitter sub-assembly cannot be detected by channel 2 due to a malfunction, such as wave interference.
      5. Check the electrical key antenna (outside luggage compartment):
        GTY789273Courtesy of © TOYOTA, LICENSE AGREEMENT TMS1002
        *a 0.7 to 1 m (2.30 to 3.28 ft.)

        When the electrical key transmitter sub-assembly is brought within 0.7 to 1 m (2.30 to 3.28 ft.) of the electrical key antenna (outside luggage compartment), check that the wireless buzzer sounds.

        HINT: 

        • Select either channel 1 or channel 2 and perform the key diagnostic mode inspection for each channel.
        • If the buzzer sounds with [CH1] displayed but not with [CH2], the electrical key transmitter sub-assembly cannot be detected by channel 2 due to a malfunction, such as wave interference.

        OK

        Wireless buzzer sounds.

      Result

      Result Proceed to
      Key diagnostic mode inspections fail for both channels A
      Key diagnostic mode inspections succeed for both channels B
      Key diagnostic mode inspection succeeds for only one of the channels C

    Result: 

    See step  18

    Result: 

    See step  28

    Result: 

    See step  6

  6. CHECK WAVE ENVIRONMENT 
    1. Bring the electrical key transmitter sub-assembly near the electrical key and TPMS receiver assembly and perform a wireless operation 2 or more times*.
      1. *: When the wireless function is operated, channel 1 and 2 are used alternately. If the first wireless operation is performed successfully and the second wireless operation fails, wave interference may be occurring for either channel.

      HINT: 

      • When the electrical key transmitter sub-assembly is brought near the electrical key and TPMS receiver assembly, the possibility of wave interference decreases, and it can be determined if wave interference is causing the problem symptom.
      • If the inspection result is that the problem only occurs in certain locations or at certain times of day, the possibility of wave interference is high. Also, added vehicle components may cause wave interference. If installed, remove them and perform the operation check.
      • There may be wave interference if the vehicle is near broadcasting antennas, large video displays, wireless garage door opener systems, wireless security cameras, home security systems, etc. In this case, move the vehicle to a different location and check if there is any improvement.
      • If a tool for checking radio waves, such as a signal strength meter, is available, move around the area while observing both the LF band (used by the vehicle antenna to form the detection area) and RF band (used by the electrical key transmitter sub-assembly for transmission) to check for locations where there is wave interference.

      Result

      Result Proceed to
      Wireless function does not operate normally A
      Wireless function operates normally B

    Result: 

    AFFECTED BY WAVE INTERFERENCE 

    Result: 

    See step  7

  7. CHECK TRANSMITTER BATTERY 
    1. Check the transmitter battery level of the electrical key transmitter sub-assembly that was checked first.
      1. Press and hold the lock switch of the electrical key transmitter sub-assembly for 5 seconds and check the number of times that the LED illuminates.

        HINT: 

        • The electrical key transmitter sub-assembly sends voltage information to the certification ECU (smart key ECU assembly) when it is being used. "Yes" is displayed for the Data List item "Key Low Battery" when this voltage information indicates 2.2 V or less.

          Refer to DATA LIST / ACTIVE TEST [10/2018 - 07/2022]

        • Even if the transmitter battery is depleted, it is still possible to start the engine by holding the electrical key transmitter sub-assembly near the engine switch, depressing the brake pedal and pressing the engine switch.

      Result

      Result Proceed to
      LED illuminates 3 times or more when switch is pressed and held A
      LED does not illuminate when switch is pressed and held B
      LED illuminates once or twice but not a third time C

    Result: 

    See step  17

    Result: 

    REPLACE TRANSMITTER BATTERY. Refer to  REMOVAL [10/2018 - ] 

    Result: 

    See step  8

  8. CHECK ELECTRICAL KEY TRANSMITTER SUB-ASSEMBLY 
    1. Check if there is another electrical key transmitter sub-assembly available that is already registered to the vehicle.

      Result

      Result Proceed to
      Another registered electrical key transmitter sub-assembly is not available A
      Another registered electrical key transmitter sub-assembly is available B

    Result: 

    See step  10

    Result: 

    See step  9

  9. ELECTRICAL KEY TRANSMITTER SUB-ASSEMBLY REGISTRATION (NEW ELECTRICAL KEY TRANSMITTER SUB-ASSEMBLY) 
    1. Register a new electrical key transmitter sub-assembly.

      Refer to REGISTRATION [10/2019 - 07/2022]

      Result

      Proceed to
      NEXT

    Result: 

    NEXT 

    See step  10

  10. CHECK ENTRY LOCK OPERATION 
    1. Using another registered electrical key transmitter sub-assembly, check that the function operates normally.

      Result

      Result Proceed to
      Entry function does not operate normally A
      Entry function operates normally B

    Result: 

    END (ELECTRICAL KEY TRANSMITTER SUB-ASSEMBLY WAS DEFECTIVE) 

    Result: 

    See step  11

  11. CHECK HARNESS AND CONNECTOR (CERTIFICATION ECU (SMART KEY ECU ASSEMBLY) - ELECTRICAL KEY AND TPMS RECEIVER ASSEMBLY AND BODY GROUND) 
    1. Disconnect the N61 certification ECU (smart key ECU assembly) connector.
    2. Disconnect the N116 electrical key and TPMS receiver assembly connector.
    3. Measure the resistance according to the value(s) in the table below.

      Standard Resistance

      Tester Connection Condition Specified Condition
      N61-18 (RCO) - N116-8 (+5) Always Below 1 Ω
      N61-19 (RDAM) - N116-2 (DATA) Always Below 1 Ω
      N61-20 (CSEL) - N116-6 (CSEL) Always Below 1 Ω
      N116-12 (GND) - Body ground Always Below 1 Ω
      N61-18 (RCO) or N116-8 (+5) - Other terminals and body ground Always 10 kΩ or higher
      N61-19 (RDAM) or N116-2 (DATA) - Other terminals and body ground Always 10 kΩ or higher
      N61-20 (CSEL) or N116-6 (CSEL) - Other terminals and body ground Always 10 kΩ or higher

      Result

      Proceed to
      OK
      NG

    Result: 

    NG 

    REPAIR OR REPLACE HARNESS OR CONNECTOR 

    Result: 

    OK 

    See step  12

  12. CHECK ENTRY LOCK OPERATION 
    1. Connect all connectors and check that the function operates normally.

      Refer to OPERATION CHECK [08/2021 - 07/2022]

      Result

      Result Proceed to
      Entry function does not operate normally A
      Entry function operates normally B

    Result: 

    END (CONNECTOR WAS NOT CONNECTED SECURELY) 

    Result: 

    See step  13

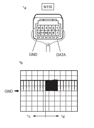
  13. CHECK ELECTRICAL KEY AND TPMS RECEIVER ASSEMBLY 
    1. Measure the resistance according to the value(s) in the table below.

      Standard Resistance

      Tester Connection Condition Specified Condition
      N116-12 (GND) - Body ground Always Below 1 Ω
    2. Using an oscilloscope, check the waveform.
      GTY1085896Courtesy of © TOYOTA, LICENSE AGREEMENT TMS1002
      *a Component with harness connected
      (Electrical Key and TPMS Receiver Assembly)
      *b Waveform 1
      *c Before lock or unlock switch of electrical key transmitter sub-assembly pressed
      *d After lock or unlock switch of electrical key transmitter sub-assembly pressed

      OK

      Tester Connection Condition Tool Setting Specified Condition
      N116-2 (DATA) - N116-12 (GND) Procedure:
      1. Engine switch off
      2. All doors locked
      3. Electrical key transmitter sub-assembly not inside vehicle
      4. Electrical key transmitter sub-assembly brought outside detection area but kept inside wireless function operational area
      5. Lock or unlock switch of electrical key transmitter sub-assembly not pressed → pressed
      5 V/DIV., 500 ms./DIV. Below 1 V → Pulse generation
      (See waveform 1)

      Result

      Proceed to
      OK
      NG

    Result: 

    NG 

    REPLACE ELECTRICAL KEY AND TPMS RECEIVER ASSEMBLY. Refer to  REMOVAL [10/2018 - 07/2022] 

    Result: 

    OK 

    See step  14

  14. CHECK CERTIFICATION ECU (SMART KEY ECU ASSEMBLY) 
    1. Measure the voltage according to the value(s) in the table below.

      Standard Voltage

      Tester Connection Condition Specified Condition
      N116-1 (IG) - N116-12 (GND) Engine switch on (IG) 10 to 16 V
      N116-6 (CSEL) - N116-12 (GND) Procedure:
      1. Engine switch off
      2. All doors closed
      Below 1 V → Pulse generation
      GTY1085761Courtesy of © TOYOTA, LICENSE AGREEMENT TMS1002
      *a Component with harness connected
      (Electrical Key and TPMS Receiver Assembly)
    2. Using an oscilloscope, check the waveform.

      OK

      Tester Connection Condition Tool Setting Specified Condition
      N116-8 (+5) - N116-12 (GND) Procedure:
      1. Engine switch off
      2. Electrical key transmitter sub-assembly brought outside detection area but kept inside wireless function operational area
      3. Lock or unlock switch of electrical key transmitter sub-assembly not pressed → pressed
      2 V/DIV., 500 ms./DIV. Pulse generation
      (See waveform 1)
      GTY1084739Courtesy of © TOYOTA, LICENSE AGREEMENT TMS1002
      *a Component with harness connected
      (Electrical Key and TPMS Receiver Assembly)
      *b Waveform 1
      *c Before lock or unlock switch of electrical key transmitter sub-assembly pressed
      *d After lock or unlock switch of electrical key transmitter sub-assembly pressed

      Result

      Proceed to
      OK
      NG

    Result: 

    NG 

    REPLACE CERTIFICATION ECU (SMART KEY ECU ASSEMBLY). Refer to  REMOVAL [10/2018 - 07/2022] 

    Result: 

    OK 

    See step  15

  15. REPLACE CERTIFICATION ECU (SMART KEY ECU ASSEMBLY) 
    1. Replace the certification ECU (smart key ECU assembly) with a new one and perform registration again.

      HINT: 

      Result

      Proceed to
      NEXT

    Result: 

    NEXT 

    See step  16

  16. CHECK WIRELESS DOOR LOCK CONTROL SYSTEM 
    1. Check that the wireless function operates normally.

      Refer to OPERATION CHECK [10/2018 - 07/2022]

      Result

      Result Proceed to
      Wireless door lock function operates normally A
      Wireless door lock function does not operate normally B

    Result: 

    END (CERTIFICATION ECU (SMART KEY ECU ASSEMBLY) WAS DEFECTIVE) 

    Result: 

    REPLACE MAIN BODY ECU (MULTIPLEX NETWORK BODY ECU). Refer to  REMOVAL [10/2018 - 07/2022] 

  17. INSPECT TRANSMITTER BATTERY 
    1. Inspect the transmitter battery.

      Refer to INSPECTION [10/2018 - 07/2022]

      NOTE:

      Do not wrap the lead wire around a terminal, wedge it between terminals, or solder it. The terminal may be deformed or damaged, and the transmitter battery will not be able to be installed correctly.

      Result

      Proceed to
      OK
      NG

    Result: 

    OK 

    REPLACE ELECTRICAL KEY TRANSMITTER SUB-ASSEMBLY 

    Result: 

    NG 

    REPLACE TRANSMITTER BATTERY. Refer to  REMOVAL [10/2018 - ] 

  18. PERFORM REGISTRATION 
    1. Perform registration of the B code.

      Refer to REGISTRATION [10/2019 - 07/2022]

      Result

      Proceed to
      NEXT

    Result: 

    NEXT 

    See step  19

  19. CHECK ENTRY LOCK OPERATION 
    1. After completing B code registration, check that the entry lock and unlock functions can be operated 2 times consecutively.

      Refer to OPERATION CHECK [08/2021 - 07/2022]

      Result

      Result Proceed to
      Entry function does not operate normally A
      Entry function operates normally B

    Result: 

    END (B CODE REGISTRATION FAILED) 

    Result: 

    See step  20

  20. READ VALUE USING TECHSTREAM (B CODE) 
    1. Connect the Techstream to the DLC3.
    2. Turn the engine switch on (IG).
    3. Turn the Techstream on.
    4. Enter the following menus: Body Electrical / Smart Access / Data List.
    5. Read the Data List according to the display on the Techstream.

      Body Electrical > Smart Access > Data List 

      Tester Display Measurement Item Range Normal Condition Diagnostic Note
      B Code B code registration status No Regd or Regd No Regd: B code not registered correctly
      Regd: B code registered correctly
      -

      Body Electrical > Smart Access > Data List 

      Tester Display
      B Code

      Result

      Result Proceed to
      "No Regd" is displayed on the Techstream A
      "Regd" is displayed on the Techstream B

    Result: 

    REPLACE MAIN BODY ECU (MULTIPLEX NETWORK BODY ECU). Refer to  REMOVAL [10/2018 - 07/2022] 

    Result: 

    See step  21

  21. READ VALUE USING TECHSTREAM (B CODE DIFFERENCE) 
    1. Connect the Techstream to the DLC3.
    2. Turn the engine switch on (IG).
    3. Turn the Techstream on.
    4. Enter the following menus: Body Electrical / Smart Access / Data List.
    5. Read the Data List according to the display on the Techstream.

      Body Electrical > Smart Access > Data List 

      Tester Display Measurement Item Range Normal Condition Diagnostic Note
      B Code Difference B code mismatch No or Yes No: Communication normal
      Yes: Communication malfunction
      -

      Body Electrical > Smart Access > Data List 

      Tester Display
      B Code Difference

      Result

      Result Proceed to
      "No" is displayed on the Techstream A
      "Yes" is displayed on the Techstream B

    Result: 

    REPLACE CERTIFICATION ECU (SMART KEY ECU ASSEMBLY). Refer to  REMOVAL [10/2018 - 07/2022] 

    Result: 

    See step  22

  22. CHECK CERTIFICATION ECU (SMART KEY ECU ASSEMBLY) 
    1. Measure the voltage while checking the Data List on the Techstream.
      1. Connect the Techstream to the DLC3.
      2. Turn the engine switch on (IG).
      3. Turn the Techstream on.
      4. Enter the following menus: Body Electrical / Power Source Control / Data List.
      5. Read the Data List according to the display on the Techstream.
        GTY808879Courtesy of © TOYOTA, LICENSE AGREEMENT TMS1002
        *a Component with harness connected
        (Certification ECU (Smart Key ECU Assembly))
        - -

        Body Electrical > Power Source Control > Data List 

        Tester Display Measurement Item Range Normal Condition Diagnostic Note
        Power Supply Condition Power supply state All OFF, ACC ON, IG ON or ST ON All OFF: Engine switch off
        ACC ON: Engine switch on (ACC)
        IG ON: Engine switch on (IG)
        ST ON: Sending engine start request signal
        -

        Body Electrical > Power Source Control > Data List 

        Tester Display
        Power Supply Condition

        Standard Voltage

        Tester Connection Switch Condition Specified Condition
        F44-17 (IG1D) - Body ground Engine switch off Below 1 V
        Engine switch on (ACC) Below 1 V
        Engine switch on (IG) 9 V or higher
        F44-16 (ACCD) - Body ground Engine switch off Below 1 V
        Engine switch on (ACC) 8.5 V or higher
        Engine switch on (IG) 8.5 V or higher

      Result

      Proceed to
      OK
      NG

    Result: 

    NG 

    REPLACE CERTIFICATION ECU (SMART KEY ECU ASSEMBLY). Refer to  REMOVAL [10/2018 - 07/2022] 

    Result: 

    OK 

    See step  23

  23. READ VALUE USING TECHSTREAM (ACC SW, IG SW) 
    1. Connect the Techstream to the DLC3.
    2. Turn the engine switch on (IG).
    3. Turn the Techstream on.
    4. Enter the following menus: Body Electrical / Main Body / Data List.
    5. Read the Data List according to the display on the Techstream.

      Body Electrical > Main Body > Data List 

      Tester Display Measurement Item Range Normal Condition Diagnostic Note
      ACC SW Engine switch status OFF or ON OFF: Engine switch off
      ON: Engine switch on (ACC)
      "ON" is also displayed when the engine switch is on (IG).
      IG SW Engine switch status OFF or ON OFF: Engine switch off
      ON: Engine switch on (IG)
      "OFF" is also displayed when the engine switch is on (ACC).

      Body Electrical > Main Body > Data List 

      Tester Display
      ACC SW
      IG SW

      HINT: 

      If the certification ECU (smart key ECU assembly) misjudges for any reason that the engine switch is on (IG) even though the engine switch is off, the entry lock and unlock functions will be disabled.

      Result

      Result Proceed to
      The main body ECU (multiplex network body ECU) judges properly that the power source is off when the engine switch is off A
      The main body ECU (multiplex network body ECU) does not judge properly that the power source is off when the engine switch is off B

    Result: 

    TROUBLESHOOT MAIN BODY ECU (MULTIPLEX NETWORK BODY ECU). Refer to  TERMINALS OF ECU [10/2018 - ] 

    Result: 

    See step  24

  24. CHECK HARNESS AND CONNECTOR (BODY GROUND, POWER SUPPLY) 
    1. Disconnect the certification ECU (smart key ECU assembly) connector.
      GTY792575Courtesy of © TOYOTA, LICENSE AGREEMENT TMS1002
      *a Front view of wire harness connector
      (to Certification ECU (Smart Key ECU Assembly))
    2. Measure the resistance according to the value(s) in the table below.

      Standard Resistance

      Tester Connection Condition Specified Condition
      F44-18 (E) - Body ground Always Below 1 Ω
    3. Measure the voltage according to the value(s) in the table below.

      Standard Voltage

      Tester Connection Switch Condition Specified Condition
      F44-15 (CUTB) - Body ground Engine switch off 11 to 14 V

      Result

      Proceed to
      OK
      NG

    Result: 

    NG 

    REPAIR OR REPLACE HARNESS OR CONNECTOR 

    Result: 

    OK 

    See step  25

  25. CHECK ENTRY LOCK OPERATION 
    1. Disconnect and reconnect the certification ECU (smart key ECU assembly) connectors.
    2. Check that the function operates normally.

      Refer to OPERATION CHECK [08/2021 - 07/2022]

      Result

      Result Proceed to
      Entry function does not operate normally A
      Entry function operates normally B

    Result: 

    END (CONNECTOR WAS NOT CONNECTED SECURELY) 

    Result: 

    See step  26

  26. REPLACE CERTIFICATION ECU (SMART KEY ECU ASSEMBLY) 
    1. Replace the certification ECU (smart key ECU assembly) with a new one and perform registration again.

      HINT: 

      Result

      Proceed to
      NEXT

    Result: 

    NEXT 

    See step  27

  27. CHECK WIRELESS DOOR LOCK CONTROL SYSTEM 
    1. Check that the function operates normally.

      Refer to OPERATION CHECK [10/2018 - 07/2022]

      Result

      Result Proceed to
      Wireless door lock function operates normally A
      Wireless door lock function does not operate normally B

    Result: 

    END (CERTIFICATION ECU (SMART KEY ECU ASSEMBLY) WAS DEFECTIVE) 

    Result: 

    REPLACE MAIN BODY ECU (MULTIPLEX NETWORK BODY ECU). Refer to  REMOVAL [10/2018 - 07/2022] 

  28. CHECK WAVE ENVIRONMENT 
    1. Bring the electrical key transmitter sub-assembly near the electrical key and TPMS receiver assembly and perform a wireless operation 2 or more times*.
      1. *: When the wireless function is operated, channel 1 and 2 are used alternately. If the first wireless operation is performed successfully and the second wireless operation fails, wave interference may be occurring for either channel.

      HINT: 

      • When the electrical key transmitter sub-assembly is brought near the electrical key and TPMS receiver assembly, the possibility of wave interference decreases, and it can be determined if wave interference is causing the problem symptom.
      • If the inspection result is that the problem only occurs in certain locations or at certain times of day, the possibility of wave interference is high. Also, added vehicle components may cause wave interference. If installed, remove them and perform the operation check.
      • There may be wave interference if the vehicle is near broadcasting antennas, large video displays, wireless garage door opener systems, wireless security cameras, home security systems, etc. In this case, move the vehicle to a different location and check if there is any improvement.
      • If a tool for checking radio waves, such as a signal strength meter, is available, move around the area while observing both the LF band (used by the vehicle antenna to form the detection area) and RF band (used by the electrical key transmitter sub-assembly for transmission) to check for locations where there is wave interference.

      Result

      Result Proceed to
      Wireless function does not operate normally A
      Wireless function operates normally 1 or more times. B

    Result: 

    AFFECTED BY WAVE INTERFERENCE 

    Result: 

    See step  29

  29. CHECK ELECTRICAL KEY TRANSMITTER SUB-ASSEMBLY 
    1. Check if there is another electrical key transmitter sub-assembly available that is already registered to the vehicle.

      Result

      Result Proceed to
      Another registered electrical key transmitter sub-assembly is not available A
      Another registered electrical key transmitter sub-assembly is available B

    Result: 

    See step  31

    Result: 

    See step  30

  30. ELECTRICAL KEY TRANSMITTER SUB-ASSEMBLY REGISTRATION (NEW ELECTRICAL KEY TRANSMITTER SUB-ASSEMBLY) 
    1. Register a new electrical key transmitter sub-assembly.

      Refer to REGISTRATION [10/2019 - 07/2022]

      Result

      Proceed to
      NEXT

    Result: 

    NEXT 

    See step  31

  31. CHECK WAVE ENVIRONMENT 
    1. Bring another registered electrical key transmitter sub-assembly near the electrical key and TPMS receiver assembly and perform a wireless operation 2 or more times*.
      1. *: When the wireless function is operated, channel 1 and 2 are used alternately. If the first wireless operation is performed successfully and the second wireless operation fails, wave interference may be occurring for either channel.

      HINT: 

      • If the inspection result is that the problem only occurs in certain locations or at certain times of day, the possibility of wave interference is high. Also, added vehicle components may cause wave interference. If installed, remove them and perform the operation check.
      • There may be wave interference if the vehicle is near broadcasting antennas, large video displays, wireless garage door opener systems, wireless security cameras, home security systems, etc. In this case, move the vehicle to a different location and check if there is any improvement.
      • If a tool for checking radio waves, such as a signal strength meter, is available, move around the area while observing both the LF band (used by the vehicle antenna to form the detection area) and RF band (used by the electrical key transmitter sub-assembly for transmission) to check for locations where there is wave interference.

      Result

      Result Proceed to
      Wireless function does not operate normally A
      Wireless function operates normally 1 or more times. B

    Result: 

    END (ELECTRICAL KEY TRANSMITTER SUB-ASSEMBLY WAS DEFECTIVE) 

    Result: 

    See step  32

  32. CHECK HARNESS AND CONNECTOR (CERTIFICATION ECU (SMART KEY ECU ASSEMBLY) - ELECTRICAL KEY AND TPMS RECEIVER ASSEMBLY) 
    1. Disconnect the N116 electrical key and TPMS receiver assembly connector.
    2. Disconnect the N61 certification ECU (smart key ECU assembly) connector.
    3. Measure the resistance according to the value(s) in the table below.

      Standard Resistance

      Tester Connection Condition Specified Condition
      N116-6 (CSEL) - N61-20 (CSEL) Always Below 1 Ω
      N116-6 (CSEL) or N61-20 (CSEL) - Other terminals and body ground Always 10 kΩ or higher

      Result

      Proceed to
      OK
      NG

    Result: 

    NG 

    REPAIR OR REPLACE HARNESS OR CONNECTOR 

    Result: 

    OK 

    See step  33

  33. CHECK ENTRY LOCK OPERATION 
    1. Connect all connectors and check that the function operates normally.

      Refer to OPERATION CHECK [08/2021 - 07/2022]

      Result

      Result Proceed to
      Entry function does not operate normally A
      Entry function operates normally B

    Result: 

    END (CONNECTOR WAS NOT CONNECTED SECURELY) 

    Result: 

    See step  34

  34. CHECK CERTIFICATION ECU (SMART KEY ECU ASSEMBLY) 
    1. Measure the voltage according to the value(s) in the table below.

      Standard Voltage

      Tester Connection Condition Specified Condition
      N116-6 (CSEL) - N116-12 (GND) Procedure:
      1. Engine switch off
      2. All doors closed
      Below 1 V → Pulse generation
      GTY1084781Courtesy of © TOYOTA, LICENSE AGREEMENT TMS1002
      *a Component with harness connected
      (Electrical Key and TPMS Receiver Assembly)

      Result

      Proceed to
      OK
      NG

    Result: 

    NG 

    REPLACE CERTIFICATION ECU (SMART KEY ECU ASSEMBLY). Refer to  REMOVAL [10/2018 - 07/2022] 

    Result: 

    OK 

    See step  35

  35. CHECK ELECTRICAL KEY AND TPMS RECEIVER ASSEMBLY 
    1. Enter key diagnostic mode and select the channel for which the wireless buzzer did not sound.
    2. Using an oscilloscope, check the waveform.

      OK

      Tester Connection Condition Tool Setting Specified Condition
      N116-2 (DATA) - N116-12 (GND) Procedure:
      1. Engine switch off
      2. All doors locked
      3. Electrical key transmitter sub-assembly not inside vehicle
      4. Electrical key transmitter sub-assembly brought outside detection area but kept inside wireless function operational area
      5. Lock or unlock switch of electrical key transmitter sub-assembly not pressed → pressed
      5 V/DIV., 500 ms./DIV. Pulse generation
      (See waveform 1)

      HINT: 

      Inspection should be performed while the electrical key antenna check in key diagnostic mode is being performed on the failed channel (the channel in which the buzzer did not sound).

      GTY1086102Courtesy of © TOYOTA, LICENSE AGREEMENT TMS1002
      *a Component with harness connected
      (Electrical Key and TPMS Receiver Assembly)
      *b Waveform 1
      *c Before lock or unlock switch of electrical key transmitter sub-assembly pressed
      *d After lock or unlock switch of electrical key transmitter sub-assembly pressed

      Result

      Proceed to
      OK
      NG

    Result: 

    NG 

    REPLACE ELECTRICAL KEY AND TPMS RECEIVER ASSEMBLY. Refer to  REMOVAL [10/2018 - 07/2022] 

    Result: 

    OK 

    See step  36

  36. REPLACE CERTIFICATION ECU (SMART KEY ECU ASSEMBLY) 
    1. Replace the certification ECU (smart key ECU assembly) with a new one and perform registration again.

      HINT: 

      Result

      Proceed to
      NEXT

    Result: 

    NEXT 

    See step  37

  37. CHECK WIRELESS DOOR LOCK CONTROL SYSTEM 
    1. Check that the function operates normally.

      Refer to OPERATION CHECK [10/2018 - 07/2022]

      Result

      Result Proceed to
      Wireless door lock function operates normally A
      Wireless door lock function does not operate normally B

    Result: 

    END (CERTIFICATION ECU (SMART KEY ECU ASSEMBLY) WAS DEFECTIVE) 

    Result: 

    REPLACE MAIN BODY ECU (MULTIPLEX NETWORK BODY ECU). Refer to  REMOVAL [10/2018 - 07/2022]