LEMON Manuals: Even more car manuals for everyone
Home >> Lexus >> 2019 >> UX 200 Base >> Repair and Diagnosis (Single Page) >> Accessories & Equipment >> Anti-Theft Systems >> Smart Access System W/ Push-Button Start (Start Function) (Symptom Tests) (2 Of 2) (Except Hybrid) >> SMART ACCESS SYSTEM WITH PUSH-BUTTON START (for Start Function, Gasoline Model) >> Unable to Unlock Steering Wheel (Engine cannot Start) [10/2018 - 07/2022] >> Procedure

Unable to Unlock Steering Wheel (Engine cannot Start) [10/2018 - 07/2022]: Procedure

  1. CHECK ENGINE SWITCH (SWITCH CONDITION) 
    1. Check the power source mode change.
      1. When the key is inside the vehicle and the shift lever is in P, check that pressing the engine switch with the brake pedal released causes the power source mode to change as follows:

        OK

        Off → On (ACC) → On (IG) → Off

      Result

      Proceed to
      OK
      NG

    Result: 

    NG 

    GO TO OTHER PROBLEM. Refer to  PROBLEM SYMPTOMS TABLE [10/2018 - 08/2021]  , or refer to  PROBLEM SYMPTOMS TABLE [08/2021 - 07/2022] 

    Result: 

    OK 

    See step  2

  2. CHECK INDICATOR 
    1. With the engine switch ON (IG), check that Steering Lock active is displayed on the multi-information display in the combination meter assembly.

      Result

      Result Proceed to
      Steering Lock active is displayed A
      Steering Lock active is not displayed B

    Result: 

    See step  4

    Result: 

    See step  3

  3. CHECK STEERING UNLOCK 
    1. Turn the steering wheel left and right, and then press the engine switch.
    2. Check that the steering is unlocked.

      Result

      Result Proceed to
      The steering is unlocked A
      The steering is not unlocked B

    Result: 

    USE SIMULATION METHOD TO CHECK. Refer to  HOW TO PROCEED WITH TROUBLESHOOTING [10/2018 - ] 

    Result: 

    See step  4

  4. CHECK FOR DTC 
    1. Using the Techstream, check if the certification ECU (smart key ECU assembly) DTC is output.

      Body Electrical > Smart Access > Trouble Codes 

      Result

      Result Proceed to
      DTCs are not output A
      DTCs are output B

    Result: 

    GO TO DIAGNOSTIC PROCEDURE INDICATED BY OUTPUT DTC 

    Result: 

    See step  5

  5. READ VALUE USING TECHSTREAM (UNLOCK REQUEST RECEIVE) 
    1. Use the Data List to check if the steering lock request is functioning properly.

      Body Electrical > Smart Access > Data List 

      Tester Display Measurement Item Range Normal Condition Diagnostic Note
      Unlock Request Receive Status of steering unlock command from certification ECU (smart key ECU assembly) OK or NG OK: Certification ECU (smart key ECU assembly) sends steering unlock command (within 10 seconds of engine switch turned on (ACC) or on (IG), or of engine start operation performed)
      NG: Certification ECU (smart key ECU assembly) does not send steering unlock command (engine switch not turned on (ACC) or on (IG), and engine start operation not performed)
      • The engine cannot be started when an unlock request signal cannot be received.
      • If OK is not displayed even though the steering unlock conditions are met, the certification ECU (smart key ECU assembly) may be malfunctioning.

      Body Electrical > Smart Access > Data List 

      Tester Display
      Unlock Request Receive

      OK

      Within 10 seconds of turning the engine switch on (ACC) or on (IG) or starting the engine, the Data List item changes to "OK".

      Result

      Proceed to
      OK
      NG

    Result: 

    NG 

    See step  14

    Result: 

    OK 

    See step  6

  6. READ VALUE USING TECHSTREAM (S CODE CHECK) 
    1. Read the Data List according to the display on the Techstream.

      Body Electrical > Smart Access > Data List 

      Tester Display Measurement Item Range Normal Condition Diagnostic Note
      S Code Check S code verification result OK or NG OK: Verification result normal
      NG: Verification result abnormal
      When NG is displayed:
      • The ID code for the certification ECU (smart key ECU assembly) or ID code box (immobiliser code ECU) is not registered, or the certification ECU (smart key ECU assembly) or ID code box (immobiliser code ECU) is malfunctioning.
      • The steering cannot be locked.
      • The steering cannot be unlocked (the engine cannot be started).

      Body Electrical > Smart Access > Data List 

      Tester Display
      S Code Check

      OK

      OK is displayed on the Techstream.

      HINT: 

      Reasons for verification failure:

      • The certification ECU (smart key ECU assembly) or ID code box (immobiliser code ECU) is malfunctioning.
      • There is a problem with the communication between ECUs.
      • An ECU was replaced, but not registered.
      • An ECU was replaced with an ECU which has already been registered to another vehicle.

      Result

      Proceed to
      OK
      NG

    Result: 

    NG 

    See step  13

    Result: 

    OK 

    See step  7

  7. READ VALUE USING TECHSTREAM (L CODE CHECK) 
    1. Use the Data List to check if L code certification is functioning properly.

      Body Electrical > Smart Access > Data List 

      Tester Display Measurement Item Range Normal Condition Diagnostic Note
      L Code Check Verification result between certification ECU (smart key ECU assembly) and steering lock ECU (steering lock actuator or upper bracket assembly) OK or NG OK: Verification result normal
      NG: Verification result abnormal
      When NG is displayed:
      • The ID code for the certification ECU (smart key ECU assembly) or steering lock ECU (steering lock actuator or upper bracket assembly) is not registered, or the certification ECU (smart key ECU assembly) or steering lock ECU (steering lock actuator or upper bracket assembly) is malfunctioning.
      • The steering cannot be locked.
      • The steering cannot be unlocked (the engine cannot be started).

      Body Electrical > Smart Access > Data List 

      Tester Display
      L Code Check

      OK

      OK is displayed on the Techstream.

      HINT: 

      Reasons for verification failure:

      • The steering lock ECU (steering lock actuator or upper bracket assembly) or certification ECU (smart key ECU assembly) is malfunctioning.
      • There is a problem with the communication between ECUs.
      • An ECU was replaced, but not registered.
      • An ECU was replaced with an ECU which has already been registered to another vehicle.

      Result

      Proceed to
      OK
      NG

    Result: 

    NG 

    See step  12

    Result: 

    OK 

    See step  8

  8. CHECK HARNESS AND CONNECTOR (POWER SOURCE AND GROUND) 
    1. Disconnect the steering lock ECU (steering lock actuator or upper bracket assembly) connector.
    2. Measure the resistance according to the value(s) in the table below.
      GTY828822Courtesy of © TOYOTA, LICENSE AGREEMENT TMS1002
      *a Component with harness connected
      (Steering Lock ECU (Steering Lock Actuator or Upper Bracket Assembly))

      Standard Resistance

      Tester Connection Condition Specified Condition
      F45-1 (GND) - Body ground Always Below 1 Ω
      NOTE:

      If the result is not as specified, check for looseness in the ground cable connection.

    3. Measure the voltage according to the value(s) in the table below.

      Standard Voltage

      Tester Connection Condition Specified Condition
      F45-7 (B) - Body ground Always 11 to 14 V

      Result

      Proceed to
      OK
      NG

    Result: 

    NG 

    REPAIR OR REPLACE HARNESS OR CONNECTOR 

    Result: 

    OK 

    See step  9

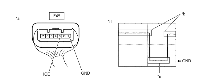
  9. CHECK STEERING LOCK ECU (STEERING LOCK ACTUATOR OR UPPER BRACKET ASSEMBLY) 
    1. Connect the steering lock ECU (steering lock actuator or upper bracket assembly) connector.
    2. Move the shift lever to P and turn the engine switch off.
    3. Check the signal waveform according to the condition(s) in the table below.
      GTY816066Courtesy of © TOYOTA, LICENSE AGREEMENT TMS1002
      *a Component with harness connected
      (Steering Lock ECU (Steering Lock Actuator or Upper Bracket Assembly))
      *b Steering lock motor not operating
      *c Steering lock motor operating *d Waveform

      OK

      Tester Connection Condition Tool Setting Specified Condition
      F45-3 (IGE) - F45-1 (GND) 2 V/DIV., 200 ms./DIV. Steering lock motor not operating → Operating → Not operating Pulse generation
      (See waveform)

      HINT: 

      • When taking measurements when the lock motor is stopped, it is not necessary to perform any operations.
      • In order to take measurements when the lock motor is operating, perform either of the following operations:
        • To unlock the steering, carry the electrical key transmitter sub-assembly and turn the engine switch on (ACC) or on (IG).
        • To lock the steering, turn the engine switch off with the shift lever in P, and then open a door.

      Result

      Result Proceed to
      OK (for Power Tilt and Power Telescopic Steering Column) A
      OK (for Manual Tilt and Manual Telescopic Steering Column) B
      NG C

    Result: 

    REPLACE STEERING LOCK ECU (STEERING LOCK ACTUATOR OR UPPER BRACKET ASSEMBLY). Refer to  DISASSEMBLY [10/2018 - 07/2022] 

    Result: 

    REPLACE STEERING LOCK ECU (STEERING LOCK ACTUATOR OR UPPER BRACKET ASSEMBLY). Refer to  DISASSEMBLY [10/2018 - 07/2022] 

    Result: 

    See step  10

  10. CHECK HARNESS AND CONNECTOR (STEERING LOCK ECU (STEERING LOCK ACTUATOR OR UPPER BRACKET ASSEMBLY) - CERTIFICATION ECU (SMART KEY ECU ASSEMBLY)) 
    1. Disconnect the F45 steering lock ECU (steering lock actuator or upper bracket assembly) connector.
    2. Disconnect the F44 certification ECU (smart key ECU assembly) connector.
    3. Measure the resistance according to the value(s) in the table below.

      Standard Resistance

      Tester Connection Condition Specified Condition
      F45-3 (IGE) - F44-25 (SLR+) Always Below 1 Ω
      F45-3 (IGE) or F44-25 (SLR+) - Other terminals and body ground Always 10 kΩ or higher

      Result

      Proceed to
      OK
      NG

    Result: 

    NG 

    REPAIR OR REPLACE HARNESS OR CONNECTOR 

    Result: 

    OK 

    See step  11

  11. CHECK STEERING LOCK ECU (STEERING LOCK ACTUATOR OR UPPER BRACKET ASSEMBLY) 
    1. Connect the F45 steering lock ECU (steering lock actuator or upper bracket assembly) connector.
    2. Connect the F44 certification ECU (smart key ECU assembly) connector.
    3. Measure the voltage according to the value(s) in the table below.
      GTY782208Courtesy of © TOYOTA, LICENSE AGREEMENT TMS1002
      *a Component with harness connected
      (Steering Lock ECU (Steering Lock Actuator or Upper Bracket Assembly))

      Standard Voltage

      Tester Connection Condition Specified Condition
      F45-3 (IGE) - Body ground Always 11 to 14 V

      Result

      Result Proceed to
      OK A
      NG (for Power Tilt and Power Telescopic Steering Column) B
      NG (for Manual Tilt and Manual Telescopic Steering Column) C

    Result: 

    REPLACE CERTIFICATION ECU (SMART KEY ECU ASSEMBLY). Refer to  REMOVAL [10/2018 - 07/2022] 

    Result: 

    REPLACE STEERING LOCK ECU (STEERING LOCK ACTUATOR OR UPPER BRACKET ASSEMBLY). Refer to  DISASSEMBLY [10/2018 - 07/2022] 

    Result: 

    REPLACE STEERING LOCK ECU (STEERING LOCK ACTUATOR OR UPPER BRACKET ASSEMBLY). Refer to  DISASSEMBLY [10/2018 - 07/2022] 

  12. CHECK STEERING LOCK ECU (STEERING LOCK ACTUATOR OR UPPER BRACKET ASSEMBLY) 
    1. Replace the steering lock ECU (steering lock actuator or upper bracket assembly) with a new one and perform registration.
      1. for Manual Tilt and ManualTelescopic Steering Column: Refer to DISASSEMBLY [10/2018 - 07/2022]
      2. for Power Tilt and Power TelescopicSteering Column: Refer to DISASSEMBLY [10/2018 - 07/2022]

      HINT: 

      Refer to Registration.

      Refer to REGISTRATION [10/2018 - 10/2019] , or refer to REGISTRATION [10/2019 - 07/2022]

    2. Read the Data List according to the display on the Techstream.

      Body Electrical > Smart Access > Data List 

      Tester Display Measurement Item Range Normal Condition Diagnostic Note
      L Code Check Verification result between certification ECU (smart key ECU assembly) and steering lock ECU (steering lock actuator or upper bracket assembly) OK or NG OK: Verification result normal
      NG: Verification result abnormal
      When NG is displayed:
      • The ID code for the certification ECU (smart key ECU assembly) or steering lock ECU (steering lock actuator or upper bracket assembly) is not registered, or the certification ECU (smart key ECU assembly) or steering lock ECU (steering lock actuator or upper bracket assembly) is malfunctioning.
      • The steering cannot be locked.
      • The steering cannot be unlocked (the engine cannot be started).

      Body Electrical > Smart Access > Data List 

      Tester Display
      L Code Check

      OK

      OK is displayed on the Techstream.

      Result

      Proceed to
      OK
      NG

    Result: 

    OK 

    END (STEERING LOCK ECU (STEERING LOCK ACTUATOR OR UPPER BRACKET ASSEMBLY) WAS DEFECTIVE) 

    Result: 

    NG 

    REPLACE ID CODE BOX (IMMOBILISER CODE ECU). Refer to  REMOVAL [10/2018 - 07/2022] 

  13. CHECK CERTIFICATION ECU (SMART KEY ECU ASSEMBLY) 
    1. Replace the certification ECU (smart key ECU assembly) with a new one and perform registration.

      HINT: 

      Refer to Registration.

      Refer to REGISTRATION [10/2018 - 10/2019] , or refer to REGISTRATION [10/2019 - 07/2022]

    2. Read the Data List according to the display on the Techstream.

      Body Electrical > Smart Access > Data List 

      Tester Display Measurement Item Range Normal Condition Diagnostic Note
      S Code Check S code verification result OK or NG OK: Verification result normal
      NG: Verification result abnormal
      When NG is displayed:
      • The ID code for the certification ECU (smart key ECU assembly) or ID code box (immobiliser code ECU) is not registered, or the certification ECU (smart key ECU assembly) or ID code box (immobiliser code ECU) is malfunctioning.
      • The steering cannot be locked.
      • The steering cannot be unlocked (the engine cannot be started).

      Body Electrical > Smart Access > Data List 

      Tester Display
      S Code Check

      OK

      OK is displayed on the Techstream.

      Result

      Proceed to
      OK
      NG

    Result: 

    OK 

    END (CERTIFICATION ECU (SMART KEY ECU ASSEMBLY) WAS DEFECTIVE) 

    Result: 

    NG 

    REPLACE ID CODE BOX (IMMOBILISER CODE ECU). Refer to  REMOVAL [10/2018 - 07/2022] 

  14. CHECK STEERING LOCK ECU (STEERING LOCK ACTUATOR OR UPPER BRACKET ASSEMBLY) 
    1. Measure the voltage according to the value(s) in the table below.
      GTY782209Courtesy of © TOYOTA, LICENSE AGREEMENT TMS1002
      *a Component with harness connected
      (Steering Lock ECU (Steering Lock Actuator or Upper Bracket Assembly))

      Standard Voltage

      Tester Connection Condition Specified Condition
      F45-4 (SLP1) - Body ground Always 11 to 14 V

      Result

      Proceed to
      OK
      NG

    Result: 

    NG 

    See step  17

    Result: 

    OK 

    See step  15

  15. READ VALUE USING TECHSTREAM (STEERING UNLOCK) 
    1. Check that the steering is locked.
    2. Read the Data List according to the display on the Techstream.

      Body Electrical > Smart Access > Data List 

      Tester Display Measurement Item Range Normal Condition Diagnostic Note
      Steering Unlock Steering lock ECU (steering lock actuator or upper bracket assembly) unlock confirmation status Unset or Set Unset: Unlock not confirmed
      Set: Unlock confirmed
      When Unset is displayed, the steering is not unlocked (the engine cannot be started).

      Body Electrical > Smart Access > Data List 

      Tester Display
      Steering Unlock

      OK

      Set is displayed on the Techstream.

      Result

      Result Proceed to
      OK A
      NG (for Power Tilt and Power Telescopic Steering Column) B
      NG (for Manual Tilt and Manual Telescopic Steering Column) C

    Result: 

    REPLACE STEERING LOCK ECU (STEERING LOCK ACTUATOR OR UPPER BRACKET ASSEMBLY). Refer to  DISASSEMBLY [10/2018 - 07/2022] 

    Result: 

    REPLACE STEERING LOCK ECU (STEERING LOCK ACTUATOR OR UPPER BRACKET ASSEMBLY). Refer to  DISASSEMBLY [10/2018 - 07/2022] 

    Result: 

    See step  16

  16. READ VALUE USING TECHSTREAM (UNLOCK REQUEST RECEIVE) 
    1. Replace the certification ECU (smart key ECU assembly) with a new one and perform registration.

      HINT: 

      Refer to Registration.

      Refer to REGISTRATION [10/2018 - 10/2019] , or refer to REGISTRATION [10/2019 - 07/2022]

    2. Turn the engine switch on (IG).
    3. Read the Data List according to the display on the Techstream.

      Body Electrical > Smart Access > Data List 

      Tester Display Measurement Item Range Normal Condition Diagnostic Note
      Unlock Request Receive Status of steering unlock command from certification ECU (smart key ECU assembly) OK or NG OK: Certification ECU (smart key ECU assembly) sends steering unlock command (within 10 seconds of engine switch turned on (ACC) or on (IG), or of engine start operation performed)
      NG: Certification ECU (smart key ECU assembly) does not send steering unlock command (engine switch not turned on (ACC) or on (IG), and engine start operation not performed)
      • The engine cannot be started when an unlock request signal cannot be received.
      • If OK is not displayed even though the steering unlock conditions are met, the certification ECU (smart key ECU assembly) may be malfunctioning.

      Body Electrical > Smart Access > Data List 

      Tester Display
      Unlock Request Receive

      OK

      Within 10 seconds after the engine switch is turned on (ACC) or on (IG) or the engine is started, the Data List item changes to "OK".

      Result

      Proceed to
      OK
      NG

    Result: 

    OK 

    END (CERTIFICATION ECU (SMART KEY ECU ASSEMBLY) WAS DEFECTIVE) 

    Result: 

    NG 

    REPLACE ID CODE BOX (IMMOBILISER CODE ECU). Refer to  REMOVAL [10/2018 - 07/2022] 

  17. CHECK HARNESS AND CONNECTOR (STEERING LOCK ECU (STEERING LOCK ACTUATOR OR UPPER BRACKET ASSEMBLY) - CERTIFICATION ECU (SMART KEY ECU ASSEMBLY)) 
    1. Disconnect the F45 steering lock ECU (steering lock actuator or upper bracket assembly) connector.
    2. Disconnect the F44 certification ECU (smart key ECU assembly) connector.
    3. Measure the resistance according to the value(s) in the table below.

      Standard Resistance

      Tester Connection Condition Specified Condition
      F45-4 (SLP1) - F44-14 (SLP) Always Below 1 Ω
      F45-4 (SLP1) or F44-14 (SLP) - Other terminals and body ground Always 10 kΩ or higher

      Result

      Proceed to
      OK
      NG

    Result: 

    NG 

    REPAIR OR REPLACE HARNESS OR CONNECTOR 

    Result: 

    OK 

    See step  18

  18. READ VALUE USING TECHSTREAM (UNLOCK REQUEST RECEIVE) 
    1. Replace the steering lock ECU (steering lock actuator or upper bracket assembly) with a new one and perform registration.
      1. for Manual Tilt and Manual Telescopic Steering Column: Refer to DISASSEMBLY [10/2018 - 07/2022]
      2. for Power Tilt and Power Telescopic Steering Column: Refer to DISASSEMBLY [10/2018 - 07/2022]

      HINT: 

      Refer to Registration.

      Refer to REGISTRATION [10/2018 - 10/2019] , or refer to REGISTRATION [10/2019 - 07/2022]

    2. Turn the engine switch on (IG).
    3. Use the Data List to check if the steering lock request is functioning properly.

      Body Electrical > Smart Access > Data List 

      Tester Display Measurement Item Range Normal Condition Diagnostic Note
      Unlock Request Receive Status of steering unlock command from certification ECU (smart key ECU assembly) OK or NG OK: Certification ECU (smart key ECU assembly) sends steering unlock command (within 10 seconds of engine switch turned on (ACC) or on (IG), or of engine start operation performed)
      NG: Certification ECU (smart key ECU assembly) does not send steering unlock command (engine switch not turned on (ACC) or on (IG), and engine start operation not performed)
      • The engine cannot be started when an unlock request signal cannot be received.
      • If OK is not displayed even though the steering unlock conditions are met, the certification ECU (smart key ECU assembly) may be malfunctioning.

      Body Electrical > Smart Access > Data List 

      Tester Display
      Unlock Request Receive

      OK

      Within 10 seconds after the engine switch is turned on (ACC) or on (IG) or the engine is started, the Data List item changes to "OK".

      Result

      Proceed to
      OK
      NG

    Result: 

    OK 

    END (STEERING LOCK ECU (STEERING LOCK ACTUATOR OR UPPER BRACKET ASSEMBLY) WAS DEFECTIVE) 

    Result: 

    NG 

    REPLACE CERTIFICATION ECU (SMART KEY ECU ASSEMBLY). Refer to  REMOVAL [10/2018 - 07/2022]