LEMON Manuals: Even more car manuals for everyone
Home >> Lexus >> 2019 >> UX 200 Base >> Repair and Diagnosis (Single Page) >> Accessories & Equipment >> Anti-Theft Systems >> Smart Access System W/ Push-Button Start (Start Function) (Symptom Tests) (2 Of 2) (Except Hybrid) >> SMART ACCESS SYSTEM WITH PUSH-BUTTON START (for Start Function, Gasoline Model) >> Immobiliser System does not Operate Properly [10/2018 - 07/2022] >> Procedure

Immobiliser System does not Operate Properly [10/2018 - 07/2022]: Procedure

  1. CHECK FOR DTC 
    1. Check for DTCs.

      Body Electrical > Smart Access > Trouble Codes 

      Powertrain > Engine > Trouble Codes 

      Result

      Result Proceed to
      DTCs are not output A
      DTCs are output B

    Result: 

    GO TO DIAGNOSTIC TROUBLE CODE CHART. Refer to  DIAGNOSTIC TROUBLE CODE CHART [10/2018 - 08/2021]  , or refer to  DIAGNOSTIC TROUBLE CODE CHART [08/2021 - 07/2022] 

    Result: 

    See step  2

  2. READ VALUE USING TECHSTREAM (IMMOBILISER FUEL CUT STATUS) 
    1. Connect the Techstream to the DLC3.
    2. Turn the engine switch on (IG).
    3. Turn the Techstream on.
    4. Enter the following menus: Powertrain / Engine / Data List.
    5. Read the Data List according to the display on the Techstream.

      Powertrain > Engine > Data List 

      Tester Display Measurement Item Range Normal Condition Diagnostic Note
      Immobiliser Fuel Cut Status Status of immobiliser fuel cut OFF or ON OFF: Fuel cut off
      ON: Fuel cut oN
      -

      Powertrain > Engine > Data List 

      Tester Display
      Immobiliser Fuel Cut Status

      OK

      OFF is displayed after the engine is started.

      Result

      Proceed to
      OK
      NG

    Result: 

    OK 

    GO TO SFI SYSTEM. Refer to  HOW TO PROCEED WITH TROUBLESHOOTING [10/2018 - 07/2022] 

    Result: 

    NG 

    See step  3

  3. CHECK WHETHER ENGINE STARTS 
    1. Check that the engine starts 5 seconds after the engine switch turned on (IG).

      OK

      Engine starts normally.

      Result

      Proceed to
      OK
      NG

    Result: 

    OK 

    USE SIMULATION METHOD TO CHECK. Refer to  HOW TO PROCEED WITH TROUBLESHOOTING [10/2018 - ] 

    Result: 

    NG 

    See step  4

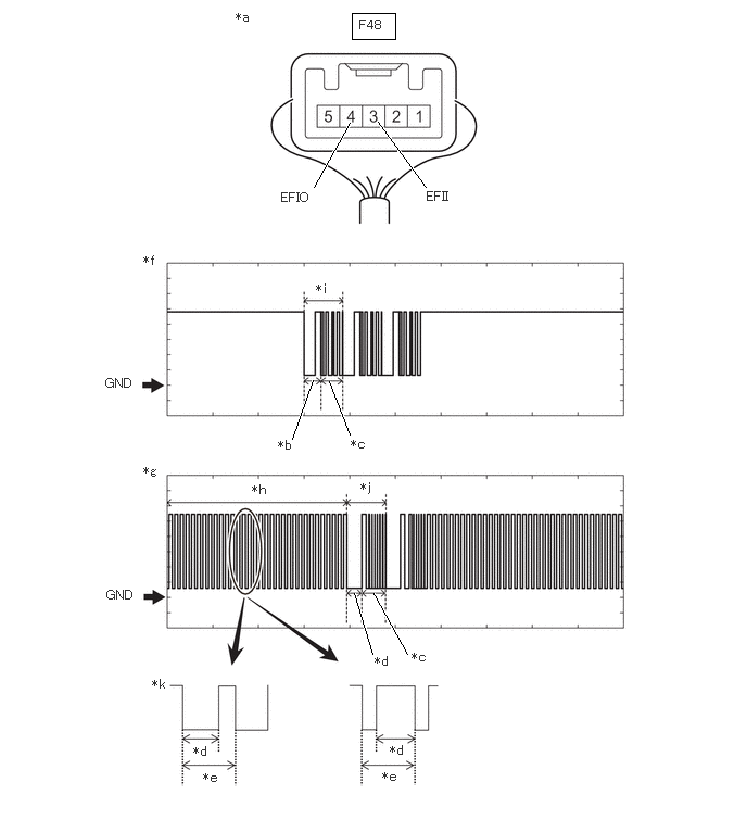
  4. CHECK ECM (TERMINAL EFIO AND EFII) 
    1. Connect the F48 ID code box (immobiliser code ECU) connector.
    2. Connect the A36 ECM connector.
    3. Using an oscilloscope, check the waveform.
      GTY810698Courtesy of © TOYOTA, LICENSE AGREEMENT TMS1002
      *a Component with harness connected
      (ID Code Box (Immobiliser Code ECU))
      *b Approximately 160 ms.
      *c Approximately 270 ms. *d Approximately 40 ms.
      *e Approximately 60 ms. *f Waveform (EFII)
      *g Waveform (EFIO) *h Waveform A
      *i Waveform B *j Waveform C
      *k Waveform A (detail) - -
      NOTE:

      The waveform shown in the illustration is an example for reference only. Noise, chattering, etc. are not shown.

      OK

      Tester Connection Condition Tool Setting Specified Condition
      F48-3 (EFII) - Body ground Within 3 seconds of engine start or within 3 seconds of engine switch turned on (IG) after auxiliary battery cable disconnected and reconnected 2 V/DIV., 500 ms./DIV. Pulse generation
      (See waveform (EFII))
      F48-4 (EFIO) - Body ground Within 3 seconds of engine start or within 3 seconds of engine switch turned on (IG) after auxiliary battery cable disconnected and reconnected 2 V/DIV., 500 ms./DIV. Pulse generation
      (See waveform (EFIO))

      Result

      Result Proceed to
      Normal waveform A
      Waveform A is not output, or has abnormal wavelength or shape B
      Waveform B is not output, or has abnormal wavelength or shape C
      Waveform C is not output, or has abnormal wavelength or shape D

    Result: 

    See step  7

    Result: 

    REPLACE ECM. Refer to  REMOVAL [10/2018 - 07/2022] 

    Result: 

    See step  8

    Result: 

    See step  5

  5. REGISTER ECU COMMUNICATION ID 
    1. Register the ECU communication ID.

      HINT: 

      Refer to Registration.

      Refer to REGISTRATION [10/2018 - 10/2019] , or refer to REGISTRATION [10/2019 - 07/2022]

      Result

      Proceed to
      NEXT

    Result: 

    NEXT 

    See step  6

  6. CHECK WHETHER ENGINE STARTS 
    1. Check that the engine starts.

      OK

      Engine starts normally.

      Result

      Proceed to
      OK
      NG

    Result: 

    OK 

    END (COMMUNICATION ID REGISTRATION WAS DEFECTIVE) 

    Result: 

    NG 

    See step  8

  7. CHECK HARNESS AND CONNECTOR (ID CODE BOX (IMMOBILISER CODE ECU) - ECM) 
    1. Disconnect the F48 ID code box (immobiliser code ECU) connector.
    2. Disconnect the A36 ECM connector.
    3. Measure the resistance according to the value(s) in the table below.

      Standard Resistance

      Tester Connection Condition Specified Condition
      F48-3 (EFII) - A36-25 (IMO) Always Below 1 Ω
      F48-4 (EFIO) - A36-26 (IMI) Always Below 1 Ω
      F48-3 (EFII) or A36-25 (IMO) - Body ground Always 10 kΩ or higher
      F48-4 (EFIO) or A36-26 (IMI) - Body ground Always 10 kΩ or higher

      Result

      Proceed to
      OK
      NG

    Result: 

    OK 

    See step  8

    Result: 

    NG 

    REPAIR OR REPLACE HARNESS OR CONNECTOR 

  8. REPLACE ID CODE BOX (IMMOBILISER CODE ECU) 
    1. Replace the ID code box (immobiliser code ECU) with a new one.

      HINT: 

      Refer to Registration.

      Refer to REGISTRATION [10/2018 - 10/2019] , or refer to REGISTRATION [10/2019 - 07/2022]

      Result

      Proceed to
      NEXT

    Result: 

    NEXT 

    See step  9

  9. REGISTER RECOGNITION CODE 
    1. Register the recognition codes to the ECUs.

      HINT: 

      Refer to Registration.

      Refer to REGISTRATION [10/2018 - 10/2019] , or refer to REGISTRATION [10/2019 - 07/2022]

      Result

      Proceed to
      NEXT

    Result: 

    NEXT 

    See step  10

  10. CHECK WHETHER ENGINE STARTS 
    1. Check that the engine starts.

      OK

      Engine starts normally.

      Result

      Proceed to
      OK
      NG

    Result: 

    OK 

    END (ID CODE BOX (IMMOBILISER CODE ECU) WAS DEFECTIVE) 

    Result: 

    NG 

    GO TO SFI SYSTEM. Refer to  HOW TO PROCEED WITH TROUBLESHOOTING [10/2018 - 07/2022]