LEMON Manuals: Even more car manuals for everyone
Home >> Lexus >> 2019 >> UX 200 Base >> Repair and Diagnosis (Single Page) >> Accessories & Equipment >> Anti-Theft Systems >> Smart Access System W/ Push-Button Start (Start Function) (Diagnostic Codes & Symptom Tests (1 Of 2)) (Except Hybrid) >> SMART ACCESS SYSTEM WITH PUSH-BUTTON START (for Start Function, Gasoline Model) >> DTC B27A5: Open in Front Floor Electrical Key Oscillator Circuit [10/2018 - 07/2022] >> Procedure

DTC B27A5: Open in Front Floor Electrical Key Oscillator Circuit [10/2018 - 07/2022]: Procedure

  1. CHECK CONNECTOR CONNECTION 
    1. Check that the connectors are properly connected to the certification ECU (smart key ECU assembly) and No. 1 indoor electrical key antenna assembly (front floor).

      OK

      Connectors are properly connected.

      Result

      Proceed to
      OK
      NG

    Result: 

    NG 

    CONNECT CONNECTORS PROPERLY 

    Result: 

    OK 

    See step  2

  2. CHECK HARNESS AND CONNECTOR (CERTIFICATION ECU (SMART KEY ECU ASSEMBLY) - NO. 1 INDOOR ELECTRICAL KEY ANTENNA ASSEMBLY (FRONT FLOOR)) 
    1. Disconnect the F44 certification ECU (smart key ECU assembly) connector.
    2. Disconnect the F46 No. 1 indoor electrical key antenna assembly (front floor) connector.
    3. Measure the resistance according to the value(s) in the table below.

      Standard Resistance

      Tester Connection Condition Specified Condition
      F44-8 (CLG5) - F46-1 (ANTE5) Always Below 1 Ω
      F44-9 (CG5B) - F46-3 (CLGB) Always Below 1 Ω
    4. Reconnect the F44 certification ECU (smart key ECU assembly) connector.

      Result

      Proceed to
      OK
      NG

    Result: 

    NG 

    REPAIR OR REPLACE HARNESS OR CONNECTOR 

    Result: 

    OK 

    See step  3

  3. CHECK CERTIFICATION ECU (SMART KEY ECU ASSEMBLY) (OUTPUT TO NO. 1 INDOOR ELECTRICAL KEY ANTENNA ASSEMBLY (FRONT FLOOR)) 
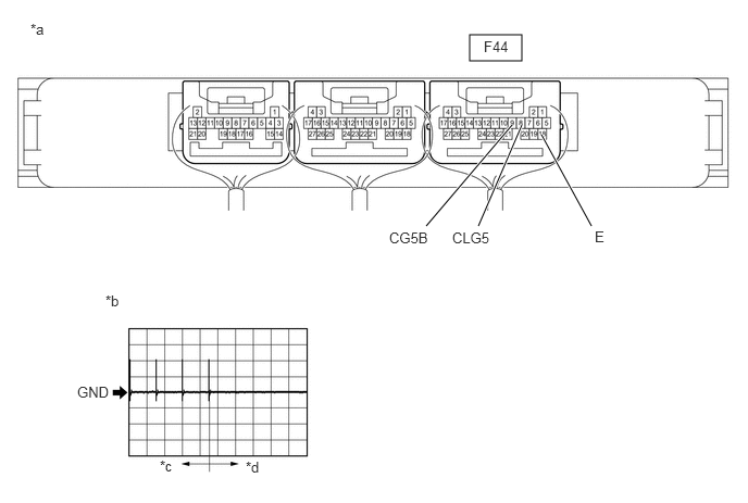
    GTY797467Courtesy of © TOYOTA, LICENSE AGREEMENT TMS1002
    *a Component with harness connected
    (Certification ECU (Smart Key ECU Assembly))
    *b Waveform
    *c For 30 seconds after any door closed *d After 30 seconds or more have elapsed since any door closed
    1. Using an oscilloscope, check the waveform.

      OK

      Tester Connection Condition Tool Setting Specified Condition
      F44-8 (CLG5) - F44-18 (E) Procedure:
      1. Engine switch off
      2. Electrical key transmitter sub-assembly not inside vehicle
      3. Within 30 seconds of closing any door
      2 V/DIV., 500 ms./DIV. Pulse generation
      (See waveform)
      F44-9 (CG5B) - F44-18 (E) Procedure:
      1. Engine switch off
      2. Electrical key transmitter sub-assembly not inside vehicle
      3. Within 30 seconds of closing any door
      2 V/DIV., 500 ms./DIV. Pulse generation
      (See waveform)

      Result

      Proceed to
      OK
      NG

    Result: 

    OK 

    REPLACE NO. 1 INDOOR ELECTRICAL KEY ANTENNA ASSEMBLY (FRONT FLOOR). Refer to  REMOVAL [10/2018 - ] 

    Result: 

    NG 

    REPLACE CERTIFICATION ECU (SMART KEY ECU ASSEMBLY). Refer to  REMOVAL [10/2018 - 07/2022]