LEMON Manuals: Even more car manuals for everyone
Home >> Lexus >> 2019 >> UX 200 Base >> Repair and Diagnosis (Single Page) >> Accessories & Equipment >> Anti-Theft Systems >> Smart Access System W/ Push-Button Start (Entry Function) (Diagnostic Codes & Symptom Tests) (Except Hybrid) >> SMART ACCESS SYSTEM WITH PUSH-BUTTON START (for Entry Function, Gasoline Model) >> Driver Side Door Entry Lock Function does not Operate [10/2018 - 07/2022] >> Procedure

Driver Side Door Entry Lock Function does not Operate [10/2018 - 07/2022]: Procedure

  1. CHECK POWER DOOR LOCK CONTROL SYSTEM 
    1. When the door control switch on the multiplex network master switch assembly is operated, check that the doors unlock and lock according to the switch operation.

      Refer to OPERATION CHECK [10/2018 - 07/2022]

      OK

      Door locks operate normally.

      Result

      Proceed to
      OK
      NG

    Result: 

    NG 

    GO TO POWER DOOR LOCK CONTROL SYSTEM. Refer to  HOW TO PROCEED WITH TROUBLESHOOTING [10/2018 - 07/2022] 

    Result: 

    OK 

    See step  2

  2. READ VALUE USING TECHSTREAM (D-DOOR TRIGGER SWITCH) 
    1. Turn the engine switch off.
    2. Open and close the driver door.
    3. Hold the electrical key transmitter sub-assembly at the same height as the door outside handle assembly and approximately 0.3 m (0.984 ft.) from the driver door.
    4. Read the Data List according to the display on the Techstream.
    5. Touch the lock sensor of the front door outside handle assembly LH with 2 or more fingers.

      HINT: 

      • When checking the operation of the lock sensor again, make sure to perform the procedure from step (a).
      • When checking the operation of the entry lock function several times, it can be operated up to 2 times consecutively. To operate the function 3 times or more consecutively, the doors need to be unlocked once. However, this is only for the entry lock function, other door lock operations, such as a wireless door lock operation can be performed consecutively.

      Body Electrical > Smart Access > Data List 

      Tester Display Measurement Item Range Normal Condition Diagnostic Note
      D-Door Trigger Switch Driver door touch sensor (lock sensor) OFF or ON OFF: Driver door touch sensor (lock sensor) not touched
      ON: Driver door touch sensor (lock sensor) touched
      • Displays whether the lock sensor is on or off (even if the sensor is touched and contact is maintained, "ON" is displayed only momentarily).
      • Use this Data List item to help determine if there is a lock sensor malfunction when the entry lock function does not operate.

      Body Electrical > Smart Access > Data List 

      Tester Display
      D-Door Trigger Switch

      OK

      The Techstream display changes correctly in response to the operation of the front door outside handle assembly LH.

      GTY778099Courtesy of © TOYOTA, LICENSE AGREEMENT TMS1002
      *a Lock Sensor

      Result

      Proceed to
      OK
      NG

    Result: 

    OK 

    REPLACE CERTIFICATION ECU (SMART KEY ECU ASSEMBLY). Refer to  REMOVAL [10/2018 - 07/2022] 

    Result: 

    NG 

    See step  3

  3. CHECK HARNESS AND CONNECTOR (CERTIFICATION ECU (SMART KEY ECU ASSEMBLY) - FRONT DOOR OUTSIDE HANDLE ASSEMBLY LH) 
    1. Disconnect the N61 certification ECU (smart key ECU assembly) connector.
    2. Disconnect the K3 front door outside handle assembly LH connector.
    3. Measure the resistance according to the value(s) in the table below.

      Standard Resistance

      Tester Connection Condition Specified Condition
      N61-17 (CLG1) - K3-4 (ANT1) Always Below 1 Ω
      N61-16 (CG1B) - K3-5 (ANT2) Always Below 1 Ω
      N61-17 (CLG1) or K3-4 (ANT1) - Other terminals and body ground Always 10 kΩ or higher
      N61-16 (CG1B) or K3-5 (ANT2) - Other terminals and body ground Always 10 kΩ or higher
    4. Reconnect the K3 front door outside handle assembly LH connector.
    5. Reconnect the N61 certification ECU (smart key ECU assembly) connector.

      Result

      Proceed to
      OK
      NG

    Result: 

    NG 

    REPAIR OR REPLACE HARNESS OR CONNECTOR 

    Result: 

    OK 

    See step  4

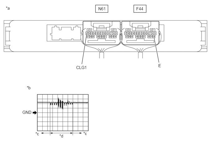
  4. CHECK FRONT DOOR OUTSIDE HANDLE ASSEMBLY LH (INPUT TO CERTIFICATION ECU (SMART KEY ECU ASSEMBLY)) 
    GTY798767Courtesy of © TOYOTA, LICENSE AGREEMENT TMS1002
    *a Component with harness connected
    (Certification ECU (Smart Key ECU Assembly))
    *b Waveform 1
    *c Lock sensor not touched *d Lock sensor touched
    1. Using an oscilloscope, check the waveform.

      OK

      Tester Connection Condition Tool Setting Specified Condition
      N61-17 (CLG1) - F44-18 (E) Procedure:
      1. Engine switch off
      2. Electrical key transmitter sub-assembly brought outside vehicle
      3. All doors closed
      4. All doors locked through wireless operation

        (electrical key transmitter sub-assembly brought outside detection area*)

      5. Driver door lock sensor touched
      5 V/DIV., 40 ms./DIV. Pulse generation
      (See waveform 1)

      *: For details about the entry function detection area, refer to Operation Check.

      Refer to OPERATION CHECK [10/2018 - 08/2021] , or refer to OPERATION CHECK [08/2021 - 07/2022]

      Result

      Proceed to
      OK
      NG

    Result: 

    OK 

    REPLACE CERTIFICATION ECU (SMART KEY ECU ASSEMBLY). Refer to  REMOVAL [10/2018 - 07/2022] 

    Result: 

    NG 

    REPLACE FRONT DOOR OUTSIDE HANDLE ASSEMBLY LH. Refer to  DISASSEMBLY [10/2018 - 07/2022]