LEMON Manuals: Even more car manuals for everyone
Home >> Lexus >> 2019 >> UX 200 Base >> Repair and Diagnosis (Single Page) >> Accessories & Equipment >> Anti-Theft Systems >> Smart Access System W/ Push-Button Start (Entry Function) (Diagnostic Codes & Symptom Tests) (Except Hybrid) >> SMART ACCESS SYSTEM WITH PUSH-BUTTON START (for Entry Function, Gasoline Model) >> DTC B27A1: Open in Driver Side Electrical Antenna Circuit [10/2018 - 07/2022] >> Procedure

DTC B27A1: Open in Driver Side Electrical Antenna Circuit [10/2018 - 07/2022]: Procedure

  1. CHECK CONNECTOR CONNECTION 
    1. Check that the connectors are properly connected to the certification ECU (smart key ECU assembly) and front door outside handle assembly LH.

      OK

      Connectors are properly connected.

      Result

      Proceed to
      OK
      NG

    Result: 

    NG 

    CONNECT CONNECTORS PROPERLY 

    Result: 

    OK 

    See step  2

  2. CHECK HARNESS AND CONNECTOR (CERTIFICATION ECU (SMART KEY ECU ASSEMBLY) - FRONT DOOR OUTSIDE HANDLE ASSEMBLY LH) 
    1. Disconnect the N61 certification ECU (smart key ECU assembly) connector.
    2. Disconnect the K3 front door outside handle assembly LH connector.
    3. Measure the resistance according to the value(s) in the table below.

      Standard Resistance

      Tester Connection Condition Specified Condition
      N61-17 (CLG1) - K3-4 (ANT1) Always Below 1 Ω
      N61-16 (CG1B) - K3-5 (ANT2) Always Below 1 Ω
    4. Reconnect the N61 certification ECU (smart key ECU assembly) connector.
    5. Reconnect the K3 front door outside handle assembly LH connector.

      Result

      Proceed to
      OK
      NG

    Result: 

    NG 

    REPAIR OR REPLACE HARNESS OR CONNECTOR 

    Result: 

    OK 

    See step  3

  3. CHECK CERTIFICATION ECU (SMART KEY ECU ASSEMBLY) (OUTPUT TO FRONT DOOR OUTSIDE HANDLE ASSEMBLY LH) 
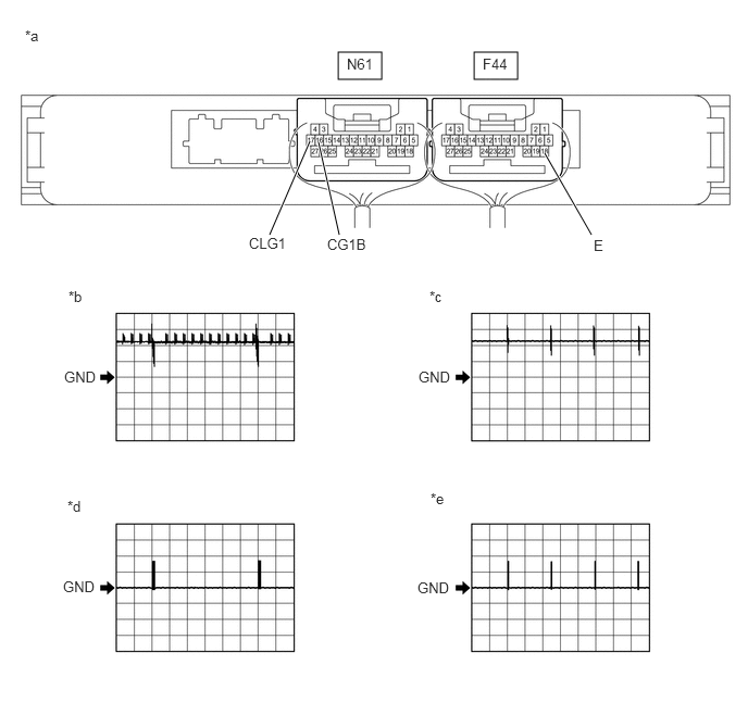
    GTY793886Courtesy of © TOYOTA, LICENSE AGREEMENT TMS1002
    *a Component with harness connected
    (Certification ECU (Smart Key ECU Assembly))
    *b Waveform 1
    *c Waveform 2 *d Waveform 3
    *e Waveform 4 - -
    1. Using an oscilloscope, check the waveform.

      OK

      Tester Connection Condition Tool Setting Specified Condition
      N61-17 (CLG1) - F44-18 (E) Procedure:
      1. Engine switch off
      2. All doors closed
      3. Electrical key transmitter sub-assembly not inside vehicle
      4. All doors locked through wireless operation

        (electrical key transmitter sub-assembly brought inside detection area*)

      5 V/DIV., 500 ms./DIV. Pulse generation
      (See waveform 1)
      Procedure:
      1. Engine switch off
      2. All doors closed
      3. Electrical key transmitter sub-assembly not inside vehicle
      4. All doors locked through wireless operation

        (electrical key transmitter sub-assembly brought outside detection area*)

      5 V/DIV., 100 ms./DIV. Pulse generation
      (See waveform 2)
      N61-16 (CG1B) - F44-18 (E) Procedure:
      1. Engine switch off
      2. All doors closed
      3. Electrical key transmitter sub-assembly not inside vehicle
      4. All doors locked through wireless operation

        (electrical key transmitter sub-assembly brought inside detection area*)

      5 V/DIV., 500 ms./DIV. Pulse generation
      (See waveform 3)
      Procedure:
      1. Engine switch off
      2. All doors closed
      3. Electrical key transmitter sub-assembly not inside vehicle
      4. All doors locked through wireless operation

        (electrical key transmitter sub-assembly brought outside detection area*)

      5 V/DIV., 100 ms./DIV. Pulse generation
      (See waveform 4)
      1. *: For details about the entry function detection area, refer to Operation Check.

        Refer to OPERATION CHECK [10/2018 - 08/2021] , or refer to OPERATION CHECK [08/2021 - 07/2022]

      Result

      Proceed to
      OK
      NG

    Result: 

    OK 

    REPLACE FRONT DOOR OUTSIDE HANDLE ASSEMBLY LH. Refer to  DISASSEMBLY [10/2018 - 07/2022] 

    Result: 

    NG 

    REPLACE CERTIFICATION ECU (SMART KEY ECU ASSEMBLY). Refer to  REMOVAL [10/2018 - 07/2022]