LEMON Manuals: Even more car manuals for everyone
Home >> Lexus >> 2019 >> NX 300h >> Repair and Diagnosis >> Accessories & Equipment >> Anti-Theft Systems >> Smart Access System With Push-Button Start (For Start Function) - Diagnostics - Introduction >> SMART ACCESS SYSTEM WITH PUSH-BUTTON START (for Start Function) >> Terminals Of Ecu [10/2014 - ] >> Terminals Of Ecu [10/2014 - ]

Terminals Of Ecu [10/2014 - ]

  1. CHECK CERTIFICATION ECU (SMART KEY ECU ASSEMBLY) 
    Fig 1: Certification ECU (Smart Key ECU Assembly) Connector End View
    GTY501018Courtesy of © TOYOTA, LICENSE AGREEMENT TMS1002
    1. Disconnect the I51 and I53 certification ECU (smart key ECU assembly) connectors.
    2. Measure the voltage and resistance according to the value(s) in the table below.

      HINT: 

      Measure the values on the wire harness side with the connector disconnected.

      Tester Connection Input/Output Wiring Color Terminal Description Condition Specified Condition Related Data List Item
      I51-2 (STP1) - Body ground Input B - Body ground Stop light switch signal Brake pedal depressed → Brake pedal released 9 V or higher → 1 V or less Stop Light Switch1
      I53-10 (+B) - I53-11 (E) Input W - W-B Power source Always 11 to 14 V -
      I53-23 (SLP) - I53-11 (E) Input GR - W-B Steering lock position signal Steering locked 10 kΩ or higher Steering Unlock Switch
      I53-22 (P) - I53-11 (E) Input B - W-B P position signal Shift lever in P → Shift lever not in P 30 kΩ or higher → Below 200 Ω Shift P Signal
      I53-11 (E) - Body ground - W-B - Body ground GND Always Below 1 Ω -
      I53-18 (SSW2) - Body ground Input G - Body ground SSW2 contact signal
      HINT: 
      Backup for SSW1. Behaves the same way as SSW1.
      Power switch pushed → Power switch not pushed Below 15 Ω → 10 kΩ or higher Start Switch2
      I53-16 (SSW1) - Body ground Input LG - Body ground SSW1 contact signal Power switch pushed → Power switch not pushed Below 15 Ω → 10 kΩ or higher Start Switch1
      I53-9 (ACCD) - Body ground Output L - Body ground ACC signal 20°C (68°F) 130.92 to 190.74 Ω ACC Relay Monitor
      I51-3 (IG1D) - Body ground Output W - Body ground IG signal 20°C (68°F) 87.32 to 127.14 Ω IG Relay Monitor (Outside)
      I51-4 (CUTB) - I53-11 (E) Input P - W-B Dark current cut pin*1 Always 11 to 14 V -
      I53-5 (SPD) - Body ground Input G - Body ground Vehicle speed signal Always 30 kΩ or higher Vehicle Speed Signal
      1. *1: In order to prevent the vehicle auxiliary battery from being depleted when the vehicle is shipped long distances, a fuse that cuts unnecessary electrical load while the vehicle is being shipped is set in the circuit. If the fuse is removed, the circuit becomes open. If the fuse that is between the vehicle auxiliary battery and terminal CUTB is removed and the circuit is open, the certification ECU (smart key ECU assembly) changes to a certain control mode (example: the transmission of electric waves every 0.25 seconds that form the detection area stops).
    3. Reconnect the I53 and I51 certification ECU (smart key ECU assembly) connectors.
    4. Measure the voltage and check for pulses according to the value(s) in the table below.
      Tester Connection Input/Output Wiring Color Terminal Description Condition Specified Condition Related Data List Item
      I51-2 (STP1) - I53-11 (E) Input B - W-B Stop light switch signal Brake pedal released → Brake pedal depressed 1 V or less → 9 V or higher Stop Light Switch1
      I53-23 (SLP) - I53-11 (E) Input GR - W-B Steering lock position signal Steering locked → Steering unlocked 11 to 14 V → 1.5 V or less Steering Unlock Switch
      I53-24 (SLR+) - I53-11 (E) Output L - W-B Steering lock motor operation command signal
      (Steering lock motor operation permission signal sent from the certification ECU (smart key ECU assembly))
      When a door is opened, the steering lock motor will be operated if all of the following conditions are met:
      • The steering is unlocked.
      • The power switch is off.
      • The shift lever is in P.
      Pulse generation
      (See waveform 1)
      -
      I53-22 (P) - I53-11 (E) Input B - W-B P position signal Shift lever in P → Shift lever not in P 9 V or higher → 2.76 V or less Shift P Signal
      I53-18 (SSW2) - I53-11 (E) Input G - W-B SSW2 contact signal
      HINT: 
      Backup for SSW1. Behaves the same way as SSW1.
      Power switch not pushed → Power switch pushed 9 V or higher → 1 V or less Start Switch2
      I53-16 (SSW1) - I53-11 (E) Input LG - W-B SSW1 contact signal Power switch not pushed → Power switch pushed 9 V or higher → 1 V or less Start Switch1
      I53-9 (ACCD) - I53-11 (E) Output L - W-B ACC signal Power switch off → Power switch on (ACC) 1 V or less → 8.5 V or higher ACC Relay Monitor
      I51-3 (IG1D) - I53-11 (E) Output W - W-B IG signal Power switch on (ACC) → Power switch on (IG) 1 V or less → 9 V or higher IG Relay Monitor (Outside)
      I53-5 (SPD) - I53-11 (E) Input G - W-B Vehicle speed signal Vehicle being driven at approx. 5 km/h (3 mph) Pulse generation
      (See waveform 2)
      Vehicle Speed Signal
      I51-12 (ST2) - I53-11 (E) Output LG - W-B STSW signal With the brake pedal depressed, the power switch is pressed and held → After approx. 3 sec. has elapsed, the power switch is released 9 V or higher → 1 V or less -

      HINT: 

      • The waveform of the steering lock actuator motor stopped can be checked without performing any particular operation.
      • The waveform of the steering lock actuator motor operating can be checked if either of the following operations is performed:
        • To unlock the steering, bring the electrical key transmitter sub-assembly into the cabin and turn the power switch on (ACC) or on (IG).
        • To lock the steering, open a door with the power switch off and the shift lever in P.
    5. Using an oscilloscope, check the waveform of the ECU.
      NOTE:

      The oscilloscope waveform shown in the illustration is an example for reference only. Noise, chattering, etc. are not shown.

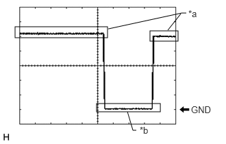
      1. Waveform 1
        Item Content
        Tester Connection I53-24 (SLR+) - I53-11 (E)
        Tool Setting 2 V/DIV., 200 ms./DIV.
        Condition Steering lock motor stopped → Steering lock motor operating → Steering lock motor stopped
        Fig 2: Waveform 2
        GTY446294Courtesy of © TOYOTA, LICENSE AGREEMENT TMS1002
        *a Steering lock motor not operating
        *b Steering lock motor operating
      2. Waveform 2
        Fig 3: Waveform 3
        GTY514865Courtesy of © TOYOTA, LICENSE AGREEMENT TMS1002
        Item Content
        Tester Connection I53-5 (SPD) - I53-11 (E)
        Tool Setting 5 V/DIV., 200 ms./DIV.
        Condition Vehicle being driven at approx. 5 km/h (3 mph)

        HINT: 

        The wavelength becomes shorter as the vehicle speed increases.

  2. CHECK STEERING LOCK ECU (STEERING LOCK ACTUATOR ASSEMBLY) 

    Refer to TERMINALS OF ECU [10/2014 - ]

  3. CHECK ID CODE BOX (IMMOBILISER CODE ECU) 

    Refer to TERMINALS OF ECU [10/2014 - ]

  4. CHECK POWER SWITCH 

    Refer to TERMINALS OF ECU [10/2014 - ]