LEMON Manuals: Even more car manuals for everyone
Home >> Lexus >> 2019 >> LS 500 Base, RWD >> Repair and Diagnosis >> External Pages >> Different variant/trim >> Section 15 (Transfer Case System - Service Information) >> Transfer Assembly >> Reassembly [12/2017 - ] >> Procedure

Reassembly [12/2017 - ]: Procedure

WARNING: This page is about a different variant/trim than selected.
  1. INSTALL TRANSFER FRONT DRIVE GEAR ASSEMBLY CYLINDRICAL ROLLER BEARING 
    1. for Rear Transfer Case Side:
      1. Using SST and a press, install a new transfer front drive gear assembly cylindrical roller bearing to the rear transfer case.
        GTY809361Courtesy of © TOYOTA, LICENSE AGREEMENT TMS1002
        • SST: 09950-60021 
          1. 09951-00710
        • SST: 09950-70010 
          1. 09951-07100
        NOTE:
        • Securely install so that it contacts the end of the rear transfer case.
        • Be careful of the straight pins when placing the case on the press.
        • Be careful not to damage the rear transfer case.
      2. Using needle-nose pliers, install the transfer front drive gear snap ring to the rear transfer case.
        GTY265409Courtesy of © TOYOTA, LICENSE AGREEMENT TMS1002
    2. for Front Transfer Case Side:
      1. Install the transfer front drive gear bearing and No. 3 transfer thrust bearing race to the front transfer case.
        GTY262622Courtesy of © TOYOTA, LICENSE AGREEMENT TMS1002
      2. Using SST and a press, install a new transfer front drive gear assembly cylindrical roller bearing to the front transfer case.
        GTY796840Courtesy of © TOYOTA, LICENSE AGREEMENT TMS1002
        • SST: 09527-17011 
        • SST: 09951-01000 
        • SST: 09950-70010 
          1. 09951-07150
        NOTE:
        • Securely install so that it contacts the end of the front transfer case.
        • Be careful not to damage the rear transfer case.
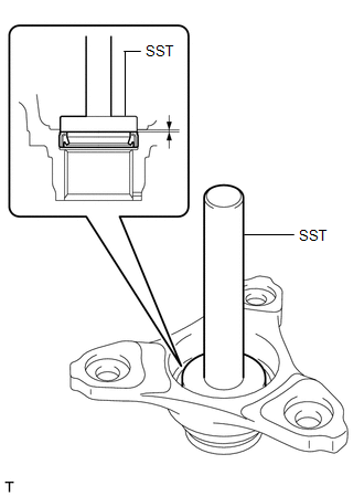
  2. INSTALL TRANSFER FRONT CASE OIL SEAL 
    1. GTY793450Courtesy of © TOYOTA, LICENSE AGREEMENT TMS1002

      Using SST and a hammer, tap a new transfer front case oil seal into the front transfer case up to the standard value as shown in the illustration.

      • SST: 09223-15020 
      • SST: 09950-70010 
        1. 09951-07100

      Standard depth

      1.0 to 1.5 mm (0.0394 to 0.0590 in.)

      NOTE:
      • Tap the transfer front case oil seal evenly so that the oil seal is straight.
      • Do not excessively tap the transfer front case oil seal.
    2. Apply a small amount of MP grease No. 2 to the lip of the transfer front case oil seal.
  3. INSTALL TRANSFER OUTPUT SHAFT COMPANION FLANGE OIL SEAL 

    See step  7

  4. INSTALL FORWARD CLUTCH DRUM OIL SEAL RING 
    1. GTY265408Courtesy of © TOYOTA, LICENSE AGREEMENT TMS1002

      Install the forward clutch drum oil seal ring to the front transfer case.

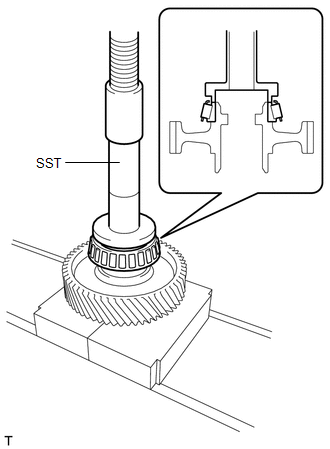
  5. INSTALL TRANSFER COUNTER GEAR BEARING (for Front Transfer Case Side) 
    1. for Front Transfer Case Side:
      1. Using SST and a press, install a new transfer counter gear bearing (outer race) to the front transfer case.
        GTY832266Courtesy of © TOYOTA, LICENSE AGREEMENT TMS1002
        • SST: 09950-60011 
          1. 09951-00580
          2. 09951-00610
          3. 09952-06010
        • SST: 09950-60021 
          1. 09951-00730
          2. 09951-00790
          3. 09952-06010
        • SST: 09950-70010 
          1. 09951-07100
        NOTE:
        • Securely install so that it contacts the end of the front transfer case.
        • Be careful not to damage the front transfer case.
      2. Using SST and a press, install a new transfer counter gear bearing (inner race) to the front transfer case.
        GTY775339Courtesy of © TOYOTA, LICENSE AGREEMENT TMS1002
        • SST: 09612-24014 
          1. 09613-22011
        • SST: 09950-60011 
          1. 09951-00340
          2. 09951-00510
          3. 09952-06010
        NOTE:
        • Securely install so that it contacts the end of the transfer counter gear.
        • Be careful not to damage the transfer counter gear.

        HINT: 

        Disassemble SST (09613-22011), and only use the pipe part.

    2. for Rear Transfer Case Side:
      1. Using SST and a press, install a new transfer counter gear bearing (inner race) to the front transfer case.
        GTY810205Courtesy of © TOYOTA, LICENSE AGREEMENT TMS1002
        • SST: 09316-60012 
          1. 09316-00011
        • SST: 09950-60011 
          1. 09951-00420
        NOTE:
        • Securely install so that it contacts the end of the transfer counter gear.
        • Be careful not to damage the transfer counter gear.

        HINT: 

        Install the transfer counter gear bearing (outer race) when adjusting the counter gear bearing preload.

  6. ADJUST COUNTER GEAR BEARING PRELOAD 
    1. Install the transfer counter gear assembly to the front transfer case.
      GTY283443Courtesy of © TOYOTA, LICENSE AGREEMENT TMS1002
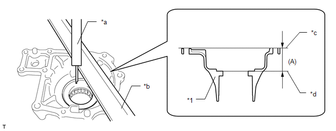
    2. Using a vernier caliper and straightedge, measure the dimension (A) between the contact surface of the front transfer case and the end of the transfer counter gear bearing (outer race) with a load applied.
      GTY781730Courtesy of © TOYOTA, LICENSE AGREEMENT TMS1002
      *1 Front Transfer Case *2 transfer counter gear bearing (Outer Race)
      *a Vernier Caliper *b Precision Straightedge
      *c Transfer Case Contact Surface *d Transfer Counter Gear Bearing (Outer Race) End
      NOTE:
      • Before measuring, clean the contact surface of the transfer case so that there is no foreign matter.
      • Measure the transfer idler gear while it is uninstalled.
      • Do not add the thickness of the straightedge.

      HINT: 

      Perform the measurement at 3 locations at intervals of 120° around the circumference of the outer race and calculate the average.

    3. Using a vernier caliper and straightedge, measure the dimension (B) from the contact surface of the rear transfer case and front transfer case to the shim installation surface of the transfer counter gear assembly.
      GTY796106Courtesy of © TOYOTA, LICENSE AGREEMENT TMS1002
      *1 Rear Transfer Case - -
      *a Vernier Caliper *b Precision Straightedge
      *c Rear Transfer Case and Front Transfer Case Contact Surface *d Transfer Counter Gear Assembly Shim Installation Surface
      NOTE:

      Do not add the thickness of the precision straightedge.

    4. Using the formula below, calculate the thickness of the transfer counter gear shim and select an appropriate shim from the table.

      Transfer counter gear shim thickness

      Dimension B - Dimension A

      Transfer Counter Gear Shim Thickness

      Identification Mark Thickness Identification Mark Thickness Identification Mark Thickness
      40 1.39 to 1.41 mm (0.0548 to 0.0555 in.) 72 1.71 to 1.73 mm (0.0674 to 0.0681 in.) 04 2.03 to 2.05 mm (0.0800 to 0.0807 in.)
      42 1.41 to 1.43 mm (0.0556 to 0.0562 in.) 74 1.73 to 1.75 mm (0.0682 to 0.0688 in.) 06 2.05 to 2.07 mm (0.0808 to 0.0814 in.)
      44 1.43 to 1.45 mm (0.0563 to 0.0570 in.) 76 1.75 to 1.77 mm (0.0689 to 0.0696 in.) 08 2.07 to 2.09 mm (0.0815 to 0.0822 in.)
      46 1.45 to 1.47 mm (0.0571 to 0.0578 in.) 78 1.77 to 1.79 mm (0.0697 to 0.0704 in.) 10 2.09 to 2.11 mm (0.0823 to 0.0830 in.)
      48 1.47 to 1.49 mm (0.0579 to 0.0586 in.) 80 1.79 to 1.81 mm (0.0705 to 0.0712 in.) 12 2.11 to 2.13 mm (0.0831 to 0.0838 in.)
      50 1.49 to 1.51 mm (0.0587 to 0.0594 in.) 82 1.81 to 1.83 mm (0.0713 to 0.0720 in.) 14 2.13 to 2.15 mm (0.0839 to 0.0846 in.)
      52 1.51 to 1.53 mm (0.0595 to 0.0602 in.) 84 1.83 to 1.85 mm (0.0721 to 0.0728 in.) 16 2.15 to 2.17 mm (0.0847 to 0.0854 in.)
      54 1.53 to 1.55 mm (0.0603 to 0.0610 in.) 86 1.85 to 1.87 mm (0.0729 to 0.0736 in.) 18 2.17 to 2.19 mm (0.0855 to 0.0862 in.)
      56 1.55 to 1.57 mm (0.0611 to 0.0618 in.) 88 1.87 to 1.89 mm (0.0737 to 0.0744 in.) 20 2.19 to 2.21 mm (0.0863 to 0.0870 in.)
      58 1.57 to 1.59 mm (0.0619 to 0.0625 in.) 90 1.89 to 1.91 mm (0.0745 to 0.0751 in.) 22 2.21 to 2.23 mm (0.0871 to 0.0877 in.)
      60 1.59 to 1.61 mm (0.0626 to 0.0633 in.) 92 1.91 to 1.93 mm (0.0752 to 0.0759 in.) 24 2.23 to 2.25 mm (0.0878 to 0.0885 in.)
      62 1.61 to 1.63 mm (0.0634 to 0.0641 in.) 94 1.93 to 1.95 mm (0.0760 to 0.0767 in.) 26 2.25 to 2.27 mm (0.0886 to 0.0893 in.)
      64 1.63 to 1.65 mm (0.0642 to 0.0649 in.) 96 1.95 to 1.97 mm (0.0768 to 0.0775 in.) 28 2.27 to 2.29 mm (0.0894 to 0.0901 in.)
      66 1.65 to 1.67 mm (0.0650 to 0.0657 in.) 98 1.97 to 1.99 mm (0.0776 to 0.0783 in.) 30 2.29 to 2.31 mm (0.0902 to 0.0909 in.)
      68 1.67 to 1.69 mm (0.0658 to 0.0665 in.) 00 1.99 to 2.01 mm (0.0784 to 0.0791 in.) - -
      70 1.69 to 1.71 mm (0.0666 to 0.0673 in.) 02 2.01 to 2.03 mm (0.0792 to 0.0799 in.) - -
    5. GTY127047Courtesy of © TOYOTA, LICENSE AGREEMENT TMS1002

      Using SST and a press, install the shim and a new transfer counter gear bearing (outer race) to the rear transfer case.

      • SST: 09950-60021 
        1. 09951-00750
      • SST: 09950-70010 
        1. 09951-07100
      NOTE:
      • Securely install so that it contacts the end of the rear transfer case.
      • Be careful not to damage the rear transfer case.
    6. Install the rear transfer case.
      GTY831894Courtesy of © TOYOTA, LICENSE AGREEMENT TMS1002
      1. Clean and degrease the rear transfer case and front transfer case installation bolt holes.
      2. Install the rear transfer case with the 7 bolts to the front transfer case.

        Torque: 29 N.m (296 kgf/cm, 21 ft.lbf) 

        Bolt Length Beneath Head

        Bolt Type Bolt Length Beneath Head
        Bolt A 55 mm (2.17 in.)
        Bolt B 45 mm (1.77 in.)
    7. Install the output shaft companion flange sub-assembly.

      See step  8

    8. Rotate the transfer counter gear assembly forwards and backwards to fit the transfer counter gear bearing.
    9. Using a torque wrench, check the torque (counter gear preload) of the transfer counter gear bearing.
      GTY776472Courtesy of © TOYOTA, LICENSE AGREEMENT TMS1002

      Standard turning torque

      0.66 to 1.18 N.m (7 to 12 kgf/cm, 6 to 10 in.lbf)

      NOTE:

      Measure the transfer idler gear while it is uninstalled.

      HINT: 

      Measure the torque at approximately 60 r/min (1 rotation/second).

      If the result is not as specified, select the transfer counter gear assembly shim and adjust.

    10. Remove the output shaft companion flange sub-assembly.

      See step  5

    11. Remove the 7 bolts and the rear transfer case cover from the front transfer case.
      GTY127696Courtesy of © TOYOTA, LICENSE AGREEMENT TMS1002
    12. Remove the transfer counter gear assembly from the front transfer case.
      GTY283443Courtesy of © TOYOTA, LICENSE AGREEMENT TMS1002
  7. INSTALL TRANSFER OIL PUMP PLATE SUB-ASSEMBLY 
    1. Install the drive rotor and driven rotor to the front transfer case.
      GTY832928Courtesy of © TOYOTA, LICENSE AGREEMENT TMS1002
      *1 Transfer Oil Pump Plate Sub-assembly
      *2 Front Transfer Case
      *3 Transfer Oil Pump Plate Pin
      *4 Transfer Oil Pump Drive Rotor
      *5 Transfer Oil Pump Driven Rotor
    2. Install the plate pin to the oil pump plate.
    3. Install the plate to the front transfer case.
      NOTE:

      Align the position of transfer oil pump plate pin with the front transfer case and install it.

  8. INSTALL TRANSFER IDLER GEAR BEARING (for Front Transfer Case Side) 
    1. for Front Transfer Case Side:
      1. Using SST and a press, install a new transfer idler gear bearing (outer race) to the front transfer case.
        GTY812518Courtesy of © TOYOTA, LICENSE AGREEMENT TMS1002
        • SST: 09950-60021 
          1. 09951-00890
        • SST: 09950-70010 
          1. 09951-07100
        NOTE:
        • Securely install so that it contacts the end of the front transfer case.
        • Be careful not to damage the front transfer case.
      2. Using SST and a press, install a new transfer idler gear bearing (inner race) to the front transfer case.
        GTY829071Courtesy of © TOYOTA, LICENSE AGREEMENT TMS1002
        • SST: 09554-22010 
        NOTE:
        • Securely install so that it contacts the end of the transfer idler gear.
        • Be careful not to damage the transfer idler gear bearing.
    2. for Rear Transfer Case Side:
      1. Using SST and a press, install a new transfer idler gear bearing (inner race) to the front transfer case.
        GTY836719Courtesy of © TOYOTA, LICENSE AGREEMENT TMS1002
        • SST: 09554-22010 
        • SST: 09950-60011 
          1. 09951-00540
        NOTE:
        • Securely install so that it contacts the end of the transfer idler gear.
        • Be careful not to damage the transfer idler gear.

        HINT: 

        Install the transfer idler gear bearing (outer race) when adjusting the idler gear bearing preload.

  9. ADJUST IDLER GEAR 
    1. Install the transfer counter gear assembly to the front transfer case.
      GTY283443Courtesy of © TOYOTA, LICENSE AGREEMENT TMS1002
    2. Install the transfer idler gear assembly to the front transfer case.
      GTY127625Courtesy of © TOYOTA, LICENSE AGREEMENT TMS1002
    3. Using a vernier caliper and straightedge, measure the dimension (A) between the contact surface of the front transfer case and the end of the transfer idler gear bearing (outer race) with a load applied.
      GTY817067Courtesy of © TOYOTA, LICENSE AGREEMENT TMS1002
      *1 Front Transfer Case *2 Transfer Idler Gear Bearing (Outer Race)
      *a Vernier Caliper *b Precision Straightedge
      *c Transfer Case Contact Surface *d Transfer Idler Gear Bearing (Outer Race) End
      NOTE:
      • Before measuring, clean the contact surface of the transfer case so that there is no foreign matter.
      • Do not add the thickness of the straightedge.

      HINT: 

      Measure the 3 places every 120° from any point on the circumference of the transfer idler gear bearing (outer race), and use the average value.

    4. Using a vernier caliper and straightedge, measure the dimension (B) from the contact surface of the rear transfer case and front transfer case to the shim installation surface of the transfer idler gear.
      GTY809077Courtesy of © TOYOTA, LICENSE AGREEMENT TMS1002
      *1 Rear Transfer Case - -
      *a Vernier Caliper *b Precision Straightedge
      *c Rear Transfer Case and Front Transfer Case Contact Surface *d Transfer Idler Gear Shim Installation Surface
      NOTE:
      • Before measuring, clean the contact surface of the transfer case so that there is no foreign matter.
      • Do not add the thickness of the straightedge.
    5. Using the following formula, calculate the plate thickness of the transfer idler gear shim and select from the table.

      Transfer Idler Gear Shim Thickness

      Dimension (B) - Dimension (A)

      Transfer Idler Gear Shim Type

      Identification Mark Thickness (mm) Identification Mark Thickness (mm) Identification Mark Thickness (mm)
      90 0.89 to 0.91 mm (0.0351 to 0.0358 in.) 22 1.21 to 1.23 mm (0.0477 to 0.0484 in.) 54 1.53 to 1.55 mm (0.0603 to 0.0610 in.)
      92 0.91 to 0.93 mm (0.0359 to 0.0366 in.) 24 1.23 to 1.25 mm (0.0485 to 0.0492 in.) 56 1.55 to 1.57 mm (0.0611 to 0.0618 in.)
      94 0.93 to 0.95 mm (0.0367 to 0.0374 in.) 26 1.25 to 1.27 mm (0.0493 to 0.0499 in.) 58 1.57 to 1.59 mm (0.0619 to 0.0625 in.)
      96 0.95 to 0.97 mm (0.0375 to 0.0381 in.) 28 1.27 to 1.29 mm (0.0500 to 0.0507 in.) 60 1.59 to 1.61 mm (0.0626 to 0.0633 in.)
      98 0.97 to 0.99 mm (0.0382 to 0.0389 in.) 30 1.29 to 1.31 mm (0.0508 to 0.0515 in.) 62 1.61 to 1.63 mm (0.0634 to 0.0641 in.)
      00 0.99 to 1.01 mm (0.0390 to 0.0397 in.) 32 1.31 to 1.33 mm (0.0516 to 0.0523 in.) 64 1.63 to 1.65 mm (0.0642 to 0.0649 in.)
      02 1.01 to 1.03 mm (0.0398 to 0.0405 in.) 34 1.33 to 1.35 mm (0.0524 to 0.0531 in.) 66 1.65 to 1.67 mm (0.0650 to 0.0657 in.)
      04 1.03 to 1.05 mm (0.0406 to 0.0413 in.) 36 1.35 to 1.37 mm (0.0532 to 0.0539 in.) 68 1.67 to 1.69 mm (0.0658 to 0.0665 in.)
      06 1.05 to 1.07 mm (0.0414 to 0.0421 in.) 38 1.37 to 1.39 mm (0.0540 to 0.0547 in.) 70 1.69 to 1.71 mm (0.0666 to 0.0673 in.)
      08 1.07 to 1.09 mm (0.0422 to 0.0429 in.) 40 1.39 to 1.41 mm (0.0548 to 0.0555 in.) 72 1.71 to 1.73 mm (0.0674 to 0.0681 in.)
      10 1.09 to 1.11 mm (0.0430 to 0.0437 in.) 42 1.41 to 1.43 mm (0.0556 to 0.0562 in.) 74 1.73 to 1.75 mm (0.0682 to 0.0688 in.)
      12 1.11 to 1.13 mm (0.0438 to 0.0444 in.) 44 1.43 to 1.45 mm (0.0563 to 0.0570 in.) 76 1.75 to 1.77 mm (0.0689 to 0.0696 in.)
      14 1.13 to 1.15 mm (0.0445 to 0.0452 in.) 46 1.45 to 1.47 mm (0.0571 to 0.0578 in.) 78 1.77 to 1.79 mm (0.0697 to 0.0704 in.)
      16 1.15 to 1.17 mm (0.0453 to 0.0460 in.) 48 1.47 to 1.49 mm (0.0579 to 0.0586 in.) 80 1.79 to 1.81 mm (0.0705 to 0.0712 in.)
      18 1.17 to 1.19 mm (0.0461 to 0.0468 in.) 50 1.49 to 1.51 mm (0.0587 to 0.0594 in.) - -
      20 1.19 to 1.21 mm (0.0469 to 0.0476 in.) 52 1.51 to 1.53 mm (0.0595 to 0.0602 in.) - -
    6. Using SST and a press, install a new transfer idler gear bearing (outer race) and transfer idler gear shim to the rear transfer case.
      GTY801374Courtesy of © TOYOTA, LICENSE AGREEMENT TMS1002
      • SST: 09950-60021 
        1. 09951-00780
        2. 09951-00890
        3. 09952-06010
      • SST: 09950-70010 
        1. 09951-07100
      NOTE:
      • Securely install so that it contacts the end of the rear transfer case.
      • Be careful not to damage the rear transfer case.
    7. Install the rear transfer case
      1. Clean and degrease the rear transfer case and front transfer case installation bolt holes.
      2. Install the rear transfer case with the 7 bolts to the front transfer case.
        GTY831894Courtesy of © TOYOTA, LICENSE AGREEMENT TMS1002

        Torque: 29 N.m (296 kgf/cm, 21 ft.lbf) 

        Bolt Length Beneath Head

        Bolt Type Bolt Length Beneath Head
        Bolt A 55 mm (2.17 in.)
        Bolt B 45 mm (1.77 in.)
    8. Install the output shaft companion flange sub-assembly.

      See step  5

    9. Rotate the transfer idler gear forwards and backwards to fit the transfer idler gear bearing.
    10. Using a torque wrench, check the torque (idler gear preload) of the transfer idler gear bearing.
      GTY776474Courtesy of © TOYOTA, LICENSE AGREEMENT TMS1002

      Standard turning torque

      1.54 to 2.64 N.m (16 to 26 kgf/cm, 14 to 23 in.lbf)

      NOTE:

      Use the measured torque of the idler gear preload as the total preload for the transfer idler gear and transfer counter gear assembly.

      HINT: 

      Measure the torque at approximately 60 r/min (1 rotation/second).

    11. If the result is not as specified, select the transfer idler gear shim and adjust.
    12. Remove the output shaft companion flange sub-assembly.

      See step  5

    13. Remove the 7 bolts and the rear transfer case cover from the front transfer case.
      GTY127696Courtesy of © TOYOTA, LICENSE AGREEMENT TMS1002
    14. GTY262757Courtesy of © TOYOTA, LICENSE AGREEMENT TMS1002

      Remove the transfer idler gear assembly from the front transfer case.

    15. Remove the transfer counter gear assembly from the front transfer case.
      GTY283443Courtesy of © TOYOTA, LICENSE AGREEMENT TMS1002
  10. INSTALL NO. 1 TRANSFER OIL STRAINER 
    1. GTY265405Courtesy of © TOYOTA, LICENSE AGREEMENT TMS1002

      Install the No. 1 transfer oil strainer to the front transfer case.

  11. INSTALL TRANSFER OIL SEPARATOR 
    1. GTY265404Courtesy of © TOYOTA, LICENSE AGREEMENT TMS1002

      Install the transfer oil separator with the 3 bolts.

      Torque: 7.0 N.m (71 kgf/cm, 62 in.lbf) 

  12. INSTALL DRIVE PINION COMPANION FLANGE OIL SEAL 
    1. GTY128825Courtesy of © TOYOTA, LICENSE AGREEMENT TMS1002

      Using SST and a hammer, tap a new drive pinion companion flange oil seal up to the standard value.

      • SST: 09950-60011 
        1. 09951-00350
      • SST: 09950-70010 
        1. 09951-07100

      Standard oil seal depth

      0 to 0.3 mm (0 to 0.0118 in.)

      NOTE:
      • Tap in the drive pinion companion flange oil seal evenly so that the drive pinion companion flange oil seal is straight.
      • Do not excessively tap in the drive pinion companion flange oil seal.
    2. Apply a small amount of MP grease to the lip of the drive pinion companion flange oil seal.
  13. INSTALL TRANSFER OIL SEAL RING 
    1. GTY283482Courtesy of © TOYOTA, LICENSE AGREEMENT TMS1002

      Install the transfer oil seal ring to the transfer input shaft.

      NOTE:

      Do not excessively widen the transfer oil seal ring.

  14. INSTALL TRANSFER INPUT SHAFT 
    1. GTY283480Courtesy of © TOYOTA, LICENSE AGREEMENT TMS1002

      Install the transfer input shaft to the transfer front drive gear assembly.

  15. INSTALL TRANSFER FRONT DRIVE GEAR PIN 
    1. GTY262442Courtesy of © TOYOTA, LICENSE AGREEMENT TMS1002

      Install the transfer front drive gear pin to the front transfer case.

  16. INSTALL TRANSFER FRONT DRIVE GEAR ASSEMBLY 
    1. GTY262444Courtesy of © TOYOTA, LICENSE AGREEMENT TMS1002

      Install the transfer front drive gear assembly and transfer input shaft to the front transfer case.

  17. INSTALL TRANSFER COUNTER GEAR ASSEMBLY 
    1. GTY283443Courtesy of © TOYOTA, LICENSE AGREEMENT TMS1002

      Install the transfer counter gear assembly to the front transfer case.

  18. INSTALL TRANSFER OIL PUMP DRIVE SHAFT 
    1. GTY283515Courtesy of © TOYOTA, LICENSE AGREEMENT TMS1002

      Install the transfer oil pump drive shaft to the front transfer case.

  19. INSTALL TRANSFER IDLER GEAR ASSEMBLY 
    1. GTY262757Courtesy of © TOYOTA, LICENSE AGREEMENT TMS1002

      Install the transfer idler gear assembly to the front transfer case.

  20. INSTALL REAR TRANSFER CASE 
    1. Clean the bolt holes of the front transfer case.
    2. GTY807802Courtesy of © TOYOTA, LICENSE AGREEMENT TMS1002
      *a Seal Packing 1281 (Approximately 1.2 mm diameter)

      Apply seal packing 1281 (approximately 1.2 mm diameter) to the points shown in the illustration.

      NOTE:

      Clean and degrease the installation surface.

    3. GTY831894Courtesy of © TOYOTA, LICENSE AGREEMENT TMS1002

      Install the rear transfer case with the 7 bolts to the front transfer case.

      Torque: 29 N.m (296 kgf/cm, 21 ft.lbf) 

      Bolt Length Beneath Head

      Bolt Type Bolt Length Beneath Head
      Bolt A 55 mm (2.17 in.)
      Bolt B 45 mm (1.77 in.)
      NOTE:

      Tighten the bolts within 10 minutes after applying the seal packing.

  21. INSTALL TRANSFER INPUT GEAR STOPPER 
    1. GTY262834Courtesy of © TOYOTA, LICENSE AGREEMENT TMS1002

      Install the transfer input gear stopper to the transfer input shaft.

  22. INSTALL TRANSFER INPUT GEAR STOPPER SHAFT SNAP RING 
    1. GTY262833Courtesy of © TOYOTA, LICENSE AGREEMENT TMS1002

      Using a snap ring expander, install the transfer input gear stopper shaft snap ring to the transfer input shaft.

  23. INSTALL BREATHER OIL DEFLECTOR 
    1. GTY283534Courtesy of © TOYOTA, LICENSE AGREEMENT TMS1002

      Install the breather oil deflector with the 2 bolts to the rear transfer case.

      Torque: 7.0 N.m (71 kgf/cm, 62 in.lbf) 

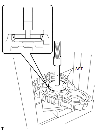
  24. INSTALL TRANSFER OUTPUT SHAFT CYLINDRICAL ROLLER BEARING 
    1. GTY827505Courtesy of © TOYOTA, LICENSE AGREEMENT TMS1002

      Using SST and a press, install a new transfer output shaft cylindrical roller bearing to the transfer extension housing.

      • SST: 09950-60011 
        1. 09951-00600
      • SST: 09950-70010 
        1. 09951-07100
      NOTE:
      • Securely install so that it contacts the end of the transfer extension housing.
      • Be careful not to damage the transfer extension housing.
  25. INSTALL NO. 1 DIFFERENTIAL CASE SUB-ASSEMBLY HOLE SNAP RING 
    1. Using needle-nose pliers, install the differential case sub-assembly No. 1 hole snap ring to the transfer extension housing.
      GTY141675Courtesy of © TOYOTA, LICENSE AGREEMENT TMS1002
  26. INSTALL NO. 1 DIFFERENTIAL CASE SUB-ASSEMBLY 
    1. Install the No. 1 differential case sub-assembly to the rear transfer case.
  27. INSTALL TRANSFER OUTPUT SHAFT SHIM 
    1. GTY257946Courtesy of © TOYOTA, LICENSE AGREEMENT TMS1002

      Install the transfer output shaft shim to the No. 1 differential case sub-assembly.

  28. INSTALL NO. 2 TRANSFER THRUST BEARING RACE 
    1. GTY262832Courtesy of © TOYOTA, LICENSE AGREEMENT TMS1002

      Install the No. 2 transfer thrust bearing race to the No. 1 differential case sub-assembly.

      NOTE:

      Make sure to install the No. 2 transfer thrust bearing race in the correct direction.

  29. INSTALL DIFFERENTIAL CASE NEEDLE ROLLER BEARING 
    1. GTY262831Courtesy of © TOYOTA, LICENSE AGREEMENT TMS1002

      Install the differential case needle roller bearing to the No. 1 differential case sub-assembly.

      NOTE:

      Make sure to install the differential case needle roller bearing in the correct direction.

  30. INSTALL TRANSFER OUTPUT SHAFT WASHER 
    1. GTY262830Courtesy of © TOYOTA, LICENSE AGREEMENT TMS1002

      Install the 2 transfer output shaft washers to the No. 1 differential case sub-assembly.

  31. INSTALL NO. 1 TRANSFER THRUST BEARING RACE 
    1. GTY123622Courtesy of © TOYOTA, LICENSE AGREEMENT TMS1002

      Install the No. 1 transfer thrust bearing race to the No. 1 differential case sub-assembly.

  32. ADJUST TRANSFER OUTPUT SHAFT SHIM 
    1. Using a vernier caliper and straightedge, measure the dimension (A) between the contact surface of the transfer extension housing and the installation surface of the No. 1 transfer thrust bearing race.
      GTY805333Courtesy of © TOYOTA, LICENSE AGREEMENT TMS1002
      *1 Transfer Extension Housing - -
      *a Vernier Caliper *b Precision Straightedge
      *c Transfer Extension Housing Contact Surface *d No. 1 Transfer Thrust Bearing Race Installation Surface
      NOTE:
      • Before measuring, clean the contact surface of the transfer case so that there is no foreign matter.
      • Do not add the thickness of the straightedge.
    2. Using a vernier caliper and straightedge, measure the dimension (B) from the No. 1 transfer thrust bearing race to the extension housing connection surface of the rear transfer case.
      GTY780509Courtesy of © TOYOTA, LICENSE AGREEMENT TMS1002
      *1 No. 1 Transfer Thrust Bearing Race *2 Rear Transfer Case
      *a Vernier Caliper *b Precision Straightedge
      *c No. 1 Transfer Thrust Bearing Race *d Rear Transfer Case Extension Housing Contact Surface
      NOTE:

      Do not add the thickness of the straightedge.

    3. Using the following formula, calculate the plate thickness of the transfer output shaft shim and select from the table.

      Transfer output shim thickness

      Dimension A - Dimension B

      Transfer Output Shim Thickness

      Mark Specified Condition Mark Specified Condition
      98 0.96 to 1.00 mm (0.0378 to 0.0393 in.) 43 1.41 to 1.45 mm (0.0556 to 0.0570 in.)
      03 1.01 to 1.05 mm (0.0398 to 0.0413 in.) 48 1.46 to 1.50 mm (0.0575 to 0.0590 in.)
      08 1.06 to 1.10 mm (0.0418 to 0.0433 in.) 53 1.51 to 1.55 mm (0.0595 to 0.0610 in.)
      13 1.11 to 1.15 mm (0.0438 to 0.0452 in.) 58 1.56 to 1.60 mm (0.0615 to 0.0629 in.)
      18 1.16 to 1.20 mm (0.0457 to 0.0472 in.) 63 1.61 to 1.65 mm (0.0634 to 0.0649 in.)
      23 1.21 to 1.25 mm (0.0477 to 0.0492 in.) 68 1.66 to 1.70 mm (0.0654 to 0.0669 in.)
      28 1.26 to 1.30 mm (0.0497 to 0.0511 in.) 73 1.71 to 1.75 mm (0.0674 to 0.0688 in.)
      33 1.31 to 1.35 mm (0.0516 to 0.0531 in.) 78 1.76 to 1.80 mm (0.0693 to 0.0708 in.)
      38 1.36 to 1.40 mm (0.0536 to 0.0551 in.) - -
  33. INSTALL TRANSFER EXTENSION HOUSING 
    1. Clean and degrease the rear transfer case transfer extension housing installation bolt holes.
    2. GTY819773Courtesy of © TOYOTA, LICENSE AGREEMENT TMS1002
      *a Seal Packing 1281 (Approximately 1.2 mm diameter)

      Apply seal packing 1281 (approximately 1.2 mm diameter) to the points shown in the illustration.

      NOTE:

      Clean and degrease the installation surface.

    3. GTY827945Courtesy of © TOYOTA, LICENSE AGREEMENT TMS1002

      Install the transfer extension housing and bracket to the transfer case with the 8 bolts (A) and 3 new bolts (B).

      Torque: 29 N.m (296 kgf/cm, 21 ft.lbf) 

      Bolt Length Beneath Head

      Bolt Type Bolt length beneath head
      Bolt A 112 mm (4.41 in.)
      Bolt B 35 mm (1.38 in.)
      NOTE:

      Tighten the bolts within 10 minutes after applying the seal packing.

  34. INSTALL TRANSFER EXTENSION HOUSING OIL SEAL 

    See step  6

  35. INSTALL DRIVE PINION COMPANION FLANGE SUB-ASSEMBLY 

    See step  7

  36. INSTALL OUTPUT SHAFT COMPANION FLANGE SUB-ASSEMBLY 

    See step  8

  37. INSTALL NO. 2 TRANSFER CASE PLUG 
    1. GTY262817Courtesy of © TOYOTA, LICENSE AGREEMENT TMS1002

      Using a 17 mm straight hexagon wrench, install a new gasket and the case plug to the rear transfer case.

      Torque: 98.1 N.m (1000 kgf/cm, 72 ft.lbf) 

  38. INSTALL TRANSFER CASE BREATHER PLUG 
    1. GTY132038Courtesy of © TOYOTA, LICENSE AGREEMENT TMS1002

      Using SST and a hammer, install the transfer case breather plug to the front transfer case.

      • SST: 09350-30020 
        1. 09350-07110
      NOTE:

      Securely install so that it contacts the end of the rear transfer case.

  39. INSTALL TRANSFER DRAIN PLUG 
    1. Using a 10 mm hexagon socket wrench, install a new transfer drain plug gasket and the drain plug to the rear transfer case.
      GTY257315Courtesy of © TOYOTA, LICENSE AGREEMENT TMS1002

      Torque: 49 N.m (500 kgf/cm, 36 ft.lbf) 

  40. INSTALL TRANSFER FILLER PLUG 
    1. GTY257316Courtesy of © TOYOTA, LICENSE AGREEMENT TMS1002

      Using a 10 mm hexagon socket wrench, install a new filler plug gasket and the filler plug to the rear transfer case.

      Torque: 49 N.m (500 kgf/cm, 36 ft.lbf) 

  41. INSTALL TRANSFER CASE PLUG 
    1. GTY821334Courtesy of © TOYOTA, LICENSE AGREEMENT TMS1002
      *a Front Transfer Case Upper Side
      *b Front Transfer Case Lower Side

      Using a 6 mm hexagon socket wrench, install 2 new O-rings and the 2 transfer case plugs to the front transfer case.

      Torque: 19 N.m (194 kgf/cm, 14 ft.lbf)