LEMON Manuals: Even more car manuals for everyone
Home >> Lexus >> 2019 >> LC 500h >> Repair and Diagnosis >> Steering >> Steering Control Systems >> Steering Control System - Service Information >> Steering Actuator >> Installation [01/2017 - ] >> Procedure

Installation [01/2017 - ]: Procedure

  1. INSTALL STEERING SLIDING WITH SHAFT YOKE SUB-ASSEMBLY 
    1. Connect the steering sliding with shaft yoke sub-assembly to the steering actuator assembly.
      NOTE:

      Align the matchmarks on the steering sliding with shaft yoke sub-assembly and steering actuator assembly.

      GTY807218Courtesy of © TOYOTA, LICENSE AGREEMENT TMS1002
      *a matchmark
    2. Temporarily install the bolt.
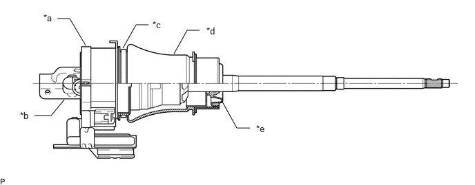
  2. HANDLING PRECAUTIONS FOR STEERING ACTUATOR ASSEMBLY 
    NOTE:
    • Make sure that the No. 2 seal lip and boot do not turn outward while carrying or installing the steering actuator assembly.
    • If installing a new steering actuator assembly, make sure that the spiral center lock pin is securely inserted.
    • Do not use the steering actuator assembly if it has been dropped.
    GTY800294Courtesy of © TOYOTA, LICENSE AGREEMENT TMS1002
    *a Spiral Case *b Sliding Yoke
    *c Actuator Clamp *d Boot
    *e No. 2 Seal Lip - -
  3. INSTALL STEERING ACTUATOR ASSEMBLY 
    1. If installing a new steering actuator assembly:
      1. Make sure that the front wheels are facing straight ahead.
        GTY822005Courtesy of © TOYOTA, LICENSE AGREEMENT TMS1002
        *a Center Lock Pin
        *b White Paint
      2. Install a new steering actuator assembly with the white paint on the surface of the spiral case facing downward.
        NOTE:

        Do not pull out the center lock pin.

    2. If reinstalling the removed steering actuator assembly:
      1. Make sure that the front wheels are facing straight ahead.
        GTY826070Courtesy of © TOYOTA, LICENSE AGREEMENT TMS1002
        *a Slit
        *b Alignment Mark
        *c Sliding Yoke
        *d White Paint
      2. Slowly turn the spiral case clockwise until it locks.
      3. Turn the spiral case two turns counterclockwise from the locked position.
      4. Align the slit of the sliding yoke with the alignment mark (←).
      5. Install the steering actuator assembly with the white paint on the surface of the spiral case facing downward.
      6. Align the matchmarks on the steering actuator assembly and the No. 1 steering column hole cover sub-assembly.
        NOTE:

        Do not turn the actuator body or spiral case.

        GTY802108Courtesy of © TOYOTA, LICENSE AGREEMENT TMS1002
        *a Matchmark
    3. Tighten the clamp.
    4. Connect the connector to the steering actuator assembly and move the lock as shown in the illustration.
      GTY784353Courtesy of © TOYOTA, LICENSE AGREEMENT TMS1002
    5. If installing a new steering actuator assembly:
      1. Pull out the center lock pin.
        GTY822004Courtesy of © TOYOTA, LICENSE AGREEMENT TMS1002
        *a Center Lock Pin
      2. Tighten the actuator clamp.
  4. CONNECT STEERING SLIDING WITH SHAFT YOKE SUB-ASSEMBLY 
    1. Install the steering sliding with shaft yoke sub-assembly to the rack and pinion power steering gear assembly.
      NOTE:

      Align the matchmarks on the steering sliding with shaft yoke sub-assembly and rack and pinion power steering gear assembly.

      GTY785001Courtesy of © TOYOTA, LICENSE AGREEMENT TMS1002
      *a Matchmark
    2. Install the bolt (B) and tighten the bolt (A).

      Torque: 35.3 N*m (360 kgf*cm, 26 ft.*lbf) 

      GTY811550Courtesy of © TOYOTA, LICENSE AGREEMENT TMS1002
  5. INSTALL STEERING COLUMN ASSEMBLY 

    Refer to INSTALLATION [01/2017 - 09/2018] , or refer to INSTALLATION [09/2018 - 05/2023] , or refer to INSTALLATION [05/2023 - ]

  6. PERFORM VARIABLE GEAR RATIO STEERING SYSTEM CALIBRATION 

    Refer to CALIBRATION [01/2017 - ]