LEMON Manuals: Even more car manuals for everyone
Home >> Lexus >> 2019 >> GS 350 Base, AWD >> Repair and Diagnosis >> Body & Frame >> Windows >> Power Window Control System - Diagnostics - Introduction >> Power Window Control System >> System Diagram [09/2014 - ] >> System Diagram [09/2014 - ]

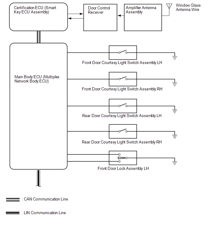
System Diagram [09/2014 - ]

GTY405740Courtesy of © TOYOTA, LICENSE AGREEMENT TMS1002
GTY678601Courtesy of © TOYOTA, LICENSE AGREEMENT TMS1002
COMMUNICATION TABLE

Transmitting ECU Receiving ECU Signal Communication Method
Multiplex network master switch assembly
  • Front power window regulator motor assembly LH
Power window auto up and down signal LIN
  • Front power window regulator motor assembly RH
  • Rear power window regulator motor assembly LH
  • Rear power window regulator motor assembly RH
Power window remote up and down signal LIN
Main body ECU (Multiplex network body ECU)
  • Front power window regulator motor assembly LH
  • Front power window regulator motor assembly RH
  • Rear power window regulator motor assembly LH
  • Rear power window regulator motor assembly RH
Power window operation permission signal LIN
Certification ECU (Smart key ECU assembly) Main body ECU (Multiplex network body ECU) Wireless power window up and down signal CAN