LEMON Manuals: Even more car manuals for everyone
Home >> Lexus >> 2019 >> ES 350 Base >> Repair and Diagnosis (Single Page) >> Electrical >> Fuses & Circuit Breakers >> OEM Junction Block, Ecu & Fuse/Relay Locations >> Relay Block Identification >> Engine Room Relay Block Assembly And Engine Room Junction Block Assembly No. 2 (A25A-FXS) - Front Fender Apron RH >> Engine Room Relay Block Assembly and Engine Room Junction Block No. 2 (A25A-FXS) Assembly Inner Circuit

Engine Room Relay Block Assembly and Engine Room Junction Block No. 2 (A25A-FXS) Assembly Inner Circuit

Fig 1: Engine Room R/B And J/B Assembly No. 2 (A25A-FXS) Circuit Diagram (1 Of 2)
G00586107Courtesy of © TOYOTA, LICENSE AGREEMENT TMS1002
ENGINE ROOM R/B AND J/B NO. 2 (A25A-FXS) INNER CIRCUIT RELAY IDENTIFICATION

RELAY DESCRIPTION
H-LP RH Relay
H-LP LH Relay
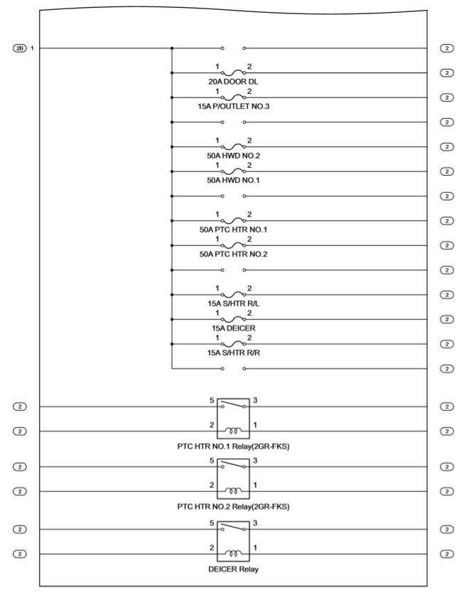
Fig 2: Engine Room R/B And J/B Assembly No. 2 (A25A-FXS) Circuit Diagram (2 Of 2)
G00586108Courtesy of © TOYOTA, LICENSE AGREEMENT TMS1002
ENGINE ROOM R/B AND J/B NO. 2 (A25A-FXS) INNER CIRCUIT RELAY IDENTIFICATION

RELAY DESCRIPTION
DEICER Relay