LEMON Manuals: Even more car manuals for everyone
Home >> Lexus >> 2018 >> LC 500 >> Repair and Diagnosis (Single Page) >> Accessories & Equipment >> Entertainment Systems >> LEXUS ENFORM System - Diagnostics - Introduction (Coupe) >> LEXUS ENFORM System >> System Description [03/2017 - 09/2018] >> System Description [03/2017 - 09/2018]

System Description [03/2017 - 09/2018]

  1. DESCRIPTION 
    • LEXUS ENFORM allows the vehicle to receive information from the call center and links the information to the navigation system. LEXUS ENFORM permits the driver to use the received information, such as destination information, on the navigation system.
    • LEXUS ENFORM provides the following services: Destination Assist, LEXUS App Suite, communication based voice recognition and Safety Connect. For details about Safety Connect, refer to Safety Connect System.

      Refer to SYSTEM DESCRIPTION [03/2017 - 04/2020]

    • LEXUS ENFORM consists mainly of a telephone microphone assembly, DCM (telematics transceiver), radio receiver assembly, navigation ECU, telephone antenna assembly, telephone and GPS antenna (navigation antenna assembly), stereo component amplifier assembly and front No. 2 speaker assembly RH.
  2. FUNCTION OF MAIN COMPONENTS 
    Component Outline
    Telephone Microphone Assembly Receives user's voice.
    DCM (Telematics Transceiver)
    • Sends and receives all types of information.
    • Connects to the call center when the Destination Assist service etc. are active.
    • The system connects to the TSL server when using Fleet Apps in the LEXUS App Suite, or when downloading Infotainment Apps to the head unit. (Refer to the following "Operating description for when using Infotainment Apps" for details)
    Radio Receiver Assembly Sends and receives the microphone voice signal.
    Navigation ECU Sends necessary information to the DCM (telematics transceiver) and LEXUS ENFORM.
    Telephone and GPS Antenna (Navigation Antenna Assembly) Telephone Antenna (Sub)
    • This antenna is for cellular phones. It supports reception of signals in frequency bands for cellular phones.
    • Receives signals from the call center or other phones.
    GPS Antenna Receives signals from GPS satellites and sends these signals to the DCM (telematics transceiver).
    Telephone Antenna Assembly Telephone Antenna (Main)
    • This antenna is for cellular phones. It supports transmission and reception of signals in frequency bands for cellular phones.
    • Sends signals from the DCM (telematics transceiver) and receives signals from the call center or other phones.
    Stereo Component Amplifier Assembly Sends the call center advisor's voice to the speaker.
    Speaker Outputs the call center advisor's voice.
  3. SERVICES FUNCTION 
    1. Destination Assist
      • Downloads the user's desired destination information into the navigation system after the call center is told the destination.
      • Stores the information downloaded in the navigation system so the information can be reused as required.
      • Destination Assist is an in-vehicle service that allows subscribers to request directions to any location. Subscribers are connected to an agent through the Destination Assist soft key and may ask the agent to download the location of any destination to the navigation system in the vehicle. Agents are able to locate specific Points Of Interest (POI's) by search terms, locate specific addresses, or provide Zagat-rated restaurants as premium POI's. Agents are able to search for POI's using the distance from the vehicle, from a city, or from another POI. The vehicle device can store up to 5 POI's at a time, which can be added to the device queue as the first or last entry, or as a replacement for all entries.
    2. LEXUS App Suite
      • The LEXUS App Suite is a function that allows apps installed to cellular phones or the head unit to be displayed and operated on the multi-display screen.
      • The supported apps are differentiated by Fleet Apps (communication apps) and Infotainment Apps (information and entertainment apps).
      • It is necessary to connect a cellular phone to the radio receiver assembly via "Bluetooth" when using Infotainment Apps. A "Bluetooth" connection is required for connecting cellular phones to the radio receiver assembly. For details regarding LEXUS App Suite operations, each of the applications and compatible phones, refer to http://www.lexus.com/MobileLink/.
      1. Operating description for when using Fleet Apps:

        Fleet Apps are installed to the radio receiver assembly and communicate with the TSL server through the DCM (telematics transceiver). In addition, communication is performed through the DCM (telematics transceiver) when downloading Fleet Apps.

        GTY807279Courtesy of © TOYOTA, LICENSE AGREEMENT TMS1002
        *1 Radio Receiver Assembly *2 DCM (Telematics Transceiver)
        *a Example *b Fleet App
        *c TSL Server - -
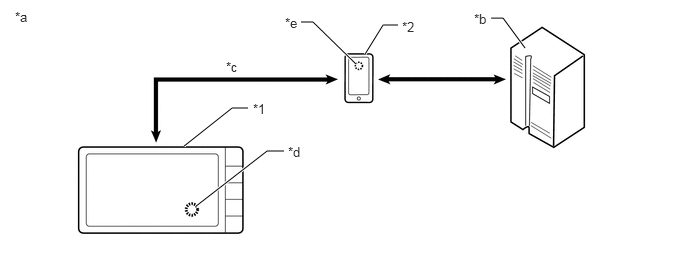
      2. Operating description for when using Infotainment Apps:

        Infotainment Apps are installed to the radio receiver assembly and communication is performed through the TSL server for radio receiver assembly and cellular phones connected via "Bluetooth" connection ("Bluetooth" connection required). In this case, a bridge is performed between the head unit and cellular phone through the Companion App installed to the cellular phone. In addition, communication is performed through the DCM (telematics transceiver) and cellular phones connected through "Bluetooth" when downloading Infotainment Apps.

        GTY814799Courtesy of © TOYOTA, LICENSE AGREEMENT TMS1002
        *1 Radio Receiver Assembly *2 Cellular Phone
        *a Example *b TSL Server
        *c "Bluetooth" connection ("Bluetooth" connection required) *d Infotainment App
        *e Companion App (App for performing bridge through the head unit and cellular phones) - -