LEMON Manuals: Even more car manuals for everyone
Home >> Lexus >> 2017 >> RX 350 Base, AWD >> Repair and Diagnosis >> Engine Performance >> System >> Engine Control System - Diagnostic Codes & Symptom Tests >> SFI System >> Symptom Tests >> Active Control Engine Mount System [09/2015 - ] >> Procedure

Active Control Engine Mount System [09/2015 - ]: Procedure

  1. CHECK VACUUM HOSES 
    1. Check the air and vacuum hoses for looseness, disconnection and blockage.
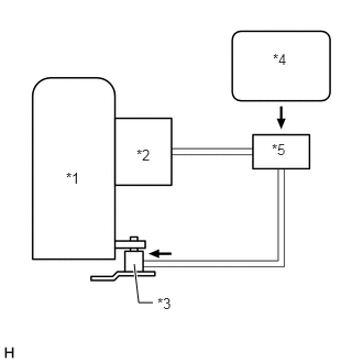
      GTY685293Courtesy of © TOYOTA, LICENSE AGREEMENT TMS1002
      *1 Engine
      *2 Intake Air Surge Tank Assembly
      *3 Front Engine Mounting Insulator
      *4 ECM
      *5 No. 2 Vacuum Switching Valve Assembly (for Active Control Engine Mount)

      OK

      No looseness, disconnection or blockage.

      Result

      Proceed to
      OK
      NG

    Result: 

    NG 

    REPAIR OR REPLACE VACUUM HOSES 

    Result: 

    OK 

    See step  2

  2. CHECK VACUUM 
    1. Disconnect the vacuum hose from the intake air surge tank assembly.
      GTY628262Courtesy of © TOYOTA, LICENSE AGREEMENT TMS1002
    2. Start the engine.
    3. Check that the disconnected port located on the intake air surge tank assembly applies suction to your finger.

      OK

      Vacuum exists.

      Result

      Proceed to
      OK
      NG

    Result: 

    NG 

    CHECK AND REPLACE VACUUM SOURCE AND HOSES 

    Result: 

    OK 

    See step  3

  3. INSPECT NO. 2 VACUUM SWITCHING VALVE ASSEMBLY (FOR ACTIVE CONTROL ENGINE MOUNT) (OPERATION) 
    1. Inspect the No. 2 vacuum switching valve assembly (for active control engine mount) operation.

      Refer to INSPECTION [09/2015 - ]

      Result

      Proceed to
      OK
      NG

    Result: 

    NG 

    REPLACE NO. 2 VACUUM SWITCHING VALVE ASSEMBLY (FOR ACTIVE CONTROL ENGINE MOUNT). Refer to  REMOVAL [09/2015 - ] 

    Result: 

    OK 

    See step  4

  4. INSPECT NO. 2 VACUUM SWITCHING VALVE ASSEMBLY (FOR ACTIVE CONTROL ENGINE MOUNT) (RESISTANCE) 
    1. Inspect the No. 2 vacuum switching valve assembly (for active control engine mount) resistance.

      Refer to INSPECTION [09/2015 - ]

      Result

      Proceed to
      OK
      NG

    Result: 

    NG 

    REPLACE NO. 2 VACUUM SWITCHING VALVE ASSEMBLY (FOR ACTIVE CONTROL ENGINE MOUNT). Refer to  REMOVAL [09/2015 - ] 

    Result: 

    OK 

    See step  5

  5. INSPECT FRONT ENGINE MOUNTING INSULATOR 
    1. Inspect the front engine mounting insulator.

      Refer to ON-VEHICLE INSPECTION [09/2015 - ]

      Result

      Proceed to
      OK
      NG

    Result: 

    NG 

    REPLACE FRONT ENGINE MOUNTING INSULATOR. Refer to  REMOVAL [09/2015 - 08/2016]  , or refer to  REMOVAL [08/2016 - 08/2019]  , or refer to  REMOVAL [08/2019 - ] 

    Result: 

    OK 

    See step  6

  6. CHECK TERMINAL VOLTAGE (POWER SOURCE OF NO. 2 VACUUM SWITCHING VALVE ASSEMBLY (FOR ACTIVE CONTROL ENGINE MOUNT)) 
    GTY671857Courtesy of © TOYOTA, LICENSE AGREEMENT TMS1002
    *a Front view of wire harness connector
    (to No. 2 Vacuum Switching Valve Assembly (for Active Control Engine Mount))
    1. Disconnect the No. 2 vacuum switching valve assembly (for active control engine mount) connector.
    2. Turn the engine switch on (IG).
    3. Measure the voltage according to the value(s) in the table below.

      Standard Voltage

      Tester Connection Condition Specified Condition
      D10-1 - Body ground Engine switch on (IG) 11 to 14 V

      Result

      Proceed to
      OK
      NG

    Result: 

    NG 

    See step  8

    Result: 

    OK 

    See step  7

  7. CHECK HARNESS AND CONNECTOR (NO. 2 VACUUM SWITCHING VALVE ASSEMBLY (FOR ACTIVE CONTROL ENGINE MOUNT) - ECM) 
    1. Disconnect the No. 2 vacuum switching valve assembly (for active control engine mount) connector.
    2. Disconnect the ECM connector.
    3. Measure the resistance according to the value(s) in the table below.

      Standard Resistance

      Tester Connection Condition Specified Condition
      D10-2 - D2-39 (ACM) Always Below 1 Ω
      D10-2 or D2-39 (ACM) - Body ground and other terminals Always 10 kΩ or higher

      Result

      Proceed to
      OK
      NG

    Result: 

    OK 

    REPLACE ECM. Refer to  REMOVAL [09/2015 - 08/2016]  , or refer to  REMOVAL [08/2016 - 08/2019]  , or refer to  REMOVAL [08/2019 - ] 

    Result: 

    NG 

    REPAIR OR REPLACE HARNESS OR CONNECTOR 

  8. CHECK HARNESS AND CONNECTOR (SEMICONDUCTOR PWR INTEGRATION ECU - NO. 2 VACUUM SWITCHING VALVE ASSEMBLY (FOR ACTIVE CONTROL ENGINE MOUNT)) 
    1. Disconnect the semiconductor PWR integration ECU connector.
    2. Disconnect the No. 2 vacuum switching valve assembly (for active control engine mount) connector.
    3. Measure the resistance according to the value(s) in the table below.

      Standard Resistance

      Tester Connection Condition Specified Condition
      1G-1 - D10-1 Always Below 1 Ω
      1G-1 or D10-1 - Body ground and other terminals Always 10 kΩ or higher

      Result

      Proceed to
      OK
      NG

    Result: 

    OK 

    GO TO ECM POWER SOURCE CIRCUIT. Refer to  ECM Power Source Circuit [09/2015 - ]  

    Result: 

    NG 

    REPAIR OR REPLACE HARNESS OR CONNECTOR