LEMON Manuals: Even more car manuals for everyone
Home >> Lexus >> 2017 >> RC 350 Base, AWD >> Repair and Diagnosis >> Transmission >> Transfer Case >> Transfer Case System - Service Information >> Transfer Assembly >> Inspection [09/2014 - ] >> Procedure

Inspection [09/2014 - ]: Procedure

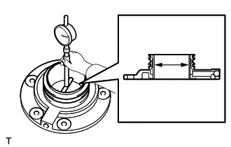
  1. INSPECT CENTER DIFFERENTIAL CARRIER ASSEMBLY 
    1. Using a feeler gauge, measure the center differential carrier pinion gear thrust clearance.
      GTY106929Courtesy of © TOYOTA, LICENSE AGREEMENT TMS1002

      Standard Clearance

      0.2 to 0.5 mm (0.00788 to 0.0197 in.)

      If the clearance is not as specified, replace the center differential carrier assembly.

  2. INSPECT CENTER DIFFERENTIAL CLUTCH DISC SET 
    1. Check that the contact surfaces of the center differential clutch discs and center differential clutch disc flanges are not worn or burnt. If necessary, replace them.
      GTY459997Courtesy of © TOYOTA, LICENSE AGREEMENT TMS1002
      NOTE:
      • If the lining of any center differential clutch disc is peeling or discolored, or if any part of the printed numbers is damaged, replace all center differential clutch discs.
      • Before installing new center differential clutch discs, soak them in ATF for at least 15 minutes.

      ATF

      Toyota Genuine ATF WS

  3. INSPECT TRANSFER DIRECT CLUTCH RETURN SPRING ASSEMBLY 
    1. Using a vernier caliper, measure the free length of the spring together with the spring seat.
      GTY103992Courtesy of © TOYOTA, LICENSE AGREEMENT TMS1002

      Standard Free Length

      15.5 mm (0.610 in.)

      If the free length is not as specified, replace the transfer direct clutch return spring assembly.

  4. INSPECT TRANSFER DIRECT CLUTCH DRUM SUB-ASSEMBLY 
    1. Using a cylinder gauge, measure the inside diameter of the transfer direct clutch drum sub-assembly.
      GTY106930Courtesy of © TOYOTA, LICENSE AGREEMENT TMS1002

      Standard Inside Diameter

      65.0 to 65.06 mm (2.55905 to 2.56141 in.)

      If the inside diameter is not as specified, replace the transfer direct clutch drum sub-assembly.

  5. INSPECT TRANSFER CENTER SUPPORT ASSEMBLY 
    1. Using a cylinder gauge, measure the inside diameter of the transfer center support assembly.
      GTY106931Courtesy of © TOYOTA, LICENSE AGREEMENT TMS1002

      Standard Inside Diameter

      49.9 to 50.1 mm (1.96456 to 1.97244 in.)

      If the inside diameter is not as specified, replace the transfer center support assembly.