LEMON Manuals: Even more car manuals for everyone
Home >> Lexus >> 2017 >> RC 350 Base, AWD >> Repair and Diagnosis >> Transmission >> Transfer Case >> Transfer Case System - Service Information >> Transfer Assembly >> Disassembly [09/2014 - ] >> Procedure

Disassembly [09/2014 - ]: Procedure

  1. REMOVE TRANSFER OIL PAN SUB-ASSEMBLY 
    1. Remove the 9 bolts from the transfer case sub-assembly.
      GTY462198Courtesy of © TOYOTA, LICENSE AGREEMENT TMS1002
    2. Insert the blade of an oil pan seal cutter between the transfer oil pan sub-assembly and transfer case sub-assembly. Cut through the sealer and remove the transfer oil pan sub-assembly.
      GTY418312Courtesy of © TOYOTA, LICENSE AGREEMENT TMS1002
      NOTE:

      Do not damage the contact surface of the transfer oil pan sub-assembly.

    3. Remove the transfer oil cleaner magnet from the transfer oil pan sub-assembly.
      NOTE:
      • Clean the inside of the transfer oil pan sub-assembly thoroughly. Remove all metal shavings, sludge and any other foreign objects.
      • Remove any metal shavings from the transfer oil cleaner magnet.
      GTY466192Courtesy of © TOYOTA, LICENSE AGREEMENT TMS1002
      *1 Transfer Oil Cleaner Magnet
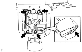
  2. REMOVE TRANSFER CONTROL VALVE BODY ASSEMBLY 
    1. Remove the 4 bolts from the transfer control valve body assembly.
      GTY503571Courtesy of © TOYOTA, LICENSE AGREEMENT TMS1002
    2. Disconnect the transfer control solenoid assembly connector and remove the transfer control valve body assembly from the transfer case sub-assembly.
  3. REMOVE TRANSFER CONTROL SOLENOID ASSEMBLY 

    See step  9

  4. REMOVE TRANSFER TRANSMISSION WIRE 
    1. Remove the bolt and transfer transmission wire from the transfer case sub-assembly.
      GTY462191Courtesy of © TOYOTA, LICENSE AGREEMENT TMS1002
  5. REMOVE TRANSFER EXTENSION HOUSING DUST DEFLECTOR 
    1. Using SST, remove the transfer extension housing dust deflector from the transfer case sub-assembly.
      GTY460115Courtesy of © TOYOTA, LICENSE AGREEMENT TMS1002
      *a Turn
      *b Hold
      • SST: 09950-40011 
        1. 09951-04010
        2. 09952-04010
        3. 09953-04020
        4. 09954-04010
        5. 09955-04051
        6. 09958-04011
      NOTE:

      Apply molybdenum grease to the threads and tip of the SST center bolt before use.

  6. REMOVE TRANSFER CASE SUB-ASSEMBLY 
    1. Remove the 8 bolts and clamp from the transfer case sub-assembly.
      GTY518527Courtesy of © TOYOTA, LICENSE AGREEMENT TMS1002
      *a Clamp
    2. Using a plastic hammer, tap the transfer case sub-assembly to remove it.
      GTY101647Courtesy of © TOYOTA, LICENSE AGREEMENT TMS1002
    3. Remove the bolt and clamp from the transfer case sub-assembly.
      GTY505950Courtesy of © TOYOTA, LICENSE AGREEMENT TMS1002
      *a Clamp
  7. REMOVE TRANSFER REAR OUTPUT SHAFT ASSEMBLY 
    1. Remove the transfer rear output shaft assembly from the transfer rear chain case assembly.
      GTY462188Courtesy of © TOYOTA, LICENSE AGREEMENT TMS1002
  8. REMOVE FLANGE YOKE ASSEMBLY 
    1. Using SST and a hammer, release the staked part of the flange yoke nut.
      GTY517611Courtesy of © TOYOTA, LICENSE AGREEMENT TMS1002
      • SST: 09930-00010 
      NOTE:
      • Be sure to use SST with the tapered end facing the shaft.
      • Do not grind the tip of SST with a grinder, etc.
      • Completely loosen the staked part of the flange yoke nut before removing it.
      • Do not damage the threads of the transfer drive sprocket.
    2. Install a 30 mm socket wrench, extension bar and SST to the flange yoke assembly as shown in the illustration.
      GTY515215Courtesy of © TOYOTA, LICENSE AGREEMENT TMS1002
      *1 Flange Yoke Assembly
      • SST: 09213-54015 
        1. 91651-60855
      NOTE:

      When securing SST and flange yoke assembly, it is recommended to use M8 X P1.25 bolts with a length of approximately 55 mm.

    3. Using SST, hold the flange yoke assembly.
      GTY466335Courtesy of © TOYOTA, LICENSE AGREEMENT TMS1002
      *a Turn
      *b Hold
      • SST: 09330-00021 
    4. Using a 30 mm socket wrench, remove the flange yoke nut from the transfer front driven clutch sleeve sub-assembly.
    5. Remove the flange yoke assembly from the transfer front driven clutch sleeve sub-assembly.
  9. REMOVE TRANSFER REAR CHAIN CASE ASSEMBLY 
    1. Remove the 10 bolts from the transfer rear chain case assembly.
      GTY106751Courtesy of © TOYOTA, LICENSE AGREEMENT TMS1002
    2. Using a brass bar and a hammer, gently tap the 3 protrusions of the transfer rear chain case assembly to loosen and remove it.
      GTY402897Courtesy of © TOYOTA, LICENSE AGREEMENT TMS1002
      NOTE:

      Do not damage the transfer rear chain case assembly.

  10. REMOVE TRANSFER FRONT DRIVE CHAIN, TRANSFER DRIVE SPROCKET SUB-ASSEMBLY AND TRANSFER FRONT DRIVEN CLUTCH SLEEVE SUB-ASSEMBLY 
    1. Remove the transfer front drive chain, transfer drive sprocket sub-assembly and transfer front driven clutch sleeve sub-assembly from the transfer front chain case.
      GTY503878Courtesy of © TOYOTA, LICENSE AGREEMENT TMS1002
      *1 Transfer Front Drive Chain
      *2 Transfer Drive Sprocket Sub-assembly
      *3 Transfer Front Driven Clutch Sleeve Sub-assembly
    2. Remove the transfer front drive chain from the transfer drive sprocket sub-assembly and transfer front driven clutch sleeve sub-assembly.
  11. REMOVE TRANSFER FRONT CHAIN CASE 
    1. Remove the 6 bolts and transfer front chain case from the automatic transmission assembly.
      GTY106755Courtesy of © TOYOTA, LICENSE AGREEMENT TMS1002

      HINT: 

      If necessary, tap the transfer front chain case with a plastic hammer to loosen and remove it.

  12. REMOVE TRANSFER CASE OIL SEAL 
    1. Using a screwdriver, pry out the transfer case oil seal from the transfer case sub-assembly.
      GTY498422Courtesy of © TOYOTA, LICENSE AGREEMENT TMS1002
      *a Protective Tape

      HINT: 

      Tape the screwdriver tip before use.

  13. REMOVE TRANSFER CASE BEARING 
    1. Using SST, remove the transfer case bearing from the transfer case sub-assembly.
      GTY463969Courtesy of © TOYOTA, LICENSE AGREEMENT TMS1002
      • SST: 09308-00010 
  14. REMOVE TRANSFER BAFFLE VALVE SUB-ASSEMBLY 
    1. Remove the bolt and transfer baffle valve sub-assembly from the transfer rear chain case assembly.
      GTY462324Courtesy of © TOYOTA, LICENSE AGREEMENT TMS1002
  15. REMOVE TRANSFER CHAIN CASE GOVERNOR APPLY GASKET 
    1. Remove the screw and 2 transfer chain case governor apply gaskets from the transfer front chain case.
      GTY500696Courtesy of © TOYOTA, LICENSE AGREEMENT TMS1002
      *A for Front Side
      *B for Rear Side
      *1 Transfer Chain Case Governor Apply Gasket
      *2 O-ring
      *a Screw
    2. Remove the O-ring from the screw.
    3. Remove the 2 transfer chain case governor apply gaskets from the transfer rear chain case assembly.
      GTY466478Courtesy of © TOYOTA, LICENSE AGREEMENT TMS1002
  16. REMOVE TRANSFER CHAIN CASE OIL SEAL 
    1. Using a screwdriver, pry out the transfer chain case oil seal from the transfer front chain case.
      GTY495598Courtesy of © TOYOTA, LICENSE AGREEMENT TMS1002
      *a Protective Tape

      HINT: 

      Tape the screwdriver tip before use.

  17. REMOVE TRANSFER REAR OUTPUT SHAFT ASSEMBLY AND CENTER DIFFERENTIAL CARRIER ASSEMBLY 
    1. Remove the transfer rear output shaft assembly and center differential carrier assembly from the transfer direct clutch drum sub-assembly.
      GTY459035Courtesy of © TOYOTA, LICENSE AGREEMENT TMS1002
      *1 Transfer Rear Output Shaft Assembly
      *2 Center Differential Carrier Assembly
      *3 Transfer Direct Clutch Drum Sub-assembly
  18. REMOVE TRANSFER REAR OUTPUT SHAFT BEARING 
    1. Remove the transfer rear output shaft bearing from the center differential carrier assembly.
      GTY402033Courtesy of © TOYOTA, LICENSE AGREEMENT TMS1002
  19. REMOVE CENTER DIFFERENTIAL CLUTCH DISC SET 
    1. Using a screwdriver, remove the transfer direct clutch flange snap ring from the transfer direct clutch drum sub-assembly.
      GTY512927Courtesy of © TOYOTA, LICENSE AGREEMENT TMS1002
      *a Protective Tape

      HINT: 

      Tape the screwdriver tip before use.

    2. Remove the center differential clutch disc flange (No. 1), center differential clutch disc set (disc), center differential clutch disc set (plate) and center differential clutch disc flange (No. 2) from the transfer direct clutch drum sub-assembly.
      GTY459714Courtesy of © TOYOTA, LICENSE AGREEMENT TMS1002
      *1 Center Differential Clutch Disc Flange (No. 1)
      *2 Center Differential Clutch Disc Set (Disc)
      *3 Center Differential Clutch Disc Set (Plate)
      *4 Center Differential Clutch Disc Flange (No. 2)
  20. REMOVE CENTER DIFFERENTIAL CLUTCH PRESSURE BALANCER 
    1. Place SST on the center differential clutch pressure balancer and compress the transfer direct clutch return spring assembly with a press.
      GTY498279Courtesy of © TOYOTA, LICENSE AGREEMENT TMS1002
      *1 Transfer Direct Clutch Return Spring Snap Ring
      • SST: 09350-30020 
        1. 09350-07040
    2. Using SST, remove the transfer direct clutch return spring snap ring from the transfer direct clutch drum sub-assembly.
      • SST: 09350-30020 
        1. 09350-07040
        2. 09350-07070
    3. Remove the center differential clutch pressure balancer from the transfer direct clutch drum sub-assembly.
      GTY102886Courtesy of © TOYOTA, LICENSE AGREEMENT TMS1002
  21. REMOVE TRANSFER DIRECT CLUTCH RETURN SPRING ASSEMBLY 
    1. Remove the transfer direct clutch return spring assembly from the transfer direct clutch drum sub-assembly.
      GTY463420Courtesy of © TOYOTA, LICENSE AGREEMENT TMS1002
  22. REMOVE CENTER DIFFERENTIAL CLUTCH PISTON 
    1. Install the transfer direct clutch drum sub-assembly to the transfer center support assembly.
      GTY463126Courtesy of © TOYOTA, LICENSE AGREEMENT TMS1002
      *1 Transfer Direct Clutch Drum Sub-assembly
      *2 Transfer Center Support Assembly
    2. While pushing down evenly on the center differential clutch piston, apply compressed air (200 kPa 2.0 kgf/cm2 , 29 psi) to the oil hole of the transfer rear chain case assembly as shown in the illustration to remove the center differential clutch piston from the transfer direct clutch drum sub-assembly.
      GTY521277Courtesy of © TOYOTA, LICENSE AGREEMENT TMS1002
      *1 Center Differential Clutch Piston
      *a Oil Hole
    3. Remove the transfer direct clutch drum sub-assembly from the transfer center support assembly.
  23. REMOVE TRANSFER DIRECT CLUTCH PISTON O-RING 
    1. Remove the 2 transfer direct clutch piston O-rings from the center differential clutch piston.
      GTY459796Courtesy of © TOYOTA, LICENSE AGREEMENT TMS1002
      *1 Transfer Direct Clutch Piston O-ring
  24. REMOVE TRANSFER CENTER SUPPORT ASSEMBLY 
    1. Remove the 5 bolts and transfer center support assembly from the transfer rear chain case assembly.
      GTY470809Courtesy of © TOYOTA, LICENSE AGREEMENT TMS1002
    2. Remove the 2 screws and 2 O-rings from the transfer rear chain case assembly.
  25. REMOVE TRANSFER CENTER SUPPORT SEAL RING 
    1. Remove the 2 transfer center support seal rings from the transfer center support assembly.
      GTY467515Courtesy of © TOYOTA, LICENSE AGREEMENT TMS1002
      *1 Transfer Center Support Seal Ring
  26. REMOVE TRANSFER DRIVEN SPROCKET BEARING 
    1. Using SST and a press, remove the transfer driven sprocket bearing from the transfer driven sprocket.
      GTY514498Courtesy of © TOYOTA, LICENSE AGREEMENT TMS1002
      *1 Transfer Driven Sprocket Bearing
      • SST: 09950-00020 
    2. Using SST and a press, remove the transfer driven sprocket bearing from the transfer driven sprocket.
      GTY520322Courtesy of © TOYOTA, LICENSE AGREEMENT TMS1002
      *1 Transfer Driven Sprocket Bearing
      • SST: 09950-00020 
      • SST: 09950-60010 
        1. 09951-00530
      • SST: 09950-70010 
        1. 09951-07100
  27. REMOVE TRANSFER DRIVE SPROCKET BEARING 
    1. Using SST and a press, remove the transfer drive sprocket bearing from the transfer drive sprocket.
      GTY496907Courtesy of © TOYOTA, LICENSE AGREEMENT TMS1002
      *1 Transfer Drive Sprocket Bearing
      • SST: 09950-00020 
      • SST: 09950-60010 
        1. 09951-00480
      • SST: 09950-70010 
        1. 09951-07100
    2. Using SST and a press, remove the transfer drive sprocket bearing from the transfer drive sprocket.
      GTY514018Courtesy of © TOYOTA, LICENSE AGREEMENT TMS1002
      *1 Transfer Drive Sprocket Bearing
      • SST: 09950-00020 
      • SST: 09950-60010 
        1. 09951-00530
      • SST: 09950-70010 
        1. 09951-07100