LEMON Manuals: Even more car manuals for everyone
Home >> Lexus >> 2017 >> RC 200t Base >> Repair and Diagnosis (Single Page) >> Steering >> Steering Column >> Steering Column - Service Information >> Steering Column Assembly >> Removal [09/2014 - ] >> Procedure

Removal [09/2014 - ]: Procedure

  1. PRECAUTION 

    Refer to PRECAUTION [09/2014 - ]

  2. CHANGE POWER TILT AND POWER TELESCOPIC STEERING COLUMN SYSTEM SETTINGS (for Power Tilt and Power Telescopic Steering Column) 
    1. Disable the auto tilt away function by changing the customize settings.

      Refer to CUSTOMIZE PARAMETERS [09/2014 - ]

      NOTE:

      Record the current customize setting (whether the auto tilt away function is enabled or disabled) in order to restore the current setting after finishing the operation.

      HINT: 

      Performing the above operation causes the auto tilt away function to be disabled when the engine switch is turned off.

    2. Turn the engine switch on (IG). Operate the tilt and telescopic switch to fully extend and lower the steering column assembly.
  3. ALIGN FRONT WHEELS FACING STRAIGHT AHEAD 
  4. REMOVE HORN BUTTON ASSEMBLY 

    Refer to REMOVAL [09/2014 - ]

  5. REMOVE STEERING WHEEL ASSEMBLY 

    See step  3 [09/2014 - 11/2017], or see step  3 [11/2017 - ]

  6. REMOVE STEERING COLUMN COVER 
    1. for Manual Tilt and Manual Telescopic Steering Column:
      1. GTY504616Courtesy of © TOYOTA, LICENSE AGREEMENT TMS1002

        Remove the 2 screws.

      2. GTY504617Courtesy of © TOYOTA, LICENSE AGREEMENT TMS1002

        Disengage the 2 claws.

      3. GTY504618Courtesy of © TOYOTA, LICENSE AGREEMENT TMS1002

        Disengage the claw and remove the steering column cover (lower).

    2. for Power Tilt and Power Telescopic Steering Column:
      1. GTY504614Courtesy of © TOYOTA, LICENSE AGREEMENT TMS1002

        Remove the 3 screws.

      2. GTY519061Courtesy of © TOYOTA, LICENSE AGREEMENT TMS1002

        Disengage the 2 claws and remove the steering column cover (lower).

    3. Disengage the 6 clips from the steering column cover (upper).
      GTY504621Courtesy of © TOYOTA, LICENSE AGREEMENT TMS1002
    4. GTY519058Courtesy of © TOYOTA, LICENSE AGREEMENT TMS1002

      Disengage the 2 claws and remove the steering column cover (upper).

  7. REMOVE TURN SIGNAL SWITCH ASSEMBLY WITH SPIRAL CABLE SUB-ASSEMBLY 
    NOTE:
    • Do not replace the spiral cable with sensor sub-assembly with the battery connected and the engine switch on (IG).
    • Do not rotate the spiral cable with sensor sub-assembly without the steering wheel assembly installed, with the battery connected and the engine switch on (IG).
    • Ensure that the steering wheel assembly is installed and aligned straight when inspecting the steering sensor.
    1. Disconnect each connector from the turn signal switch assembly with spiral cable sub-assembly.
    2. Disengage the 3 claws to remove the turn signal switch assembly with spiral cable sub-assembly from the steering column assembly.
      GTY504600Courtesy of © TOYOTA, LICENSE AGREEMENT TMS1002
  8. REMOVE LOWER NO. 1 INSTRUMENT PANEL AIRBAG ASSEMBLY 

    Refer to REMOVAL [09/2014 - 10/2022] , or refer to REMOVAL [10/2022 - ]

  9. REMOVE NO. 1 AIR DUCT SUB-ASSEMBLY 
    1. Remove the bolt and No. 1 air duct sub-assembly.
      GTY504796Courtesy of © TOYOTA, LICENSE AGREEMENT TMS1002
  10. REMOVE STEERING COLUMN ASSEMBLY 
    1. w/o VGRS:
      1. GTY502235Courtesy of © TOYOTA, LICENSE AGREEMENT TMS1002
        *a Matchmark

        Put matchmarks on the No. 2 steering intermediate shaft assembly and steering column assembly.

      2. Remove the bolt.
      3. Remove the brake pedal return spring from the steering column assembly and push rod pin.
    2. w/ VGRS:
      1. GTY501264Courtesy of © TOYOTA, LICENSE AGREEMENT TMS1002
        *a Matchmark

        Put matchmarks on the steering actuator assembly and steering column assembly.

      2. Remove the bolt.
      3. Remove the brake pedal return spring from the steering column assembly and push rod pin.
    3. Disconnect each connector and disengage each wire harness clamp from the steering column assembly.
    4. for Manual Tilt and Manual Telescopic Steering Column:
      1. Remove the 4 nuts and steering column assembly.
        GTY504800Courtesy of © TOYOTA, LICENSE AGREEMENT TMS1002
    5. for Power Tilt and Power Telescopic Steering Column:
      GTY504802Courtesy of © TOYOTA, LICENSE AGREEMENT TMS1002
      1. Remove the 4 nuts and steering column assembly.
    6. w/o VGRS:
      1. Separate the steering column assembly from the No. 2 steering intermediate shaft assembly.
    7. w/ VGRS:
      1. Separate the steering column assembly from the steering actuator assembly.
  11. REMOVE FRONT WHEEL LH (for AWD) 

    Refer to PROCEDURE - Step 1 [09/2014 - 10/2022] , or refer to PROCEDURE - Step 1 [10/2022 - ]

  12. REMOVE NO. 2 STEERING INTERMEDIATE SHAFT ASSEMBLY (w/o VGRS) 
    1. for 2WD:
      1. Loosen the clamp.
        GTY504596Courtesy of © TOYOTA, LICENSE AGREEMENT TMS1002
      2. Loosen the bolt (A).
        NOTE:

        Do not remove the bolt (A).

        GTY519037Courtesy of © TOYOTA, LICENSE AGREEMENT TMS1002
      3. Remove the bolt (B).
      4. GTY511316Courtesy of © TOYOTA, LICENSE AGREEMENT TMS1002
        *a Matchmark

        Slide the steering sliding yoke sub-assembly and put matchmarks on the steering sliding yoke sub-assembly and power steering link assembly.

      5. Separate the steering sliding yoke sub-assembly from the power steering link assembly.
      6. Remove the steering sliding yoke sub-assembly with the No. 2 steering intermediate shaft assembly from the vehicle.
    2. for AWD:
      1. GTY504797Courtesy of © TOYOTA, LICENSE AGREEMENT TMS1002

        Loosen the clamp.

      2. GTY519103Courtesy of © TOYOTA, LICENSE AGREEMENT TMS1002

        Remove the bolt.

      3. GTY495655Courtesy of © TOYOTA, LICENSE AGREEMENT TMS1002
        *a Matchmark

        Slide the No. 2 steering intermediate shaft assembly and put matchmarks on the No. 2 steering intermediate shaft assembly and power steering link assembly.

      4. Separate the No. 2 steering intermediate shaft assembly from the power steering link assembly.
      5. Remove the No. 2 steering intermediate shaft assembly from the vehicle.
  13. REMOVE LOWER MAIN SHAFT DUST COVER (w/ VGRS) 

    Refer to PROCEDURE - Step 3

  14. REMOVE STEERING ACTUATOR ASSEMBLY (w/ VGRS) 

    Refer to PROCEDURE - Step 4

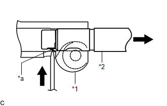
  15. REMOVE STEERING SLIDING YOKE SUB-ASSEMBLY (for 2WD) 
    1. w/o VGRS:
      1. Put matchmarks on the steering sliding yoke sub-assembly and No. 2 steering intermediate shaft assembly.
        GTY496195Courtesy of © TOYOTA, LICENSE AGREEMENT TMS1002
        *a Matchmark
      2. Remove the bolt.
      3. Using a screwdriver, disengage the claw and remove the steering sliding yoke sub-assembly from the No. 2 steering intermediate shaft assembly.

        HINT: 

        Even if the claw is broken, the No. 2 steering intermediate shaft assembly can be reused if the claw is removed.

        GTY470115Courtesy of © TOYOTA, LICENSE AGREEMENT TMS1002
        *1 Steering Sliding Yoke Sub-assembly
        *2 No. 2 Steering Intermediate Shaft Assembly
        *a Claw
    2. w/ VGRS:
      1. GTY511762Courtesy of © TOYOTA, LICENSE AGREEMENT TMS1002
        *a Matchmark

        Put matchmarks on the steering sliding yoke sub-assembly and steering actuator assembly.

      2. Remove the bolt and steering sliding yoke sub-assembly.