LEMON Manuals: Even more car manuals for everyone
Home >> Lexus >> 2017 >> LX 570 >> Repair and Diagnosis (Single Page) >> Accessories & Equipment >> Anti-Theft Systems >> Smart Access System (Keyless Entry) - Diagnostic Codes & Symptom Tests >> SMART ACCESS SYSTEM WITH PUSH-BUTTON START (for Entry Function) >> Room Oscillator does not Recognize Key [09/2015 - ] >> Procedure

Room Oscillator does not Recognize Key [09/2015 - ]: Procedure

  1. CHECK START OPERATION 
    1. Using another registered electrical key transmitter sub-assembly, check that the engine starts.
      RESULT

      Result Proceed to
      Engine can be started A
      Engine cannot be started B

    Result: 

    END (ELECTRICAL KEY TRANSMITTER SUB-ASSEMBLY WAS DEFECTIVE) 

    Result: 

    See step  2

  2. CHECK ENTRY LOCK OPERATION 
    1. Check that the entry lock and unlock functions operate on each door. Refer to OPERATION CHECK [09/2015 - ] .

      HINT: 

      If the door control receiver is defective, code verification does not begin in the cabin and the entry lock and unlock functions do not operate.

      RESULT

      Result Proceed to
      All door entry functions operate normally (w/ Wireless Charging System) A
      All door entry functions operate normally (w/o Wireless Charging System) B
      All door entry functions does not operate normally C

    Result: 

    See step  4

    Result: 

    GO TO OTHER PROBLEM 

    Refer to PROBLEM SYMPTOMS TABLE [09/2015 - ] )

    Result: 

    See step  3

  3. CHECK WIRELESS CHARGING SYSTEM 
    1. Wireless charging system off. Refer to OPERATION CHECK [09/2015 - ] .
    2. Check that interior certification is performed. Refer to OPERATION CHECK [09/2015 - ] .
      RESULT

      Result Proceed to
      Operate normally A
      Not operate normally B

    Result: 

    GO TO WIRELESS CHARGING SYSTEM 

    Refer to HOW TO PROCEED WITH TROUBLESHOOTING [09/2015 - ] )

    Result: 

    See step  4

  4. CHECK PUSH-BUTTON START FUNCTION 
    1. Remove the transmitter battery of the electrical key transmitter sub-assembly. Refer to REPLACEMENT [09/2015 - ] .
      GTY640388Courtesy of © TOYOTA, LICENSE AGREEMENT TMS1002
    2. With the brake pedal depressed, face the logo side of the electrical key transmitter sub-assembly towards the engine switch, hold the transmitter near the engine switch and then press the engine switch.
    3. When operating the engine switch, check whether the engine starts.
      TEXT IN ILLUSTRATION

      *1 Engine Switch
      *2 Electrical Key Transmitter Sub-assembly

      HINT: 

      • When the electrical key transmitter sub-assembly cannot be verified even though it is inside the detection area, the engine start check can be performed by removing the transmitter battery from the electrical key transmitter sub-assembly and holding the electrical key transmitter sub-assembly near the engine switch.
      • If the engine cannot be started when performing this inspection, the certification ECU (smart key ECU assembly) or steering lock ECU (steering lock actuator assembly) may be malfunctioning.
      RESULT

      Result Proceed to
      Engine can be started A
      Engine cannot be started B

    Result: 

    GO TO SMART ACCESS SYSTEM WITH PUSH-BUTTON START (FOR START FUNCTION) 

    Refer to HOW TO PROCEED WITH TROUBLESHOOTING [09/2015 - ] )

    Result: 

    See step  5

  5. CHECK WAVE ENVIRONMENT 
    1. Install the transmitter battery to the electrical key transmitter sub-assembly. Refer to REPLACEMENT [09/2015 - ] .
    2. Bring the electrical key transmitter sub-assembly near the No. 1 indoor electrical key antenna assembly (front floor) and perform a smart access system with push-button start check. Refer to OPERATION CHECK [09/2015 - ] .
      NOTE:

      Communication may not be possible if the electrical key transmitter sub-assembly is within 0.2 m (0.656 ft.) of the No. 1 indoor electrical key antenna assembly (front floor). Refer to PARTS LOCATION [09/2015 - ] .

    3. Bring the electrical key transmitter sub-assembly near the No. 2 indoor electrical key antenna assembly (rear floor) and perform a smart access system with push-button start check. Refer to OPERATION CHECK [09/2015 - ] .

      HINT: 

      Check that the customize status of the "Ignition Available Area" has been "All". Refer to CUSTOMIZE PARAMETERS [09/2015 - ] .

      NOTE:

      Communication may not be possible if the electrical key transmitter sub-assembly is within 0.2 m (0.656 ft.) of the center of the No. 2 indoor electrical key antenna assembly (rear floor). Refer to PARTS LOCATION [09/2015 - ] .

    4. Bring the electrical key transmitter sub-assembly near the No. 3 indoor electrical key antenna assembly (inside luggage) and perform a smart access system with push-button start check. Refer to OPERATION CHECK [09/2015 - ] .

      HINT: 

      Check that the customize status of the "Ignition Available Area" has been "All". Refer to CUSTOMIZE PARAMETERS [09/2015 - ] .

      NOTE:

      Communication may not be possible if the electrical key transmitter sub-assembly is within 0.2 m (0.656 ft.) of the center of the No. 3 indoor electrical key antenna assembly (inside luggage). Refer to PARTS LOCATION [09/2015 - ] .

      HINT: 

      • As the effect of wave interference decreases by moving the electrical key transmitter sub-assembly close to each indoor electrical key antenna assembly, it may be possible to check whether wave interference is the cause of the problem.
      • If the inspection result is that the problem only occurs in certain locations or at certain times of day, the possibility of wave interference is high. Also, added vehicle components may cause wave interference. If installed, remove them and perform the operation check.
      • There may be wave interference if the vehicle is near broadcasting antennas, large video displays, wireless garage door opener systems, wireless security cameras, home security systems, etc. In this case, move the vehicle to a different location and check if there is any improvement.
      • If a tool for checking radio waves, such as a signal strength meter, is available, move around the area while observing both the LF band (used by the vehicle antenna to form the detection area) and RF band (used by the electrical key transmitter sub-assembly for transmission) to check for locations where there is wave interference.

      OK

      The engine starts when the electrical key transmitter sub-assembly is held near each indoor electrical key antenna assembly and the engine switch is pressed.

    Result: 

    OK 

    AFFECTED BY WAVE INTERFERENCE 

    Result: 

    NG 

    See step  6

  6. CHECK FOR DTC 
    1. Check for DTCs. Refer to DTC CHECK / CLEAR [09/2015 - ] .

      OK

      DTCs are not output.

    Result: 

    NG 

    GO TO DIAGNOSTIC TROUBLE CODE CHART 

    Refer to DIAGNOSTIC TROUBLE CODE CHART [09/2015 - ] )

    Result: 

    OK 

    See step  7

  7. CHECK KEY DIAGNOSTIC MODE 
    1. Check the following antennas in key diagnostic mode.
    2. Select either channel 1 or channel 2 and inspect key diagnostic mode for each channel.
      1. Check the No. 1 indoor electrical key antenna assembly (front floor):
        GTY670418Courtesy of © TOYOTA, LICENSE AGREEMENT TMS1002
        TEXT IN ILLUSTRATION

        * a Inspection Point

        When the electrical key transmitter sub-assembly is at either inspection point, check that the wireless buzzer sounds.

        HINT: 

        • Select either channel 1 or channel 2 and inspect key diagnostic mode for each channel.
        • If the buzzer sounds with [CH1] displayed but not with [CH2], the electrical key transmitter sub-assembly cannot be detected by channel 2 due to a malfunction, such as wave interference.
      2. Check the No. 2 indoor electrical key antenna assembly (rear floor):
        GTY616958Courtesy of © TOYOTA, LICENSE AGREEMENT TMS1002
        TEXT IN ILLUSTRATION

        * a Inspection Point

        When the electrical key transmitter sub-assembly is at either inspection point, check that the wireless buzzer sounds.

        HINT: 

        • Select either channel 1 or channel 2 and inspect key diagnostic mode for each channel.
        • If the buzzer sounds with [CH1] displayed but not with [CH2], the electrical key transmitter sub-assembly cannot be detected by channel 2 due to a malfunction, such as wave interference.
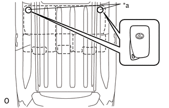
      3. Check the No. 3 indoor electrical key antenna assembly (inside luggage):
        GTY623602Courtesy of © TOYOTA, LICENSE AGREEMENT TMS1002
        TEXT IN ILLUSTRATION

        * a Inspection Point

        When the electrical key transmitter sub-assembly is at either inspection point, check that the wireless buzzer sounds.

        HINT: 

        • Select either channel 1 or channel 2 and inspect key diagnostic mode for each channel.
        • If the buzzer sounds with [CH1] displayed but not with [CH2], the electrical key transmitter sub-assembly cannot be detected by channel 2 due to a malfunction, such as wave interference.
        • It is possible to check which indoor electrical key antenna assembly (front floor, rear floor or inside luggage) is operating by the sounding of the buzzer.
        • When the wireless buzzer sounds for all indoor electrical key antenna assemblies, they can be judged as operating properly and a malfunction in the certification ECU (smart key ECU assembly), which performs verification, is suspected.
        • When the wireless buzzer does not sound for all indoor electrical key antenna assemblies, it can be judged that the certification ECU (smart key ECU assembly), which controls the indoor electrical key antenna assemblies, is malfunctioning.
        RESULT

        Result Proceed to
        The wireless buzzer sounds/does not sound for all indoor electrical key antenna assemblies A
        The wireless buzzer does not sound for only the No. 1 indoor electrical key antenna assembly (front floor) B
        The wireless buzzer does not sound for only the No. 2 indoor electrical key antenna assembly (rear floor) C
        The wireless buzzer does not sound for only the No. 3 indoor electrical key antenna assembly (inside luggage) D

    Result: 

    REPLACE CERTIFICATION ECU (SMART KEY ECU ASSEMBLY) 

    Refer to REMOVAL [09/2015 - ] )

    Result: 

    See step  12

    Result: 

    See step  16

    Result: 

    See step  8

  8. CHECK HARNESS AND CONNECTOR (CERTIFICATION ECU [SMART KEY ECU ASSEMBLY] - NO. 1 INDOOR ELECTRICAL KEY ANTENNA ASSEMBLY [FRONT FLOOR]) 
    1. Disconnect the E151 certification ECU (smart key ECU assembly) connector.
    2. Disconnect the E142 No. 1 indoor electrical key antenna assembly (front floor) connector.
    3. Measure the resistance according to the value(s) in the table below.

      Standard Resistance

      Tester Connection Condition Specified Condition
      E151-21 (CLG5) - E142-1 (ANTE5) Always Below 1 Ω
      E151-20 (CG5B) - E142-3 (CLGB) Always Below 1 Ω
      E151-21 (CLG5) or E142-1 (ANTE5) - Body ground Always 10 kΩ or higher
      E151-20 (CG5B) or E142-3 (CLGB) - Body ground Always 10 kΩ or higher
      1. Reconnect the E151 certification ECU (smart key ECU assembly) connector.

    Result: 

    NG 

    REPAIR OR REPLACE HARNESS OR CONNECTOR 

    Result: 

    OK 

    See step  9

  9. CHECK CERTIFICATION ECU (SMART KEY ECU ASSEMBLY) (OUTPUT TO NO. 1 INDOOR ELECTRICAL KEY ANTENNA ASSEMBLY [FRONT FLOOR]) 
    1. Using an oscilloscope, check the waveform.
      GTY655934Courtesy of © TOYOTA, LICENSE AGREEMENT TMS1002

      OK

      Tester Connection Switch Condition Tool Setting Specified Condition
      E142-1 (ANTE5) - E142-3 (CLGB) Procedure:
      1. Engine switch off
      2. Electrical key transmitter sub-assembly not inside vehicle
      3. Within 30 seconds of closing any door using the door outside handle
      2 V/DIV., 500 ms/DIV. Pulse generation (See waveform 1)
      TEXT IN ILLUSTRATION

      * a Front view of wire harness connector
      (to No. 1 Indoor Electrical Key Antenna Assembly [Front Floor])
      * b Waveform 1
      * c For 30 seconds after closing any door using the door outside handle
      * b 30 seconds or more have elapsed after closing any door using the door outside handle

    Result: 

    NG 

    REPLACE CERTIFICATION ECU (SMART KEY ECU ASSEMBLY) 

    Refer to REMOVAL [09/2015 - ] )

    Result: 

    OK 

    See step  10

  10. REPLACE NO. 1 INDOOR ELECTRICAL KEY ANTENNA ASSEMBLY (FRONT FLOOR) 
    1. Temporarily replace the No. 1 indoor electrical key antenna assembly (front floor) with a new one. Refer to REMOVAL [09/2015 - ] .

    Result: 

    NEXT 

    See step  11

  11. CHECK KEY DIAGNOSTIC MODE 
    1. Check the following antenna in key diagnostic mode.
    2. Select either channel 1 or channel 2 and inspect key diagnostic mode for each channel.
      1. Check the No. 1 indoor electrical key antenna assembly (front floor):
        GTY670418Courtesy of © TOYOTA, LICENSE AGREEMENT TMS1002
        TEXT IN ILLUSTRATION

        * a Inspection Point

        When the electrical key transmitter sub-assembly is at either inspection point, check that the wireless buzzer sounds.

        HINT: 

        • Select either channel 1 or channel 2 and inspect key diagnostic mode for each channel.
        • If the buzzer sounds with [CH1] displayed but not with [CH2], the electrical key transmitter sub-assembly cannot be detected by channel 2 due to a malfunction, such as wave interference.

        OK

        Wireless buzzer sounds.

    Result: 

    OK 

    END (NO. 1 INDOOR ELECTRICAL KEY ANTENNA ASSEMBLY [FRONT FLOOR] WAS DEFECTIVE) 

    Result: 

    NG 

    REPLACE CERTIFICATION ECU (SMART KEY ECU ASSEMBLY) 

    Refer to REMOVAL [09/2015 - ] )

  12. CHECK HARNESS AND CONNECTOR (CERTIFICATION ECU [SMART KEY ECU ASSEMBLY] - NO. 2 INDOOR ELECTRICAL KEY ANTENNA ASSEMBLY [REAR FLOOR]) 
    1. Disconnect the E150 certification ECU (smart key ECU assembly) connector.
    2. Disconnect the L66 No. 2 indoor electrical key antenna assembly (rear floor) connector.
    3. Measure the resistance according to the value(s) in the table below.

      Standard Resistance

      Tester Connection Condition Specified Condition
      E150-15 (CLG6) - L66-1 (ANTE6) Always Below 1 Ω
      E150-14 (CG6B) - L66-2 (CLGB) Always Below 1 Ω
      E150-15 (CLG6) or L66-1 (ANTE6) - Body ground Always 10 kΩ or higher
      E150-14 (CG6B) or L66-2 (CLGB) - Body ground Always 10 kΩ or higher
    4. Reconnect the E150 certification ECU (smart key ECU assembly) connector.

    Result: 

    NG 

    REPAIR OR REPLACE HARNESS OR CONNECTOR 

    Result: 

    OK 

    See step  13

  13. CHECK CERTIFICATION ECU (SMART KEY ECU ASSEMBLY) (OUTPUT TO NO. 2 INDOOR ELECTRICAL KEY ANTENNA ASSEMBLY [REAR FLOOR]) 
    1. Using an oscilloscope, check the waveform.
      GTY680772Courtesy of © TOYOTA, LICENSE AGREEMENT TMS1002

      OK

      Tester Connection Switch Condition Tool Setting Specified Condition
      L66-1 (ANTE6) - L66-2 (CLGB) Procedure:
      1. Engine switch off
      2. Electrical key transmitter sub-assembly not inside vehicle
      3. Within 30 seconds of closing any door using the door outside handle
      2 V/DIV., 500 ms/DIV. Pulse generation (See waveform 1)
      TEXT IN ILLUSTRATION

      * a Front view of wire harness connector
      (to No. 2 Indoor Electrical Key Antenna Assembly [Rear Floor])
      * b Waveform 1
      * c For 30 seconds after closing any door using the door outside handle
      * b 30 seconds or more have elapsed after closing any door using the door outside handle

    Result: 

    NG 

    REPLACE CERTIFICATION ECU (SMART KEY ECU ASSEMBLY) 

    Refer to REMOVAL [09/2015 - ] )

    Result: 

    OK 

    See step  14

  14. REPLACE NO. 2 INDOOR ELECTRICAL KEY ANTENNA ASSEMBLY (REAR FLOOR) 
    1. Temporarily replace the No. 2 indoor electrical key antenna assembly (rear floor) with a new one. Refer to REMOVAL [09/2015 - ] .

    Result: 

    NEXT 

    See step  15

  15. CHECK KEY DIAGNOSTIC MODE 
    1. Check the following antenna in key diagnostic mode.
    2. Select either channel 1 or channel 2 and inspect the diagnostic mode for each channel.
      1. Check the No. 2 indoor electrical key antenna assembly (rear floor):
        GTY616958Courtesy of © TOYOTA, LICENSE AGREEMENT TMS1002
        TEXT IN ILLUSTRATION

        * a Inspection Point

        When the electrical key transmitter sub-assembly is at either inspection point, check that the wireless buzzer sounds.

        HINT: 

        • Select either channel 1 or channel 2 and inspect key diagnostic mode for each channel.
        • If the buzzer sounds with [CH1] displayed but not with [CH2], the electrical key transmitter sub-assembly cannot be detected by channel 2 due to a malfunction, such as wave interference.

        OK

        Wireless buzzer sounds.

    Result: 

    OK 

    END (NO. 2 INDOOR ELECTRICAL KEY ANTENNA ASSEMBLY [REAR FLOOR] WAS DEFECTIVE) 

    Result: 

    NG 

    REPLACE CERTIFICATION ECU (SMART KEY ECU ASSEMBLY) 

    Refer to REMOVAL [09/2015 - ] )

  16. CHECK HARNESS AND CONNECTOR (CERTIFICATION ECU [SMART KEY ECU ASSEMBLY] - NO. 3 INDOOR ELECTRICAL KEY ANTENNA ASSEMBLY [INSIDE LUGGAGE]) 
    1. Disconnect the E150 certification ECU (smart key ECU assembly) connector.
    2. Disconnect the L67 No. 3 indoor electrical key antenna assembly (inside luggage) connector.
    3. Measure the resistance according to the value(s) in the table below.

      Standard Resistance

      Tester Connection Condition Specified Condition
      E150-4 (CLG7) - L67-1 (ANTE7) Always Below 1 Ω
      E150-3 (CG7B) - L67-2 (CLGB) Always Below 1 Ω
      E150-4 (CLG7) or L67-1 (ANTE7) - Body ground Always 10 kΩ or higher
      E150-3 (CG7B) or L67-2 (CLGB) - Body ground Always 10 kΩ or higher
      1. Reconnect the E150 certification ECU (smart key ECU assembly) connector.

    Result: 

    NG 

    REPAIR OR REPLACE HARNESS OR CONNECTOR 

    Result: 

    OK 

    See step  17

  17. CHECK CERTIFICATION ECU (SMART KEY ECU ASSEMBLY) (OUTPUT TO NO. 3 INDOOR ELECTRICAL KEY ANTENNA ASSEMBLY [INSIDE LUGGAGE]) 
    1. Using an oscilloscope, check the waveform.
      GTY643312Courtesy of © TOYOTA, LICENSE AGREEMENT TMS1002

      OK

      Tester Connection Switch Condition Tool Setting Specified Condition
      L67-1 (ANTE7) - L67-2 (CLGB) Procedure:
      1. Engine switch off
      2. Electrical key transmitter sub-assembly not inside vehicle
      3. Within 30 seconds of closing any door using the door outside handle
      2 V/DIV., 500 ms/DIV. Pulse generation (See waveform 1)
      TEXT IN ILLUSTRATION

      * a Front view of wire harness connector
      (to No. 3 Indoor Electrical Key Antenna Assembly [Inside Luggage])
      * b Waveform 1
      * c For 30 seconds after closing any door using the door outside handle
      * b 30 seconds or more have elapsed after closing any door using the door outside handle

    Result: 

    NG 

    REPLACE CERTIFICATION ECU (SMART KEY ECU ASSEMBLY) 

    Refer to REMOVAL [09/2015 - ] )

    Result: 

    OK 

    See step  18

  18. REPLACE NO. 3 INDOOR ELECTRICAL KEY ANTENNA ASSEMBLY (INSIDE LUGGAGE) 
    1. Replace the No. 3 indoor electrical key antenna assembly (inside luggage). Refer to REMOVAL [09/2015 - 08/2018] Refer to REMOVAL [08/2018 - ] .

    Result: 

    NEXT 

    See step  19

  19. CHECK KEY DIAGNOSTIC MODE 
    1. Check the following antenna in key diagnostic mode.
    2. Select either channel 1 or channel 2 and inspect the diagnostic mode for each channel.
      1. Check the No. 3 indoor electrical key antenna assembly (inside luggage):
        GTY623602Courtesy of © TOYOTA, LICENSE AGREEMENT TMS1002
        TEXT IN ILLUSTRATION

        * a Inspection Point

        When the electrical key transmitter sub-assembly is at either inspection point, check that the wireless buzzer sounds.

        HINT: 

        • Select either channel 1 or channel 2 and inspect key diagnostic mode for each channel.
        • If the buzzer sounds with [CH1] displayed but not with [CH2], the electrical key transmitter sub-assembly cannot be detected by channel 2 due to a malfunction, such as wave interference.

        OK

        Wireless buzzer sounds.

    Result: 

    OK 

    END (NO. 3 INDOOR ELECTRICAL KEY ANTENNA ASSEMBLY [INSIDE LUGGAGE] WAS DEFECTIVE) 

    Result: 

    NG 

    REPLACE CERTIFICATION ECU (SMART KEY ECU ASSEMBLY) 

    Refer to REMOVAL [09/2015 - ] )