LEMON Manuals: Even more car manuals for everyone
Home >> Lexus >> 2017 >> IS 350 Base, AWD >> Repair and Diagnosis (Single Page) >> Brakes >> Traction Control >> Vehicle Stability Control System - Diagnostic Codes (3 Of 5) >> Vehicle Stability Control System >> DTC C1413: Front Speed Sensor RH Circuit Output; DTC C1414: Front Speed Sensor LH Circuit Output [10/2016 - 10/2017] >> Procedure

DTC C1413: Front Speed Sensor RH Circuit Output; DTC C1414: Front Speed Sensor LH Circuit Output [10/2016 - 10/2017]: Procedure

  1. CHECK HARNESS AND CONNECTOR (MOMENTARY INTERRUPTION) 
    1. Using the Techstream, check for any momentary interruption in the wire harness and connector corresponding to a DTC.

      Refer to CHECK FOR INTERMITTENT PROBLEMS [10/2016 - 09/2020]

      Chassis > ABS/VSC/TRAC > Data List 

      Tester Display Measurement Item Range Normal Condition Diagnostic Note
      FR Speed Open Front speed sensor RH open detection Error or Normal Error: Momentary interruption
      Normal: Normal
      -
      FL Speed Open Front speed sensor LH open detection Error or Normal Error: Momentary interruption
      Normal: Normal
      -

      Chassis > ABS/VSC/TRAC > Data List 

      Tester Display
      FR Speed Open
      FL Speed Open

      OK

      There are no momentary interruptions.

      HINT: 

      Perform the above inspection before removing the sensor and connector.

      Result

      Result Proceed to
      OK A
      NG (for 2WD) B
      NG (for AWD) C

    Result: 

    See step  4

    Result: 

    See step  8

    Result: 

    See step  2

  2. READ VALUE USING TECHSTREAM (FRONT SPEED SENSOR) 
    1. Turn the engine switch off.
    2. Connect the Techstream to the DLC3.
    3. Start the engine.
    4. Select the Data List using the Techstream.

      Refer to DATA LIST / ACTIVE TEST [10/2016 - 09/2020]

      Chassis > ABS/VSC/TRAC > Data List 

      Tester Display Measurement Item Range Normal Condition Diagnostic Note
      FR Wheel Speed Front wheel speed sensor RH reading Min.: 0 km/h (0 mph), Max.: 326 km/h (202 mph) Vehicle stopped: 0 km/h (0 mph) When driving at constant speed: No large fluctuations
      FL Wheel Speed Front wheel speed sensor LH reading Min.: 0 km/h (0 mph), Max.: 326 km/h (202 mph) Vehicle stopped: 0 km/h (0 mph) When driving at constant speed: No large fluctuations

      Chassis > ABS/VSC/TRAC > Data List 

      Tester Display
      FR Wheel Speed
      FL Wheel Speed
    5. Check the speed value output from the speed sensor displayed on the Techstream.

      HINT: 

      Factors that affect the indicated vehicle speed include tire size, tire pressure, and tire wear. The speed indicated on the speedometer has an allowable margin of error. This can be tested using a speedometer tester (calibrated chassis dynamometer). For details about testing and the margin of error, see the reference chart.

      Refer to ON-VEHICLE INSPECTION [10/2016 - 09/2020]

      OK

      The speed value output from the speed sensor displayed on the Techstream is similar to the speed indicated on the speedometer.

      Result

      Result Proceed to
      OK A
      NG (for 2WD) B
      NG (for AWD) C

    Result: 

    See step  4

    Result: 

    See step  8

    Result: 

    See step  3

  3. RECONFIRM DTC 
    1. Turn the engine switch off.
    2. Clear the DTCs.

      Refer to DTC CHECK / CLEAR [10/2016 - 09/2020]

      Chassis > ABS/VSC/TRAC > Clear DTCs 

    3. Turn the engine switch off.
    4. Start the engine.
    5. Perform a road test.
    6. Check if the same DTC is output.

      Refer to DTC CHECK / CLEAR [10/2016 - 09/2020]

      Chassis > ABS/VSC/TRAC > Trouble Codes 

      Result

      Result Proceed to
      DTCs C1413 and C1414 are not output. A
      DTCs C1413 and/or C1414 are output. B

      HINT: 

      If troubleshooting has been carried out according to Problem Symptoms Table, refer back to the table and proceed to the next step before replacing parts.

      Refer to PROBLEM SYMPTOMS TABLE [10/2016 - 09/2020]

    Result: 

    USE SIMULATION METHOD TO CHECK. Refer to  HOW TO PROCEED WITH TROUBLESHOOTING [10/2016 - 10/2017] 

    Result: 

    REPLACE BRAKE ACTUATOR ASSEMBLY. Refer to  REMOVAL [10/2016 - 09/2020] 

  4. CHECK FRONT SPEED SENSOR INSTALLATION 
    1. Check the speed sensor installation.
      GTY423344Courtesy of © TOYOTA, LICENSE AGREEMENT TMS1002
      *1 Front Speed Sensor
      *a Correct
      *b Incorrect
      *c No clearance

      OK

      There is no clearance between the sensor and the front steering knuckle.

      Result

      Proceed to
      OK
      NG

    Result: 

    NG 

    INSTALL SPEED SENSOR FRONT RH. Refer to  INSTALLATION [10/2016 - 10/2017] 

    Result: 

    OK 

    See step  5

  5. INSPECT SKID CONTROL SENSOR WIRE 
    1. Turn the engine switch off.
      GTY471145Courtesy of © TOYOTA, LICENSE AGREEMENT TMS1002
      *A RH
      *B LH
      *a Front view of Skid Control Sensor Wire
      *b Front view of wire harness connector
      (to Sensor Side Connector)
      *c Front view of wire harness connector
      (to Vehicle Side Connector)
    2. Make sure that there is no looseness at the locking part and the connecting part of the connectors.
    3. Remove the skid control sensor wire.
    4. Measure the resistance according to the value(s) in the table below.

      Standard Resistance

      FOR RH

      Tester Connection Condition Specified Condition
      h2-2 (FR+) - Ah1-2 (FR+) Always Below 1 Ω
      h2-2 (FR+) - Ah1-1 (FR-) Always 10 kΩ or higher
      h2-2 (FR+) - Body ground Always 10 kΩ or higher
      Ah1-1 (FR-) - Body ground Always 10 kΩ or higher
      h2-1 (FR-) - Ah1-1 (FR-) Always Below 1 Ω
      h2-1 (FR-) - Ah1-2 (FR+) Always 10 kΩ or higher
      h2-1 (FR-) - Body ground Always 10 kΩ or higher
      Ah1-2 (FR+) - Body ground Always 10 kΩ or higher
      FOR LH

      Tester Connection Condition Specified Condition
      h1-2 (FL+) - hA1-1 (FL+) Always Below 1 Ω
      h1-2 (FL+) - hA1-2 (FL-) Always 10 kΩ or higher
      h1-2 (FL+) - Body ground Always 10 kΩ or higher
      hA1-2 (FL-) - Body ground Always 10 kΩ or higher
      h1-1 (FL-) - hA1-2 (FL-) Always Below 1 Ω
      h1-1 (FL-) - hA1-1 (FL+) Always 10 kΩ or higher
      h1-1 (FL-) - Body ground Always 10 kΩ or higher
      hA1-1 (FL+) - Body ground Always 10 kΩ or higher
      NOTE:

      Check the speed sensor signal after replacement.

      Refer to TEST MODE PROCEDURE [10/2016 - 09/2020]

      Result

      Proceed to
      OK
      NG

    Result: 

    NG 

    REPLACE SKID CONTROL SENSOR WIRE. Refer to  REMOVAL [10/2016 - 10/2017] 

    Result: 

    OK 

    See step  6

  6. CHECK HARNESS AND CONNECTOR (BRAKE ACTUATOR ASSEMBLY - SKID CONTROL SENSOR WIRE) 
    1. Make sure that there is no looseness at the locking part and the connecting part of the connector.
    2. Reconnect the Ah1 or hA1 skid control sensor wire connector (for vehicle side connector).
    3. Disconnect the A100 skid control ECU (brake actuator assembly) connector.
    4. Measure the resistance according to the value(s) in the table below.

      Standard Resistance

      FOR RH

      Tester Connection Condition Specified Condition
      A100-31 (FR+) - h2-2 (FR+) Always Below 1 Ω
      A100-31 (FR+) - Body ground Always 10 kΩ or higher
      h2-2 (FR+) - Body ground Always 10 kΩ or higher
      A100-30 (FR-) - h2-1 (FR-) Always Below 1 Ω
      A100-30 (FR-) - Body ground Always 10 kΩ or higher
      h2-1 (FR-) - Body ground Always 10 kΩ or higher
      FOR LH

      Tester Connection Condition Specified Condition
      A100-18 (FL+) - h1-2 (FL+) Always Below 1 Ω
      A100-18 (FL+) - Body ground Always 10 kΩ or higher
      h1-2 (FL+) - Body ground Always 10 kΩ or higher
      A100-17 (FL-) - h1-1 (FL-) Always Below 1 Ω
      A100-17 (FL-) - Body ground Always 10 kΩ or higher
      h1-1 (FL-) - Body ground Always 10 kΩ or higher

      Result

      Proceed to
      OK
      NG

    Result: 

    NG 

    REPAIR OR REPLACE HARNESS OR CONNECTOR 

    Result: 

    OK 

    See step  7

  7. INSPECT BRAKE ACTUATOR ASSEMBLY (SENSOR INPUT) 
    1. Reconnect the A100 skid control ECU (brake actuator assembly) connector.
      GTY467858Courtesy of © TOYOTA, LICENSE AGREEMENT TMS1002
      *A RH
      *B LH
      *a Front view of wire harness connector
      (to Skid Control Sensor Wire)
    2. Turn the engine switch on (IG).
    3. Measure the voltage according to the value(s) in the table below.

      Standard Voltage

      FOR RH

      Tester Connection Condition Specified Condition
      h2-2 (FR+) - Body ground Engine switch on (IG) 5.7 to 14 V
      FOR LH

      Tester Connection Condition Specified Condition
      h1-2 (FL+) - Body ground Engine switch on (IG) 5.7 to 14 V
      NOTE:

      Check the speed sensor signal after replacement.

      Refer to TEST MODE PROCEDURE [10/2016 - 09/2020]

      HINT: 

      • for 2WD: The front speed sensor rotor and front speed sensor are incorporated into the front axle hub sub-assembly.

        If the front speed sensor rotor needs to be replaced, replace the front axle hub sub-assembly with front speed sensor.

      • If troubleshooting has been carried out according to Problem Symptoms Table, refer back to the table and proceed to the next step before replacing parts.

        Refer to PROBLEM SYMPTOMS TABLE [10/2016 - 09/2020]

      Result

      Proceed to
      OK
      NG

    Result: 

    OK 

    REPLACE FRONT AXLE HUB SUB-ASSEMBLY. Refer to  REMOVAL [10/2016 - 09/2020] 

    Result: 

    NG 

    REPLACE BRAKE ACTUATOR ASSEMBLY. Refer to  REMOVAL [10/2016 - 09/2020] 

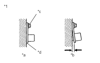
  8. CHECK FRONT SPEED SENSOR INSTALLATION 
    1. Check the speed sensor installation.
      GTY453396Courtesy of © TOYOTA, LICENSE AGREEMENT TMS1002
      *1 Front Speed Sensor
      *a Correct
      *b Incorrect
      *c 8.5 Nm
      *d No clearance

      OK

      There is no clearance between the sensor and the front steering knuckle.

      The installation bolt is tightened properly.

      Torque 

      8.5 N*m (87 kgf*cm, 75 in.*lbf)

      Result

      Proceed to
      OK
      NG

    Result: 

    NG 

    INSTALL FRONT SPEED SENSOR CORRECTLY. Refer to  INSTALLATION [10/2016 - 09/2020] 

    Result: 

    OK 

    See step  9

  9. CHECK FRONT SPEED SENSOR AND SENSOR ROTOR 
    1. Remove the front speed sensor and the component with the sensor rotor.

      for speed sensor: Refer to REMOVAL [10/2016 - 09/2020]

      for sensor rotor: Refer to REMOVAL [10/2016 - 09/2020]

    2. Check the speed sensor tip and speed sensor rotor.

      OK

      No scratches, oil, or foreign matter on the sensor tip and rotor.

      NOTE:
      • If no damage to the speed sensor tip is found during this inspection, do not replace the speed sensor.

        If there are any ferrous metal filings stuck to the rotor, this will result in a malfunction, so confirm that the rotor is not contaminated with foreign matter before replacing the sensor.

      • Check the speed sensor signal after cleaning or replacement.

        Refer to TEST MODE PROCEDURE [10/2016 - 09/2020]

      Result

      Proceed to
      OK
      NG

    Result: 

    NG 

    CLEAN OR REPLACE FRONT SPEED SENSOR OR COMPONENT WITH SENSOR ROTOR 

    Result: 

    OK 

    See step  10

  10. CHECK HARNESS AND CONNECTOR (BRAKE ACTUATOR ASSEMBLY - FRONT SPEED SENSOR) 
    1. Install the front speed sensor and the component with the sensor rotor.
    2. Make sure that there is no looseness at the locking part and the connecting part of the connectors.
    3. Disconnect the A100 skid control ECU (brake actuator assembly) connector.
    4. Disconnect the A101 or A102 front speed sensor connector.
    5. Measure the resistance according to the value(s) in the table below.

      Standard Resistance

      FOR RH

      Tester Connection Condition Specified Condition
      A100-31 (FR+) - A101-3 (FR+) Always Below 1 Ω
      A100-31 (FR+) - Body ground Always 10 kΩ or higher
      A101-3 (FR+) - Body ground Always 10 kΩ or higher
      A100-30 (FR-) - A101-1 (FR-) Always Below 1 Ω
      A100-30 (FR-) - Body ground Always 10 kΩ or higher
      A101-1 (FR-) - Body ground Always 10 kΩ or higher
      FOR LH

      Tester Connection Condition Specified Condition
      A100-18 (FL+) - A102-3 (FL+) Always Below 1 Ω
      A100-18 (FL+) - Body ground Always 10 kΩ or higher
      A102-3 (FL+) - Body ground Always 10 kΩ or higher
      A100-17 (FL-) - A102-1 (FL-) Always Below 1 Ω
      A100-17 (FL-) - Body ground Always 10 kΩ or higher
      A102-1 (FL-) - Body ground Always 10 kΩ or higher

      Result

      Proceed to
      OK
      NG

    Result: 

    NG 

    REPAIR OR REPLACE HARNESS OR CONNECTOR 

    Result: 

    OK 

    See step  11

  11. INSPECT BRAKE ACTUATOR ASSEMBLY (SENSOR INPUT) 
    1. Reconnect the A100 skid control ECU (brake actuator assembly) connector.
      GTY656974Courtesy of © TOYOTA, LICENSE AGREEMENT TMS1002
      *A for RH
      *B for LH
      *a Front view of wire harness connector
      (to Front Speed Sensor)
    2. Turn the engine switch on (IG).
    3. Measure the voltage according to the value(s) in the table below.

      Standard Voltage

      FOR RH

      Tester Connection Condition Specified Condition
      A101-3 (FR+) - Body ground Engine switch on (IG) 5.7 to 14 V
      FOR LH

      Tester Connection Condition Specified Condition
      A102-3 (FL+) - Body ground Engine switch on (IG) 5.7 to 14 V
      NOTE:

      Check the speed sensor signal after replacement.

      Refer to TEST MODE PROCEDURE [10/2016 - 09/2020]

      HINT: 

      If troubleshooting has been carried out according to Problem Symptoms Table, refer back to the table and proceed to the next step before replacing parts.

      Refer to PROBLEM SYMPTOMS TABLE [10/2016 - 09/2020]

      Result

      Proceed to
      OK
      NG

    Result: 

    OK 

    REPLACE FRONT SPEED SENSOR. Refer to  REMOVAL [10/2016 - 09/2020] 

    Result: 

    NG 

    REPLACE BRAKE ACTUATOR ASSEMBLY. Refer to  REMOVAL [10/2016 - 09/2020]