LEMON Manuals: Even more car manuals for everyone
Home >> Lexus >> 2017 >> GX 460 Base >> Repair and Diagnosis >> Steering >> Steering Column >> Steering Column (Service Information) >> Heated Steering Wheel Controller >> Components [08/2019 - ]

Components [08/2019 - ]

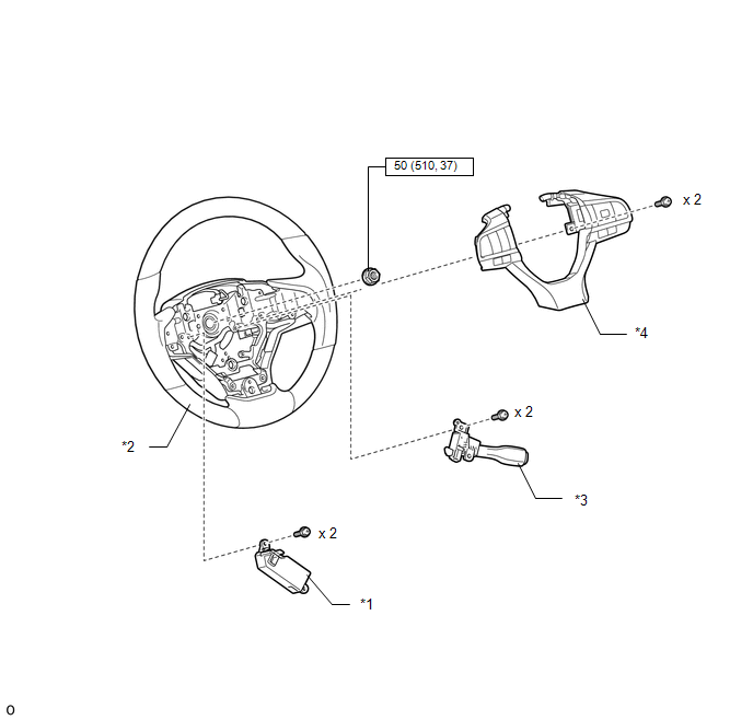
Fig 1: Heated Steering Wheel Controller Replacement Components With Torque Specifications [08/2019 - ]
GTY956206Courtesy of © TOYOTA, LICENSE AGREEMENT TMS1002
Callout Description Callout Description
*1 STEERING VIBRATION AND HEATER ECU *2 STEERING WHEEL ASSEMBLY
*3 CRUISE CONTROL MAIN SWITCH *4 STEERING PAD SWITCH ASSEMBLY
N*m (kgf*cm, ft.*lbf): Specified torque - -