LEMON Manuals: Even more car manuals for everyone
Home >> Lexus >> 2017 >> GS F >> Repair and Diagnosis >> Engine Performance >> System >> Engine Control System - Diagnostic Codes And Circuit Tests >> SFI System >> Circuit Tests >> EVAP System [10/2015 - ] >> Description

EVAP System [10/2015 - ]: Description

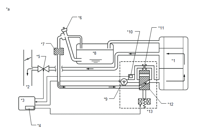
GTY657581Courtesy of © TOYOTA, LICENSE AGREEMENT TMS1002
*1 Purge VSV *2 Fuel Vapor Feed Hose Assembly (EVAP Hose) (to Intake Air Surge Tank Assembly)
*3 Fuel Vapor Feed Hose Assembly (EVAP Hose) (from Canister) *4 Canister Pump Module
- Canister Pressure Sensor
- Leak Detection Pump
- Vent Valve
*5 Canister *6 Canister Filter
*7 Air Inlet Port *8 Fuel Cap
*9 Fuel Tank - -
*a Location of EVAP (Evaporative Emission) System *b Purge Line

HINT: 

The canister pressure sensor, the leak detection pump and the vent valve are built into the canister pump module.

GTY626841Courtesy of © TOYOTA, LICENSE AGREEMENT TMS1002
*1 Canister Pump Module *2 Intake Air Surge Tank Assembly
*3 Purge VSV *4 Throttle Valve
*5 Canister *6 Cut-off Valve
*7 Fuel Tank *8 Air Cleaner
*9 ECM *10 Canister Filter
*11 Soak Timer *12 Roll-Over Valve
*13 Fuel Cap - -
*a EVAP System Circuit - -
NOTE:

In the EVAP system of this vehicle, turning on the vent valve does not seal off the EVAP system. To check for leaks in the EVAP system, disconnect the air inlet vent hose and apply pressure from the atmospheric side of the canister.

While the engine is running, if a predetermined condition (closed-loop, etc.) is met, the purge VSV is opened by the ECM and fuel vapors stored in the canister are purged to the intake air surge tank assembly. The ECM changes the duty cycle ratio of the purge VSV to control purge flow volume.

The purge flow volume is also determined by the intake pressure. Atmospheric pressure is allowed into the canister through the vent valve to ensure that the purge flow is maintained when negative pressure (vacuum) is applied to the canister.

The following two monitors run to confirm appropriate EVAP system operation.

  1. Key-off monitor 

    This monitor checks for EVAP (evaporative emission) system leaks and canister pump module malfunctions. The monitor starts 5 hours* after the engine switch is turned off. At least 5 hours are required for the fuel to cool down to stabilize the EVAP pressure, thus making the EVAP system monitor more accurate.

    The leak detection pump creates negative pressure (vacuum) in the EVAP system and the pressure is measured. Finally, the ECM monitors for leaks from the EVAP system, and malfunctions in both the canister pump module and purge VSV based on the EVAP pressure.

    HINT: 

    *: If the engine coolant temperature is not less than 35°C (95°F) 5 hours after the engine switch is turned off, the monitor check starts 2 hours later. If it is still not less than 35°C (95°F) 7 hours after the engine switch is turned off, the monitor check starts 2.5 hours later.

  2. Purge flow monitor 

    The purge flow monitor consists of the 2 monitors. The 1st monitor is conducted every time and the 2nd monitor is activated if necessary.

    • The 1st monitor

      While the engine is running and the purge VSV (Vacuum Switching Valve) is on (open), the ECM monitors the purge flow by measuring the EVAP pressure change. If negative pressure is not created, the ECM begins the 2nd monitor.

    • The 2nd monitor

      The vent valve is turned on (closed) and the EVAP pressure is then measured. If the variation in the pressure is less than 0.15 kPa (gauge) [1.125 mmHg (gauge)], the ECM interprets this as the purge VSV being stuck closed, illuminates the MIL and stores DTC P0441 (2 trip detection logic).

    • Atmospheric pressure check:
      • In order to ensure reliable malfunction detection, the variation between the atmospheric pressures, before and after of the purge flow monitor, is measured by the ECM.
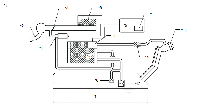
    GTY631020Courtesy of © TOYOTA, LICENSE AGREEMENT TMS1002
    *1 Canister *2 to Intake Air Surge Tank Assembly
    *3 ECM *4 Soak Timer
    *5 Purge VSV (On) *6 Fuel Cap
    *7 Canister Filter *8 Fuel Tank
    *9 Leak Detection Pump (Off) *10 Canister Pressure Sensor
    *11 Reference Orifice (0.02 inches) *12 Vent Valve (Off)
    *13 Canister Pump Module - -
    *a EVAP Purge Flow - -
    Component Operation
    Canister Contains activated charcoal to absorb EVAP (Evaporative Emissions) generated in fuel tank.
    Cut-off valve Located in fuel tank. Valve floats and closes when fuel tank is 100% full.
    Purge VSV (Vacuum Switching Valve) Opens or closes line between canister and intake air surge tank assembly. ECM uses purge VSV to control EVAP purge flow. In order to discharge EVAP absorbed by canister to intake air surge tank assembly, ECM opens purge VSV. EVAP discharge volume to intake air surge tank assembly controlled by purge VSV duty cycle (current-carrying time). (Open: on, Close: off)
    Roll-over valve Located in fuel tank. Valve closes by its own weight when vehicle overturns to prevent fuel from spilling out.
    Soak timer Built into ECM. To ensure accurate EVAP monitor, measures 5 hours (+/-15 min) after engine switch is turned off. This allows fuel to cool down, stabilizing EVAP pressure. When approximately 5 hours elapsed, ECM activates (refer to fig. 3).
    Canister pump module Consists of (a) to (d) below. Canister pump module cannot be disassembled.
    (a) Vent valve Vents and closes EVAP system. When ECM turns valve on, EVAP system is closed. When ECM turns valve off, EVAP system is vented. Negative pressure (vacuum) is created in EVAP system to check for EVAP leaks by closing purge VSV, turning on vent valve (closing it) and operating leak detection pump (refer to fig. 1).
    (b) Canister pressure sensor Indicates pressure as voltages. ECM supplies regulated 5 V to pressure sensor, and uses feedback from sensor to monitor EVAP system pressure (refer to fig. 2).
    (c) Leak detection pump Creates negative pressure (vacuum) in EVAP system for leak check.
    (d) Reference orifice Has opening with 0.02 inch diameter. Vacuum is produced through orifice by closing purge VSV, turning off vent valve and operating leak detection pump, to monitor reference pressure. Reference pressure is used when checking for small EVAP leaks.
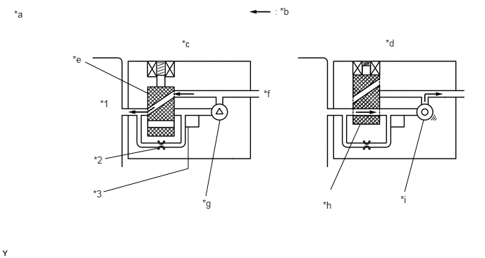
    GTY659409Courtesy of © TOYOTA, LICENSE AGREEMENT TMS1002
    *1 Canister *2 Reference Orifice (0.02 Inch)
    *3 Canister Pressure Sensor - -
    *a Canister Pump Module (fig. 1) *b Airflow
    *c Condition: Purge Flow *d Condition: Leak Check
    *e Vent Valve: off (vent) *f to Canister Filter (Atmosphere)
    *g Leak Detection Pump: off *h Vent Valve: on (closed)
    *i Leak Detection Pump: on - -
    GTY664518Courtesy of © TOYOTA, LICENSE AGREEMENT TMS1002
    GTY652814Courtesy of © TOYOTA, LICENSE AGREEMENT TMS1002