LEMON Manuals: Even more car manuals for everyone
Home >> Lexus >> 2017 >> GS 200t Base >> Repair and Diagnosis >> Engine Performance >> System >> Engine Control System - Diagnostics & Circuit Tests >> SFI System >> EVAP System [10/2015 - 09/2018] >> Description

EVAP System [10/2015 - 09/2018]: Description

GTY616308Courtesy of © TOYOTA, LICENSE AGREEMENT TMS1002
*1 Purge VSV *2 Fuel Vapor Feed Hose (EVAP Hose) (to Intake Manifold)
*3 Fuel Vapor Feed Hose (EVAP Hose) (from Canister) *4 Canister Pump Module
- Canister Pressure Sensor
- Leak Detection Pump
- Vent Valve
*5 Canister *6 Canister Filter
*7 Air Inlet Port *8 Fuel Tank Cap
*9 Fuel Tank *10 No. 1 Check Valve
*a Location of EVAP (Evaporative Emission) System *b Purge Line

HINT: 

The canister pressure sensor, the leak detection pump and the vent valve are built into the canister pump module.

GTY641039Courtesy of © TOYOTA, LICENSE AGREEMENT TMS1002
*1 Canister Pump Module *2 Intake Manifold
*3 Purge VSV *4 Throttle Valve
*5 Canister *6 Fuel Tank
*7 Air Cleaner *8 ECM
*9 Canister Filter *10 Soak Timer
*11 Roll-Over Valve *12 Fuel Tank Cap
*13 No. 1 Check Valve *14 Cut-off Valve
*a EVAP System Circuit - -
NOTE:

In the EVAP system of this vehicle, turning on the vent valve does not seal off the EVAP system. To check for leaks in the EVAP system, disconnect the air inlet vent hose and apply pressure from the atmospheric side of the canister.

While the engine is running, if a predetermined condition (closed-loop, etc.) is met, the purge VSV is opened by the ECM and fuel vapors stored in the canister are purged to the intake manifold. The ECM changes the duty cycle ratio of the purge VSV to control purge flow volume.

The purge flow volume is also determined by the intake manifold pressure. Atmospheric pressure is allowed into the canister through the vent valve to ensure that the purge flow is maintained when negative pressure (vacuum) is applied to the canister.

The No. 1 check valve is used between the purge VSV and intake port to prevent intake air from flowing back toward the canister due to the turbo pressure.

The following two monitors run to confirm appropriate EVAP system operation.

  1. Key-off monitor 

    This monitor checks for EVAP (evaporative emission) system leaks and canister pump module malfunctions. The monitor starts 5 hours* after the engine switch is turned off. At least 5 hours are required for the fuel to cool down to stabilize the EVAP pressure, thus making the EVAP system monitor more accurate.

    The leak detection pump creates negative pressure (vacuum) in the EVAP system and the pressure is measured. Finally, the ECM monitors for leaks from the EVAP system, and malfunctions in both the canister pump module and purge VSV based on the EVAP pressure.

    HINT: 

    *: If the engine coolant temperature is not less than 35°C (95°F) 5 hours after the engine switch is turned off, the monitor check starts 2 hours later. If it is still not less than 35°C (95°F) 7 hours after the engine switch is turned off, the monitor check starts 2.5 hours later.

    Component Operation
    Canister Contains activated charcoal to absorb EVAP (Evaporative Emissions) generated in fuel tank.
    Cut-off valve Located in fuel tank. Valve floats and closes when fuel tank is 100% full.
    Purge VSV (Vacuum Switching Valve) Opens or closes line between canister and intake manifold. ECM uses purge VSV to control EVAP purge flow. In order to discharge EVAP absorbed by canister to intake manifold, ECM opens purge VSV. EVAP discharge volume to intake manifold controlled by purge VSV duty cycle (current-carrying time). (Open: on, Close: off)
    Roll-over valve Located in fuel tank. Valve closes by its own weight when vehicle overturns to prevent fuel from spilling out.
    Soak timer Built into ECM. To ensure accurate EVAP monitor, measures 5 hours (+/-15 min) after engine switch is turned off. This allows fuel to cool down, stabilizing EVAP pressure. When approximately 5 hours elapsed, ECM activates (refer to fig. 3).
    No. 1 check valve Prevents intake air from flowing back toward the canister due to the turbo pressure.
    Canister pump module Consists of (a) to (d) below. Canister pump module cannot be disassembled.
    (a) Vent valve Vents and closes EVAP system. When ECM turns valve on, EVAP system is closed. When ECM turns valve off, EVAP system is vented. Negative pressure (vacuum) is created in EVAP system to check for EVAP leaks by closing purge VSV, turning on vent valve (closing it) and operating leak detection pump (refer to fig. 1).
    (b) Canister pressure sensor Indicates pressure as voltages. ECM supplies regulated 5 V to pressure sensor, and uses feedback from sensor to monitor EVAP system pressure (refer to fig. 2).
    (c) Leak detection pump Creates negative pressure (vacuum) in EVAP system for leak check.
    (d) Reference orifice Has opening with 0.02 inch diameter. Vacuum is produced through orifice by closing purge VSV, turning off vent valve and operating leak detection pump, to monitor reference pressure. Reference pressure is used when checking for small EVAP leaks.
    GTY380236Courtesy of © TOYOTA, LICENSE AGREEMENT TMS1002
    *1 Canister *2 Reference Orifice (0.02 Inch)
    *3 Canister Pressure Sensor - -
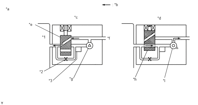
    *a Canister Pump Module (fig. 1) *b Airflow
    *c Condition: Purge Flow *d Condition: Leak Check
    *e Vent Valve: Off (vent) *f to Canister Filter (Atmosphere)
    *g Leak Detection Pump: Off *h Vent Valve: On (closed)
    *i Leak Detection Pump: On - -
    GTY506750Courtesy of © TOYOTA, LICENSE AGREEMENT TMS1002
    GTY681385Courtesy of © TOYOTA, LICENSE AGREEMENT TMS1002