LEMON Manuals: Even more car manuals for everyone
Home >> Lexus >> 2017 >> GS 200t Base >> Repair and Diagnosis >> Engine Performance >> System >> Engine Control System - Diagnostics & Circuit Tests >> SFI System >> Circuit Tests >> Engine Difficult to Start [09/2017 - 09/2018] >> Procedure

Engine Difficult to Start [09/2017 - 09/2018]: Procedure

  1. INTERVIEW THE CUSTOMER 
    1. Interview the customer for details about the conditions when the engine was difficult to start.

      HINT: 

      Depending on the conditions when the starting difficulty occurred, a malfunction in one of the following areas is suspected.

      Problem Symptom Suspected Area
      Engine speed recorded in freeze frame data is 0 rpm (engine does not crank) Battery depletion, excessive engine friction, starter malfunction or crankshaft position sensor malfunction
      Engine speed recorded in freeze frame data is between 100 and 500 rpm (engine cranks but combustion does not occur, initial combustion delays or combustion occurs late) Wire harness, ignition system or fuel system malfunction
      Engine speed recorded in freeze frame data is 500 rpm or higher (combustion occurs but engine speed drops immediately)
      • Improper fuel injection volume (too low or too high)
      • If Long FT is out of specified range: insufficient fuel supply due to clogging of injectors or fuel pump
      • If engine cranking speed is high: compression loss due to deposits caught on valves

      Result

      Proceed to
      NEXT

    Result: 

    NEXT 

    See step  2

  2. CHECK DTC OUTPUT 
    1. Connect the Techstream to the DLC3.
    2. Turn the engine switch on (IG).
    3. Turn the Techstream on.
    4. Perform a road test.
    5. Enter the following menus: Powertrain / Engine / Trouble Codes.
    6. Read the DTCs.

      Result

      Result Proceed to
      DTCs are not output A
      DTC is output
      (DTCs other than P160300, P160400 or P160500 are output)
      B

    Result: 

    GO TO DTC CHART. Refer to  DIAGNOSTIC TROUBLE CODE CHART [09/2017 - 09/2018] 

    Result: 

    See step  3

  3. CHECK INTERVIEW RESULT 
    1. Check the interview result.

      Result

      Result Proceed to
      Engine is difficult to start only when the vehicle has been left as is for a long time (1 hour or more) A
      Other than above B

    Result: 

    See step  5

    Result: 

    See step  4

  4. INSPECT FUEL INJECTOR ASSEMBLY 
    1. Clean the inside of the intake manifold with compressed air.
    2. After stopping the engine, measure the HC concentration inside the surge tank for 15 minutes.

      Result

      Result Proceed to
      Less than 4000 ppm A
      4000 ppm or higher B

      HINT: 

      • If the concentration is 4000 ppm or higher, a fuel injector assembly may have a sealing problem.
      • Perform "Inspection After Repair" after replacing the fuel injector assembly.

        Refer to INITIALIZATION [10/2015 - 09/2018]

    Result: 

    See step  5

    Result: 

    REPLACE FUEL INJECTOR ASSEMBLY 

  5. CHECK CRANKING 
    1. Check the engine cranking operation.

      Result

      Result Proceed to
      The engine does not crank or cranks slowly A
      The engine cranks normally B

    Result: 

    See step  7

    Result: 

    See step  6

  6. INSPECT BATTERY 
    1. Inspect the battery.

      Refer to PROCEDURE - Step 2

      Result

      Proceed to
      OK
      NG

    Result: 

    OK 

    CHECK STARTER SIGNAL CIRCUIT. Refer to  Starter Signal Circuit [10/2015 - ]  

    Result: 

    NG 

    CHARGE OR REPLACE BATTERY 

  7. SYMPTOM CONFIRMATION 
    1. Check if the problem symptoms reported in the customer problem analysis recur.

      HINT: 

      If the problem symptoms do not recur, attempt to reproduce the conditions when the malfunction occurred based on the result of the customer problem analysis.

      Result

      Result Proceed to
      The problem symptom recurs A
      The problem symptom does not recur (occurred in the past) B

    Result: 

    CHECK FOR INTERMITTENT PROBLEMS. Refer to  CHECK FOR INTERMITTENT PROBLEMS [10/2015 - ] 

    Result: 

    See step  8

  8. READ VALUE USING TECHSTREAM (ISC F/B LEARN TORQUE) 
    1. Connect the Techstream to the DLC3.
    2. Turn the engine switch on (IG).
    3. Turn the Techstream on.
    4. Enter the following menus: Powertrain / Engine / Data List / ISC F/B Learn Torque.
    5. Read the value displayed on the Techstream.

      Result

      Result Proceed to
      Less than 15 Nm A
      Other than above B

    Result: 

    See step  15

    Result: 

    See step  9

  9. READ VALUE USING TECHSTREAM (SHORT FT B1S1 AND LONG FT B1S1) 
    1. Connect the Techstream to the DLC3.
    2. Turn the engine switch on (IG).
    3. Turn the Techstream on.
    4. Enter the following menus: Powertrain / Engine / Data List / Short FT B1S1 and Long FT B1S1.
    5. Read the value displayed on the Techstream.

      Result

      Data List Result Proceed to
      Short FT B1S1 + Long FT B1S1 -15% or higher, or less than 15% A
      Other than above B

      HINT: 

      • "Total FT Bank 1" is used to detect an abnormal air fuel ratio. As the value of "Total FT Bank 1" is corrected by the ECM before it is displayed in the Data List, the displayed value may not be equal to the sum of the measured "Short FT B1S1" and "Long FT B1S1".
      • An abnormally lean or rich tendency can be checked by reading the following Data List items: A/F Learn Value Idle Bank 1, A/F Learn Value Low Bank 1, A/F Learn Value Mid No. 1 Bank 1, A/F Learn Value Mid No. 2 Bank 1, A/F Learn Value High Bank 1, A/F Learn Value Low (Dual) Bank 1, A/F Learn Value Mid (Dual) No. 1 Bank 1, A/F Learn Value Mid (Dual) No. 2 Bank 1 and A/F Learn Value High (Dual) Bank 1.
      • The following may cause a lean air fuel ratio (an operating range in which the air fuel ratio learned value correction is +15% or more):
        1. Decrease in fuel injector assembly injection volume
        2. Decrease in mass air flow meter sub-assembly output (due to existence of foreign matter)
        3. Air leaks in intake system after mass air flow meter sub-assembly
        4. Decrease in fuel pressure (at fuel filter, fuel pump, fuel main valve assembly or fuel suction plate sub-assembly)
      • On vehicles which the learning value for each operating range can be checked, if the value of "A/F Learn Value Idle Bank 1", "A/F Learn Value Low Bank 1" or "A/F Learn Value Low (Dual) Bank 1" only is corrected to the positive side, an air leak after the mass air flow meter sub-assembly is suspected.
      • The following may cause a rich air fuel ratio (an operating range in which the air fuel ratio learned value correction is -15% or less):
        1. Increase in the fuel injector assembly injection volume
        2. Purge VSV system

    Result: 

    See step  19

    Result: 

    See step  10

  10. PERFORM ACTIVE TEST USING TECHSTREAM (D-4S (FUEL CUT)) 
    1. Connect the Techstream to the DLC3.
    2. Turn the engine switch on (IG).
    3. Turn the Techstream on.
    4. Start the engine.

      HINT: 

      Reproduce the vehicle conditions when the malfunction occurred. (such as after the engine is warmed up or after a cold start).

    5. Enter the following menus: Powertrain / Engine / Active Test / D-4S (Fuel Cut) / Data List / Engine Speed, Injection Mode.
    6. According to the display on the Techstream, perform the Active Test and check for a malfunctioning cylinder.

      HINT: 

      • Perform fuel-cut of port injection and direct injection for each cylinder and check the change in the engine speed.
      • If the engine speed of a cylinder does not change while performing the Active Test, it can be determined that the cylinder is malfunctioning.
      • If the engine speed of all cylinders change while performing the Active Test, it can be determined that multiple cylinders are malfunctioning.
      • A cylinder for which the Data List item "Misfire Count Cylinder #1 to #4" increases may be malfunctioning.
      • When switching the injection method and performing the "D-4S (Fuel Cut)" Active Test, switch from "Port" to "Direct".
      • Do not switch from "Direct" to "Port". When performing the inspection more than once, after the Active Test ends, lightly race the engine, and then perform the inspection from "Port" again.
      • If the display does not switch from "Port" even after lighting racing the engine, idle the engine for approximately 1 minute, and then lightly race the engine.

      Result

      Result Proceed to
      One cylinder is malfunctioning A
      Multiple or all cylinders are malfunctioning, or the malfunctioning cylinder cannot be determined. B

    Result: 

    See step  19

    Result: 

    See step  11

  11. PERFORM ACTIVE TEST USING TECHSTREAM (CHECK THE CYLINDER COMPRESSION) 

    HINT: 

    If the vehicle does not support the Active Test "Check the Cylinder Compression", measure the compression pressure. If the compression pressure is normal, go to step 12.

    1. Warm up the engine.
    2. Turn the engine switch off.
    3. Connect the Techstream to the DLC3.
    4. Turn the engine switch on (IG).
    5. Turn the Techstream on.
    6. Enter the following menus: Powertrain / Engine / Active Test / Check the Cylinder Compression / Data List / Compression / Engine Speed Cylinder #1 to #4 and Average Engine Speed of All Cylinder.

      HINT: 

      To display the entire Data List, press the pull down menu button next to Primary. Then select Compression.

    7. Push the snapshot button to turn the snapshot function on.

      HINT: 

      Using the snapshot function, data can be recorded during the Active Test.

    8. While the engine is not running, press the Active button to change Check the Cylinder Compression to "Start".

      HINT: 

      After performing the above procedure, Check the Cylinder Compression will start. Fuel injection for all cylinders is prohibited and each cylinder engine speed measurement enters standby mode.

    9. Crank the engine for about 10 seconds.
    10. Monitor the engine speed (Engine Speed Cylinder #1 to #4 and Average Engine Speed of All Cylinder) displayed on the Techstream.

      HINT: 

      • At first, the Techstream will display extremely high cylinder engine speed values. After approximately 10 seconds of engine cranking, the engine speed measurement of each cylinder will change to the actual engine speed.
      • If the cylinder engine speed values (Engine Speed Cylinder #1 to #4) displayed in the Data List do not change from an extremely high value, return to the Active Test menu screen, change "Check the Cylinder Compression" to "Start" and crank the engine again within 1 second.
      NOTE:
      • Do not crank the engine continuously for 20 seconds or more.
      • If it is necessary to crank the engine again after Check the Cylinder Compression has been changed to "Start" and the engine has been cranked once, press Exit to return to the Active Test menu screen. Then change Check the Cylinder Compression to "Start" and crank the engine.
      • Use a fully-charged battery.
    11. Stop cranking the engine, and then change "Check the Cylinder Compression" to "Stop" after the engine stops.
      NOTE:
      • If the Active Test is changed to "Stop" while the engine is being cranked, the engine will start.
      • When performing the Active Test, DTC P160400 (Startability Malfunction) may be stored.
      • After performing the Active Test, make sure to check and clear DTCs.
    12. Push the snapshot button to turn the snapshot function off.
    13. Select "Stored Data" on the Techstream screen, select the recorded data and display the data as a graph.

      HINT: 

      If the data is not displayed as a graph, the change of the values cannot be observed.

    14. Read the value.

      HINT: 

      • If the value of Data List item "Engine Speed Cylinder" of a cylinder is higher than other cylinders, the cylinder may be malfunctioning.
      • If the value of Data List item "Engine Speed Cylinder" is high for only one cylinder, compression loss is suspected.

      Result

      Result Proceed to
      There is no variation in "Engine Speed Cylinder"
      (All cylinders display approximately the same value for "Engine Speed Cylinder")
      A
      There is variation in "Engine Speed Cylinder"
      (Only one cylinder displays a value for "Engine Speed Cylinder" that differs considerably)
      B

    Result: 

    See step  17

    Result: 

    See step  12

  12. PERFORM ACTIVE TEST USING TECHSTREAM (D-4S (INJECTION VOLUME)) 
    1. Connect the Techstream to the DLC3.
    2. Turn the engine switch on (IG).
    3. Turn the Techstream on.
    4. Start the engine and warm it up until the engine coolant temperature 75°C (167°F) or higher with all the accessories switched off.
    5. Idle the engine.
    6. Enter the following menus: Powertrain / Engine / Active Test / D-4S (Injection Volume) / Data List / Injection Mode.
    7. According to the display on the Techstream, perform the Active Test and check the vehicle conditions when increasing and decreasing the fuel injection volume of port injection and direct injection.

      HINT: 

      • Increase and decrease the fuel injection volume of the port injection and direct injection simultaneously and check the vehicle condition.
      • Change the fuel injection volume between the minimum and maximum range of correction (e.g. -12.5% to 24.8%).
      • When switching the injection method and performing the "D-4S (Injection Volume)" Active Test, switch from "Port" to "Direct".
      • Do not switch from "Direct" to "Port". When performing the inspection more than once, after the Active Test ends, lightly race the engine, and then perform the inspection from "Port" again.
      • If the display does not switch from "Port" even after lighting racing the engine, idle the engine for approximately 1 minute, and then lightly race the engine.

      Result

      Result Proceed to
      Malfunction is still present even if the fuel injection volume is changed A
      Malfunction disappears when the fuel injection volume is changed B

    Result: 

    See step  18

    Result: 

    See step  13

  13. CHECK IGNITION SYSTEM 
    1. Check the ignition system.

      HINT: 

      • Interchange the ignition coil assembly and spark plug of the malfunctioning cylinder with those of a known good cylinder and check if the malfunctioning cylinder returns to normal.
      • If the spark plug of the malfunctioning cylinder is abnormally wet with fuel even after the ignition coil assembly and spark plug are replaced, a leaking fuel injector assembly is suspected.

      Result

      Result Proceed to
      The malfunctioning cylinder does not return to normal A
      The malfunctioning cylinder returned to normal B

    Result: 

    See step  30

    Result: 

    See step  14

  14. INSPECT OTHER RELATED COMPONENTS 
    1. Check the power source circuit, wire harness and connectors.

      Result

      Proceed to
      NEXT

    Result: 

    NEXT 

    See step  30

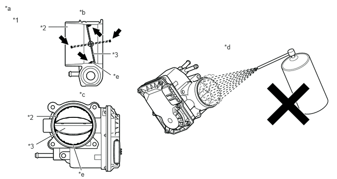
  15. REMOVE FOREIGN OBJECT (CLEAN THROTTLE BODY WITH MOTOR ASSEMBLY) 
    1. Clean off any deposits from the inside of the throttle body with motor assembly.
    2. Push open the throttle valve and wipe off any carbon from the valve and bore using a piece of cloth soaked in non-residue solvent.
      GTY483797Courtesy of © TOYOTA, LICENSE AGREEMENT TMS1002
      *1 Throttle Body with Motor Assembly *2 Bore
      *3 Valve - -
      *a Reference *b Throttle Body with Motor Assembly Cross-section Diagram
      *c When valve fully opened *d Do not directly apply cleaner
      *e Deposits - -
      NOTE:
      • Make sure that the cloth or your fingers do not get caught in the valve.
      • Make sure that foreign matter does not enter the throttle valve.
      • Do not directly apply non-residue solvent to the throttle body with motor assembly or wash the throttle body with motor assembly. Cleaning solvent may leak into the motor from the shaft and cause problems such as rust or valve movement problems.
      • If there is coating material on the edge of the valve, be careful not to remove it.

      HINT: 

      The illustrations are for reference only. Actual parts may differ.

      Result

      Proceed to
      NEXT

    Result: 

    NEXT 

    See step  16

  16. PERFORM CONFIRMATION DRIVING PATTERN 
    1. Perform "Inspection After Repair" after cleaning the throttle body with motor assembly.

      Refer to INITIALIZATION [10/2015 - 09/2018]

    2. Connect the Techstream to the DLC3.
    3. Turn the engine switch on (IG).
    4. Turn the Techstream on.
    5. Start the engine and warm it up until the engine coolant temperature reaches 75°C (167°F) or higher.
    6. Allow the engine to idle for 3 minutes or more and confirm that the engine speed is within the specified range.

      HINT: 

      If the engine is operated without performing learning value reset and idle learning after cleaning the deposits from the throttle body with motor assembly, the idle speed may increase.

      Result

      Proceed to
      NEXT

    Result: 

    NEXT 

    See step  31

  17. CHECK CYLINDER COMPRESSION PRESSURE 
    1. Measure the cylinder compression pressure. If the compression pressure of a cylinder is low, inspect the engine assembly and repair or replace parts as necessary.

      Refer to PROCEDURE - Step 10

      Result

      Proceed to
      NEXT

    Result: 

    NEXT 

    See step  30

  18. REPLACE FUEL INJECTOR ASSEMBLY 
    1. Replace the abnormal fuel injector assembly.

      HINT: 

      • If the air fuel ratio learned value is corrected to the positive side for all operating ranges due to low fuel injector assembly injection volume, replace the fuel injector assemblies of all cylinders.
      • Perform "Inspection After Repair" after replacing the fuel injector assembly.

        Refer to INITIALIZATION [10/2015 - 09/2018]

      Result

      Proceed to
      NEXT

    Result: 

    NEXT 

    See step  31

  19. READ VALUE USING TECHSTREAM (MASS AIR FLOW SENSOR) 
    1. Connect the Techstream to the DLC3.
    2. Turn the engine switch on (IG).
    3. Turn the Techstream on.
    4. Start the engine and warm it up until the engine coolant temperature 75°C (167°F) or higher with all the accessories switched off.
    5. Enter the following menus: Powertrain / Engine / Data List / Mass Air Flow Sensor.
    6. According to the display on the Techstream, read the Data List when the engine switch is turned on (IG) and while maintaining an engine speed of 3000 rpm.

      Result

      Result Proceed to
      Other than below A
      Engine switch on (IG) (engine stopped): 0.57 gm/sec or higher
      Engine speed 3000 rpm (without load): Less than 5.7 gm/sec
      B

    Result: 

    See step  23

    Result: 

    See step  20

  20. PERFORM ACTIVE TEST USING TECHSTREAM (D-4S (INJECTION VOLUME)) 
    1. Connect the Techstream to the DLC3.
    2. Turn the engine switch on (IG).
    3. Turn the Techstream on.
    4. Start the engine and warm it up until the engine coolant temperature 75°C (167°F) or higher with all the accessories switched off.
    5. Warm up the air fuel ratio sensor at an engine speed of 2500 rpm for 90 seconds.
    6. Idle the engine.
    7. Enter the following menus: Powertrain / Engine / Active Test / D-4S (Injection Volume) / Data List / Injection Mode, A/F (O2) Sensor Voltage B1S1 and O2 Sensor Voltage B1S2.
    8. According to the display on the Techstream, perform the Active Test and check the vehicle conditions when increasing and decreasing the fuel injection volume of port injection and direct injection.
      NOTE:
      • The air fuel ratio sensor has an output delay of a few seconds and the heated oxygen sensor has a maximum output delay of approximately 20 seconds.
      • Read the output voltage immediately after warming up the air fuel ratio sensor and heated oxygen sensor to avoid an inaccurate reading due to a sensor cooling.

      HINT: 

      • Increase and decrease the fuel injection volume of the port injection and direct injection simultaneously and check the vehicle condition.
      • Change the fuel injection volume between the minimum and maximum range of correction (e.g. -12.5% to 24.8%).
      • When switching the injection method and performing the "D-4S (Injection Volume)" Active Test, switch from "Port" to "Direct".
      • Do not switch from "Direct" to "Port". When performing the inspection more than once, after the Active Test ends, lightly race the engine, and then perform the inspection from "Port" again.
      • If the display does not switch from "Port" even after lighting racing the engine, idle the engine for approximately 1 minute, and then lightly race the engine.

      Result

      Techstream Display
      (Sensor)
      Injection Volume Voltage
      A/F (O2) Sensor Voltage B1S1
      (Air fuel ratio)
      24.8% Below 3.1 V
      -12.5% Higher than 3.4 V
      O2 Sensor Voltage B1S2
      (Heated oxygen)
      24.8% Higher than 0.55 V
      -12.5% Below 0.4 V

      Result

      Result Proceed to
      Output voltage values are abnormal A
      Malfunction disappears when fuel injection volume is increased B
      Malfunction is still present when fuel injection volume is increased, even if output voltage values are normal C

    Result: 

    See step  22

    Result: 

    See step  24

    Result: 

    See step  21

  21. REPLACE AIR FUEL RATIO SENSOR AND HEATED OXYGEN SENSOR 
    1. Replace the air fuel ratio sensor.

      Refer to REMOVAL [10/2015 - ]

      HINT: 

      Perform "Inspection After Repair" after replacing the air fuel ratio sensor.

      Refer to INITIALIZATION [10/2015 - 09/2018]

    2. Replace the heated oxygen sensor.

      Refer to REMOVAL [10/2015 - ]

      HINT: 

      Perform "Inspection After Repair" after replacing the heated oxygen sensor.

      Refer to INITIALIZATION [10/2015 - 09/2018]

      Result

      Proceed to
      NEXT

    Result: 

    NEXT 

    See step  31

  22. REPLACE FUEL INJECTOR ASSEMBLY 
    1. Replace the fuel injector assemblies of all cylinders.

      HINT: 

      Perform "Inspection After Repair" after replacing the fuel injector assembly.

      Refer to INITIALIZATION [10/2015 - 09/2018]

      Result

      Proceed to
      NEXT

    Result: 

    NEXT 

    See step  31

  23. CHECK INTAKE SYSTEM 
    1. Check for air leaks or blockage in the intake system components. If a connection problem or foreign matter is found, repair the connection or remove the foreign matter.

      HINT: 

      • If there is foreign matter in the intake system components, remove it before proceeding to the next step.
      • If there is no foreign matter in the intake system components, check for foreign matter in the mass air flow meter sub-assembly. If there is foreign matter in the mass air flow meter sub-assembly, remove it.

      Result

      Proceed to
      NEXT

    Result: 

    NEXT 

    See step  30

  24. PERFORM ACTIVE TEST USING TECHSTREAM (ACTIVATE THE CIRCUIT RELAY) 
    1. Connect the Techstream to the DLC3.
    2. Turn the engine switch on (IG).
    3. Turn the Techstream on.
    4. Enter the following menus: Powertrain / Engine / Active Test / Activate the Circuit Relay.
    5. When performing the Active Test, check for an operating sound from the fuel pump (for low pressure side).

      OK

      Activate the Circuit Relay Specified Condition
      ON Operating sound heard
      OFF Operating sound not heard

      Result

      Proceed to
      OK
      NG

    Result: 

    NG 

    See step  29

    Result: 

    OK 

    See step  25

  25. INSPECT FUEL PUMP (LOW PRESSURE SIDE) 
    1. Attach a fuel pressure gauge and check the fuel pressure when cranking the engine and after stopping the engine.

      Refer to PROCEDURE - Step 2

      Standard

      Vehicle State Specified Condition
      Cranking engine 196 to 833 kPa (2.0 to 8.5 kgf/cm2 , 28 to 121 psi)
      5 minutes after stopping engine 98 kPa (1.0 kgf/cm2 , 14 psi) or higher

      HINT: 

      • If there is foreign matter such as iron particles on the fuel pump, remove it.
      • Make sure that there are no leaks from the fuel lines, signs of fuel leakage or fuel odors.

      Result

      Proceed to
      OK
      NG

    Result: 

    NG 

    See step  28

    Result: 

    OK 

    See step  26

  26. READ VALUE USING TECHSTREAM (FUEL PRESSURE (HIGH)) 
    1. Connect the Techstream to the DLC3.
    2. Start the engine.
    3. Turn the Techstream on.
    4. Enter the following menus: Powertrain / Engine / Data List / Fuel Pressure (High).
    5. Read the values.

      Standard

      3000 rpm 

      4000 to 8000 kPag.

      HINT: 

      The A/C switch and all accessory switches should be off, the shift lever should be in P, and the engine should be fully warmed up.

      Result

      Proceed to
      OK
      NG

    Result: 

    NG 

    See step  30

    Result: 

    OK 

    See step  27

  27. INSPECT OTHER RELATED COMPONENTS 
    1. Inspect other related components.

      HINT: 

      If the malfunctioning part could not be determined by performing the preceding inspections, one of the following malfunctions is suspected.

      • Deposits in the intake manifold or on an intake valve
      • Delay in fuel supply due to adherence of the fuel to the deposits

      Result

      Proceed to
      NEXT

    Result: 

    NEXT 

    See step  30

  28. INSPECT RELATED PARTS 
    1. Inspect the following fuel pump related parts:
      • Fuel suction plate sub-assembly
      • Fuel main valve assembly
      • Fuel lines and connecting parts
      • Fuel filter

      Result

      Proceed to
      NEXT

    Result: 

    NEXT 

    See step  30

  29. INSPECT FUEL PUMP CONTROL SYSTEM 
    1. Inspect the fuel pump control system.

      Result

      Proceed to
      NEXT

    Result: 

    NEXT 

    See step  30

  30. REPAIR OR REPLACE MALFUNCTIONING PARTS 
    1. Repair or replace the malfunctioning part.
    2. Perform "Inspection After Repair" after repairing or replacing the malfunctioning part.

      Refer to INITIALIZATION [10/2015 - 09/2018]

      Result

      Proceed to
      NEXT

    Result: 

    NEXT 

    See step  31

  31. CONDUCT CONFIRMATION TEST 
    1. Check that the engine has returned to normal.

      Result

      Proceed to
      NEXT

    Result: 

    NEXT 

    END