LEMON Manuals: Even more car manuals for everyone
Home >> Lexus >> 2017 >> ES 300h >> Repair and Diagnosis (Single Page) >> Brakes >> Traction Control >> Electronically Controlled Brake System (Diagnostic Codes & Symptom Tests) >> Electronically Controlled Brake System >> DTC C1271/71: Low Output Signal of Front Speed Sensor RH (Test Mode DTC); DTC C1272/72: Low Output Signal of Front Speed Sensor LH (Test Mode DTC); DTC C1464/31: Front Speed Sensor RH Circuit; DTC C1465/32: Front Speed Sensor LH Circuit [07/2015 - ] >> Wiring Diagram

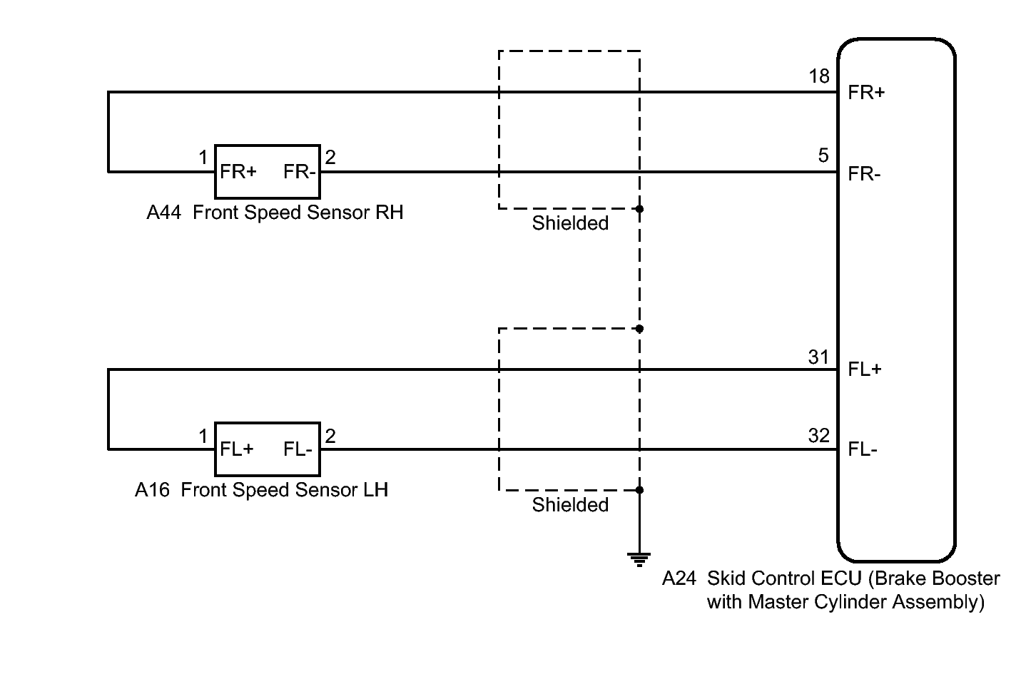
DTC C1271/71: Low Output Signal of Front Speed Sensor RH (Test Mode DTC); DTC C1272/72: Low Output Signal of Front Speed Sensor LH (Test Mode DTC); DTC C1464/31: Front Speed Sensor RH Circuit; DTC C1465/32: Front Speed Sensor LH Circuit [07/2015 - ]: Wiring Diagram

Fig 1: Front Speed Sensor Wiring Diagram
GTY413452Courtesy of © TOYOTA, LICENSE AGREEMENT TMS1002