LEMON Manuals: Even more car manuals for everyone
Home >> Lexus >> 2017 >> ES 300h >> Repair and Diagnosis (Single Page) >> Accessories & Equipment >> Communication Devices >> Can Communication System (W/O Central Gateway Ecu) (Diagnostic Codes & Symptom Tests) >> Can Communication System (W/O Central Gateway Ecu) >> Open in CAN Main Bus Line (2016 - 2017) >> Wiring Diagram

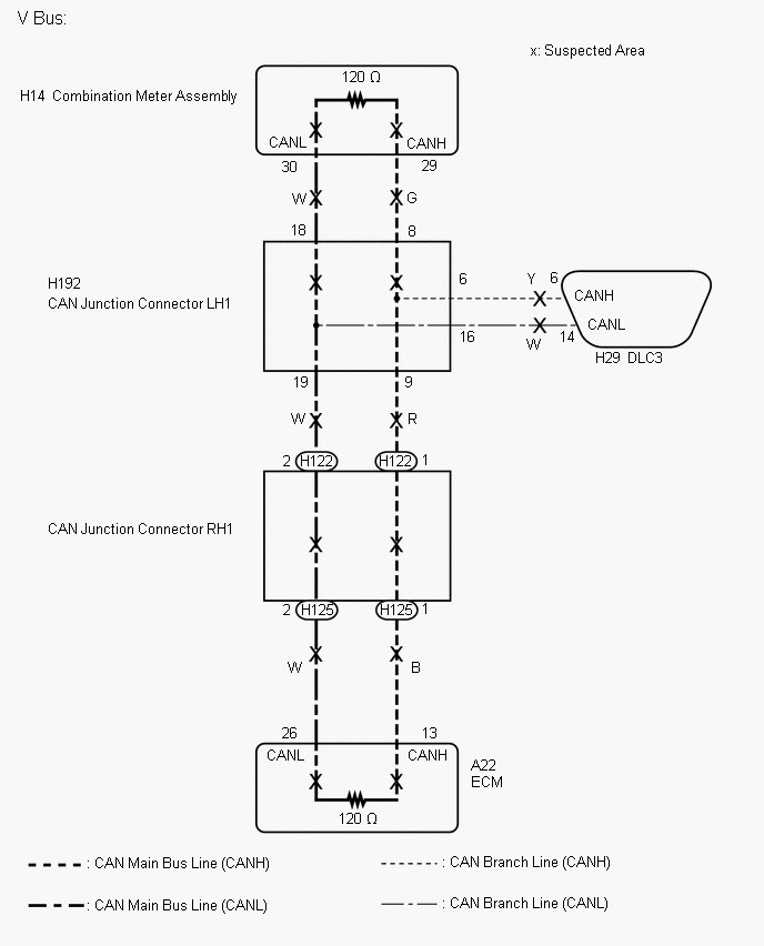
Open in CAN Main Bus Line (2016 - 2017): Wiring Diagram

Fig 1: CAN Junction Connector Wiring Diagram
GTY651346Courtesy of © TOYOTA, LICENSE AGREEMENT TMS1002