LEMON Manuals: Even more car manuals for everyone
Home >> Lexus >> 2017 >> CT 200h Base >> Repair and Diagnosis >> Steering >> Steering Column >> Steering Column - Service Information >> Steering Column Assembly >> Inspection [08/2014 - ] >> Procedure

Inspection [08/2014 - ]: Procedure

  1. INSPECT PRELOAD 
    1. Secure the steering column assembly in a vice using aluminum plates and a piece of cloth.
      GTY357476Courtesy of © TOYOTA, LICENSE AGREEMENT TMS1002
      TEXT IN ILLUSTRATION

      *a Wooden Block
      *b Piece of Cloth
      NOTE:
      • Do not overtighten the vice, as the steering column assembly may become deformed.
      • Support the steering column assembly with a wooden block or similar item to ensure that it does not fall.
    2. Using SST, turn the main shaft and measure the preload.
      GTY326264Courtesy of © TOYOTA, LICENSE AGREEMENT TMS1002
      • SST: 09616-00011 

      Preload 

      Torque: 0.91 N*m (1.45 N*m (10 kgf*cm, 14 kgf*cm, 8 in.*lbf) 12 in.*lbf) 

      If the preload is not as specified, replace the steering column assembly with a new one.

  2. INSPECT STEERING COLUMN ASSEMBLY 
    1. Inspect the bushings.
      1. Check that the 2 bushings are securely installed to the steering column assembly.
        GTY291573Courtesy of © TOYOTA, LICENSE AGREEMENT TMS1002
        TEXT IN ILLUSTRATION

        *1 Bushing

        If the 2 bushings are installed improperly, replace the steering column assembly with a new one.

      2. Check the 2 bushings for deformation and damage.

        If the bushings are deformed or damaged, replace the steering column assembly with a new one.

    2. Inspect the capsules.
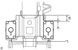
      1. Check that the 2 capsules are securely installed to the steering column assembly as shown in the illustration.
        GTY350158Courtesy of © TOYOTA, LICENSE AGREEMENT TMS1002

        Standard Dimension

        A B
        2 mm (0.0787 in.) 17 mm (0.669 in.)
        TEXT IN ILLUSTRATION

        *1 Capsule

        If the capsules are not positioned as specified, replace the steering column assembly with a new one.

      2. Check the 2 capsules for deformation and damage.

        If either of the capsules is deformed, loose, missing or damaged, replace the steering column assembly with a new one.