LEMON Manuals: Even more car manuals for everyone
Home >> Lexus >> 2015 >> RC 350 Base, AWD >> Repair and Diagnosis >> External Pages >> Different car >> Section 10 (Lighting System (Ext) - Diagnostics - Introduction) >> Lighting System >> System Diagram [10/2018 - 09/2020] >> System Diagram [10/2018 - 09/2020]

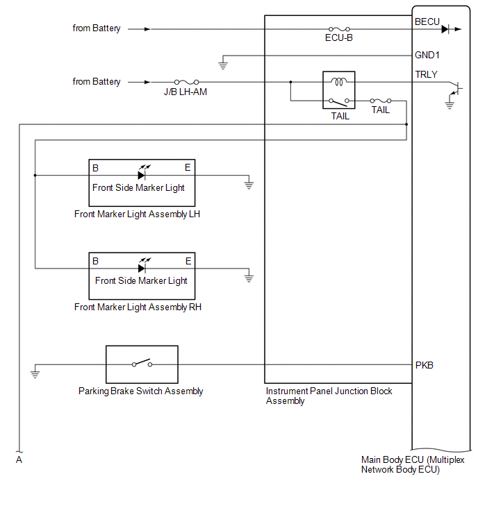
System Diagram [10/2018 - 09/2020]

WARNING: This page does not describe the selected car, but rather 12 other vehicles, including the 2024 Lexus RC 350, 2024 Lexus RC 300, 2023 Lexus RC 350, 2023 Lexus RC 300, and 2022 Lexus RC 350. However, it is still accessible from the selected car via links, so may be relevant.
GTY790030Courtesy of © TOYOTA, LICENSE AGREEMENT TMS1002
GTY748496Courtesy of © TOYOTA, LICENSE AGREEMENT TMS1002
GTY809993Courtesy of © TOYOTA, LICENSE AGREEMENT TMS1002
GTY800775Courtesy of © TOYOTA, LICENSE AGREEMENT TMS1002
GTY803445Courtesy of © TOYOTA, LICENSE AGREEMENT TMS1002
GTY778601Courtesy of © TOYOTA, LICENSE AGREEMENT TMS1002
GTY786689Courtesy of © TOYOTA, LICENSE AGREEMENT TMS1002
GTY826489Courtesy of © TOYOTA, LICENSE AGREEMENT TMS1002
  1. HEADLIGHT ASSEMBLY CIRCUIT (for Triple Beam Headlight) 
    GTY777835Courtesy of © TOYOTA, LICENSE AGREEMENT TMS1002
  2. HEADLIGHT ASSEMBLY CIRCUIT (for Single Beam Headlight) 
    GTY797126Courtesy of © TOYOTA, LICENSE AGREEMENT TMS1002