LEMON Manuals: Even more car manuals for everyone
Home >> Lexus >> 2015 >> LS 600h >> Repair and Diagnosis >> Body & Frame >> Windows >> Power Window Control System - Diagnostics - Introduction >> Power Window Control System >> System Diagram [10/2014 - ] >> System Diagram [10/2014 - ]

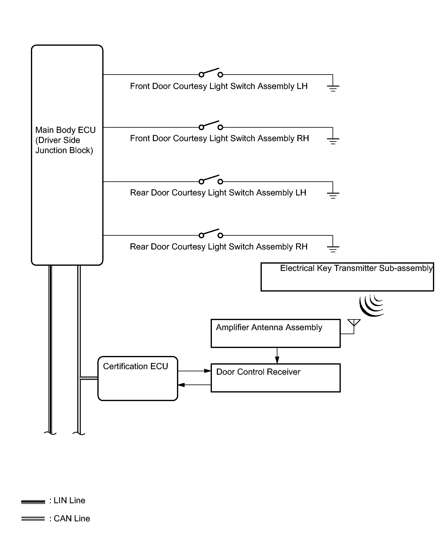
System Diagram [10/2014 - ]

Fig 1: Power Window Control System Diagram (1 Of 2)
GTY415045Courtesy of © TOYOTA, LICENSE AGREEMENT TMS1002
Fig 2: Power Window Control System Diagram (2 Of 2)
GTY117545Courtesy of © TOYOTA, LICENSE AGREEMENT TMS1002