LEMON Manuals: Even more car manuals for everyone
Home >> Lexus >> 2015 >> ES 350 >> Repair and Diagnosis >> Engine Performance >> System >> Engine Control System - Diagnostic Codes & Circuit Tests >> SFI System >> DTC P2109: Throttle / Pedal Position Sensor "A" Minimum Stop Performance [08/2014 - ] >> Procedure

DTC P2109: Throttle / Pedal Position Sensor "A" Minimum Stop Performance [08/2014 - ]: Procedure

  1. CHECK ANY OTHER DTCS OUTPUT (IN ADDITION TO DTC P2109) 
    1. Connect the Techstream to the DLC3.
    2. Turn the engine switch on (IG).
    3. Turn the Techstream on.
    4. Enter the following menus: Powertrain / Engine / Trouble Codes.
    5. Read the DTCs.
      RESULT

      Result Proceed to
      DTC P2109 is output A
      DTC P2109 and other DTCs are output B

      HINT: 

      If any DTCs other than P2109 are output, troubleshoot those DTCs first.

    B → See step   5 

    A: Go to next step 

  2. READ FREEZE FRAME DATA 
    1. Connect the Techstream to the DLC3.
    2. Turn the engine switch on (IG).
    3. Using the Techstream, check "ISC Learning Value" in the freeze frame data. Refer to FREEZE FRAME DATA [08/2014 - ] .

      HINT: 

      Be sure to confirm "ISC Learning Value" in the freeze frame data as it is used when confirming whether the malfunction has been successfully repaired.

    NEXT: Go to next step 

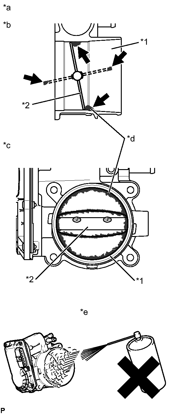
  3. REMOVE FOREIGN OBJECT (CLEAN THROTTLE BODY WITH MOTOR ASSEMBLY) 
    GTY293521Courtesy of © TOYOTA, LICENSE AGREEMENT TMS1002
    1. Clean off any deposits from the inside of the throttle body with motor assembly.
      TEXT IN ILLUSTRATION

      *1 Bore
      *2 Valve
      *a Reference
      *b Throttle Body with Motor Assembly Cross-section Diagram
      *c When valve fully opened
      *d Deposits
      *e Do not directly apply cleaner
      1. Push open the throttle valve and wipe off any carbon from the valve and bore using a cloth soaked in non-residue solvent.
        NOTE:
        • Make sure that the cloth or your fingers do not get caught in the valve.
        • Make sure that foreign matter does not enter the throttle valve.
        • Do not directly apply non-residue solvent to the throttle body with motor assembly or wash the throttle body with motor assembly. Cleaning solvent may leak into the motor from the shaft and cause problems such as rust or valve movement problems.
        • If there is coating material on the edge of the valve, be careful not to remove it.
        • Push the throttle valve open gently with your finger and check that the throttle valve moves smoothly.

        HINT: 

        If the throttle valve does not open smoothly, replace the throttle body with motor assembly.

    NEXT: Go to next step 

  4. READ VALUE USING TECHSTREAM (ISC LEARNING VALUE) 
    1. Perform "Inspection After Repair" after cleaning the throttle body with motor assembly. Refer to INITIALIZATION [08/2014 - ] .
    2. Connect the Techstream to the DLC3.
    3. Turn the Techstream on.
    4. Enter the following menus: Powertrain / Engine / Data List / Primary / ISC Learning Value.
    5. Read the value.

      OK

      The value is half of "ISC Learning Value" recorded in the freeze frame data or less.

      HINT: 

      Perform "Inspection After Repair" after replacing the throttle body with motor assembly. Refer to INITIALIZATION [08/2014 - ] .

    NG → See step   6 

    OK → END 

  5. GO TO DTC CHART. Refer to  DIAGNOSTIC TROUBLE CODE CHART [08/2014 - ] 
  6. REPLACE THROTTLE BODY WITH MOTOR ASSEMBLY. Refer to  REMOVAL [08/2014 - ]