LEMON Manuals: Even more car manuals for everyone
Home >> Lexus >> 2015 >> ES 300h >> Repair and Diagnosis (Single Page) >> Accessories & Equipment >> Anti-Theft Systems >> Smart Access System With Push-Button Start (Keyless Entry) (Diagnostic Codes & Symptom Tests) >> SMART ACCESS SYSTEM WITH PUSH-BUTTON START (for Entry Function) >> All Door Entry Lock/Unlock Functions and Wireless Functions do not Operate [08/2014 - ] >> Wiring Diagram

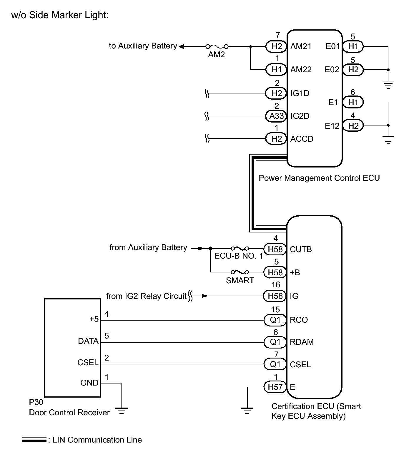
All Door Entry Lock/Unlock Functions and Wireless Functions do not Operate [08/2014 - ]: Wiring Diagram

Fig 1: Door Entry Lock/Unlock Functions w/o Side Marker Light Wiring Diagram
GTY416336Courtesy of © TOYOTA, LICENSE AGREEMENT TMS1002
Fig 2: Door Entry Lock/Unlock Functions w/ Side Marker Light Wiring Diagram
GTY413994Courtesy of © TOYOTA, LICENSE AGREEMENT TMS1002