LEMON Manuals: Even more car manuals for everyone
Home >> Lexus >> 2014 >> GX 460 Base >> Repair and Diagnosis (Single Page) >> Accessories & Equipment >> Drivers Assistance Systems - ADAS >> Blind Spot Monitor System (Diagnostics) (Introduction) >> Blind Spot Monitor System >> System Description [08/2013 - ] >> System Description [08/2013 - ]

System Description [08/2013 - ]

  1. CAN COMMUNICATION SYSTEM 
    1. The blind spot monitor system uses CAN communication to transmit data between the right and left blind spot monitor sensors and each ECU.
    2. If there is a problem in the CAN communication, the right and left blind spot monitor sensors output a CAN communication malfunction DTC. Refer to HOW TO PROCEED WITH TROUBLESHOOTING [08/2013 - ] .
    3. Each CAN communication line has a particular length and route. Therefore, emergency repair using bypass wiring, etc. is not possible. Refer to PRECAUTION [08/2013 - ] .
  2. GENERAL 
    1. The blind spot monitor system has the blind spot monitor function and rear cross traffic alert function.
      1. Blind spot monitor function
        • The blind spot monitor function is a function that assists the driver in making the decision to change lanes. The function uses quasi-millimeter wave radar to detect vehicles that are traveling in an adjacent lane in the area that is not reflected in the outer rear view mirror assembly. The function advises the driver of the existence of a vehicle by illuminating the outer rear view mirror indicator on the outer rear view mirror assembly.
        • If the turn signal switch is operated while the outer rear view mirror indicator on an outer rear view mirror assembly is illuminated, the indicator starts blinking to give additional warning to the driver.
      2. Rear cross traffic alert function
        • The rear cross traffic alert function is a function that informs the driver of an approaching vehicle from diagonally behind. The function uses quasi-millimeter wave radar to detect the positions of and relative speed to a vehicle. When the function determines that a vehicle is approaching this vehicle, this function informs the driver of it using the indicators and buzzer.
  3. FUNCTION OF COMPONENTS 
    Component Function
    Blind Spot Monitor Sensor
    • Consists of a 24 GHz radar module and an integrated processing module.
    • Illuminates or blinks the outer rear view mirror indicator on the outer rear view mirror assembly.
    • Sounds the rear cross traffic alert buzzer (blind spot monitor buzzer) when the rear cross traffic alert function is operating.
    • Changes the outer rear view mirror indicator on the outer rear view mirror assembly from illuminated to blinking when a turn signal switch operation signal is received from the combination meter assembly with the blind spot monitor function operating.
    • Dims the outer rear view mirror indicator on the outer rear view mirror assembly and blind spot monitor indicator on the blind spot monitor main switch (multi-function switch).
    • Turns on the blind spot monitor indicator on the blind spot monitor main switch (multi-function switch) when the blind spot monitor main switch (multi-function switch) is on.
    Outer Rear View Mirror Assembly
    • Outer Rear View Mirror (Outer Rear View Mirror Indicator)
    Turns on or blinks the indicator based on a signal from the blind spot monitor sensor.
    Outer Mirror Control ECU Assembly Receives a signal from the blind spot monitor sensor and sends the signal to the outer rear view mirror indicator on the outer rear view mirror assembly.
    Blind Spot Monitor Main Switch (Warning Canceling Switch Assembly)
    • Blind Spot Monitor Indicator
    • Turns the blind spot monitor system on or off.
    • Informs the state of the blind spot monitor system by illuminating the blind spot monitor indicator.
    Rear Cross Traffic Alert Buzzer (Blind Spot Monitor Buzzer)*1 Sounds based on a signal from the blind spot monitor sensor.
    Combination Meter Assembly
    • Multi-information Display
    • Sends a turn signal switch operation signal from the headlight dimmer switch assembly to the blind spot monitor sensor via CAN communication.
    • Displays an error message on the multi-information display if the blind spot monitor detects a malfunction while it is operating.
    Main Body ECU (Multiplex Network Body ECU) Sends the destination information and the dimmer signal to the blind spot monitor sensor via CAN communication.
    Brake Actuator Assembly
    • Skid Control ECU
    Transmits a vehicle speed signal to the blind spot monitor sensor via CAN communication.
    ECM Sends shift position signal (R) and HV flag signal to the blind spot monitor sensor via CAN communication.
    Spiral Cable with Sensor Sub-assembly Detects the angle of the steering wheel and sends the resulting signals to the blind spot monitor sensor via CAN communication.
    • *1: w/ Rear Cross Traffic Alert Function
  4. OPERATION DESCRIPTION 
    1. Operation description of the blind spot monitor function
      1. Operation conditions
        • The blind spot monitor main switch (multi-function switch) is on.
        • Vehicle speed is more than approximately 16 km/h (10 mph).
      2. Conditions in which a sensor can detect a vehicle

        The blind spot monitor function indicates detection of a vehicle in the detection area when either condition is met:

        • When a vehicle is detected in an adjacent lane overtaking this vehicle.
        • When a vehicle is detected entering the detection area because it changed lanes.
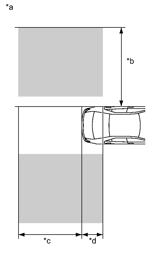
      3. Detection area

        Vehicles in the following areas can be detected:

        Fig 1: Detection Areas
        GTY374052Courtesy of © TOYOTA, LICENSE AGREEMENT TMS1002
        TEXT IN ILLUSTRATION

        *a Vehicles in the following areas can be detected:
        *b Within approx. 3.5 m (11.49 ft) from the side of the vehicle
        *c Within approx. 3 m (9.85 ft) behind the rear bumper
        *d Within approx. 1 m (3.29 ft) forward of the rear bumper
    2. Operation description of the rear cross traffic alert function (w/ Rear Cross Traffic Alert Function)
      1. Operation conditions:
        • The blind spot monitor main switch (multi-function switch) is on.
        • The shift lever is in R.
        • The vehicle speed is less than approximately 8 km/h (5 mph).
      2. Conditions in which a sensor can detect a vehicle

        The rear cross traffic alert function indicates detection of a vehicle in the detection area when both conditions are met:

        • A vehicle is approaching this vehicle from diagonally behind.
        • The vehicle speed is approximately 8 km/h (5 mph) to 28 km/h (17 mph).
      3. Detection area

        Vehicles in the following areas can be detected:

        Fig 2: Detection Areas
        GTY361173Courtesy of © TOYOTA, LICENSE AGREEMENT TMS1002
        TEXT IN ILLUSTRATION

        *a Vehicles in the following areas can be detected:
        *b Within approx. 5.5 to 20 m (18.04 to 65.62 ft) from the side of the vehicle (detection area changes according to vehicle speed)
        *c Within approx. 6 m (19.69 ft) behind the rear bumper
  5. OPERATION OF OUTER REAR VIEW MIRROR INDICATOR AND REAR CROSS TRAFFIC ALERT BUZZER (BLIND SPOT MONITOR BUZZER) 
    1. Initial check
      1. When the blind spot monitor main switch (multi-function switch) is turned on with the engine switch on (IG), the outer rear view mirror indicator on each outer rear view mirror assembly illuminates for 3 seconds and the rear cross traffic alert buzzer (blind spot monitor buzzer) sounds for 1 second.
      2. When the engine switch is turned from off to on (IG) with the blind spot monitor main switch (multi-function switch) on, the outer rear view mirror indicator on each outer rear view mirror assembly illuminates for 3 seconds.
    2. Operation for each function
      1. Operation for blind spot monitor function
        • When a sensor detects a vehicle in the blind spot area, the outer rear view mirror indicator on the outer rear view mirror assembly illuminates.
        • While the sensor is detecting a vehicle in the detection area and the indicator is illuminated, if the turn signal switch is operated, the outer rear view mirror indicator on the outer rear view mirror assembly starts blinking as shown in the illustration.
        Fig 3: Outer Rear View Mirror Indicator Operation
        GTY362699Courtesy of © TOYOTA, LICENSE AGREEMENT TMS1002
        TEXT IN ILLUSTRATION

        *a 0.125 seconds
      2. Operation for rear cross traffic alert function
        • When all of the operation conditions for the rear cross traffic alert function are met, the outer rear view mirror indicators on the outer rear view mirror assembly blink for 2.5 seconds and the rear cross traffic alert buzzer (blind spot monitor buzzer) sounds for 2.3 seconds as shown in the illustration.
        Fig 4: Outer Rear View Mirror Rear Cross Traffic Alert Indicator Blinking Pattern & Buzzer Sounding Pattern
        GTY380698Courtesy of © TOYOTA, LICENSE AGREEMENT TMS1002
        TEXT IN ILLUSTRATION

        *a 0.125 seconds *b 2.5 seconds
        *c 0.1 seconds *d 0.4 seconds
        *e 2.3 seconds - -