LEMON Manuals: Even more car manuals for everyone
Home >> Lexus >> 2014 >> ES 350 >> Repair and Diagnosis (Single Page) >> Accessories & Equipment >> Anti-Theft Systems >> Smart Access System (Keyless Entry) (Diagnostic Codes & Symptom Tests) >> SMART ACCESS SYSTEM WITH PUSH-BUTTON START (for Entry Function) >> Symptom Tests >> Driver Side Door Entry Lock Function does not Operate [08/2013 - ] >> Procedure

Driver Side Door Entry Lock Function does not Operate [08/2013 - ]: Procedure

  1. CHECK POWER DOOR LOCK CONTROL SYSTEM 
    1. When the door control switch on the multiplex network master switch assembly is operated, check that the doors unlock and lock according to the switch operation. Refer to OPERATION CHECK [08/2013 - ] .

      OK

      Door locks operate normally.

    NG → See step   5 

    OK: Go to next step 

  2. READ VALUE USING TECHSTREAM 
    1. Connect the Techstream to the DLC3.
    2. Turn the engine switch on (IG).
    3. Turn the Techstream on.
    4. Enter the following menus: Body Electrical / Smart Access / Data List.
    5. Read the Data List according to the display on the Techstream.
      SMART ACCESS

      Tester Display Measurement Item/Range Normal Condition Diagnostic Note
      D-Door Trigger Switch Driver door touch sensor (lock sensor) / ON or OFF ON: Driver door touch sensor (lock sensor) touched
      OFF: Driver door touch sensor (lock sensor) not touched
      • Displays whether the lock sensor is on or off (even if the sensor is touched and contact is maintained, "ON" is displayed only momentarily).
      • Use this Data List item to help determine if there is a lock sensor malfunction when the entry lock function does not operate.

      OK

      The Techstream display changes correctly in response to the operation of the front door outside handle assembly LH (for driver door).

    NG → See step   3 

    OK → See step   6 

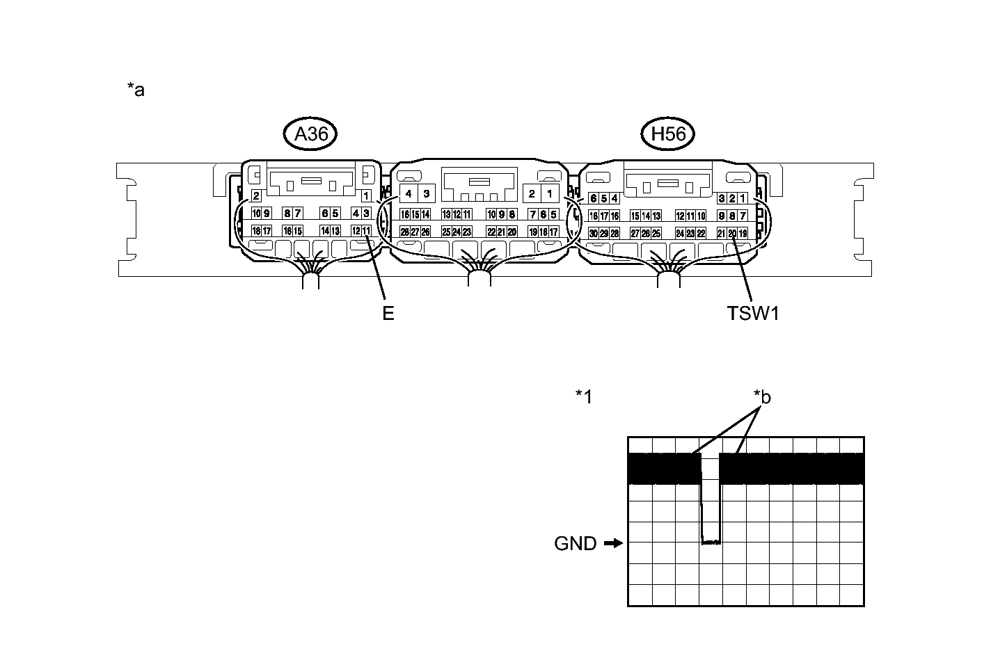
  3. CHECK HARNESS AND CONNECTOR (FRONT DOOR OUTSIDE HANDLE ASSEMBLY LH - CERTIFICATION ECU) 
    1. Disconnect the M11 front door outside handle assembly LH (for driver door) connector.
    2. Disconnect the A36 an H56 certification ECU (smart key ECU assembly) connectors.
    3. Measure the resistance according to the value(s) in the table below.

      Standard Resistance

      Tester Connection Condition Specified Condition
      M11-1 (TRG+) - H56-20 (TSW1) Always Below 1 Ω
      A36-11 (E) - Body ground Always Below 1 Ω
      M11-1 (TRG+) or H56-20 (TSW1) - Body ground Always 10 kΩ or higher

    NG → REPAIR OR REPLACE HARNESS OR CONNECTOR 

    OK: Go to next step 

  4. CHECK FRONT DOOR OUTSIDE HANDLE ASSEMBLY LH (FOR DRIVER DOOR) (DRIVER DOOR LOCK SENSOR SIGNAL INPUT) 
    1. Connect the M11 front door outside handle assembly LH (for driver door) connector.
      GTY416602Courtesy of © TOYOTA, LICENSE AGREEMENT TMS1002
      TEXT IN ILLUSTRATION

      *1 Waveform - -
      *a Component with harness connected
      (Certification ECU (smart key ECU assembly))
      *b In actuality, sampling is being performed
    2. Connect the A36 and H56 certification ECU (smart key ECU assembly) connectors.
    3. Using an oscilloscope, check the waveform.

      OK

      Tester Connection Condition Tool Setting Specified Condition
      H56-20 (TSW1) - A36-11 (E) Procedure:
      1. Engine switch off
      2. Electrical key transmitter sub-assembly brought outside vehicle
      3. All doors closed
      4. Driver door lock sensor not touched → touched
      2 V/DIV., 500 ms/DIV. Pulse generation (See waveform)

    NG → See step   7 

    OK → See step   6 

  5. GO TO POWER DOOR LOCK CONTROL SYSTEM. Refer to  HOW TO PROCEED WITH TROUBLESHOOTING [08/2013 - ] 
  6. REPLACE CERTIFICATION ECU (SMART KEY ECU ASSEMBLY). Refer to  REMOVAL [08/2013 - ] 
  7. REPLACE FRONT DOOR OUTSIDE HANDLE ASSEMBLY LH (FOR DRIVER DOOR). Refer to  DISASSEMBLY [08/2013 - ]