LEMON Manuals: Even more car manuals for everyone
Home >> Lexus >> 2014 >> CT 200h Base >> Repair and Diagnosis (Single Page) >> Accessories & Equipment >> Infotainment >> Navigation System (Diagnostic Codes & Symptom Tests) >> Navigation System >> Circuit Tests >> Visual Mute Signal Circuit between Navigation Receiver Assembly and Multi-display [12/2013 - ] >> Procedure

Visual Mute Signal Circuit between Navigation Receiver Assembly and Multi-display [12/2013 - ]: Procedure

  1. INSPECT MULTI-DISPLAY 
    1. Measure the voltage according to the value(s) in the table below.
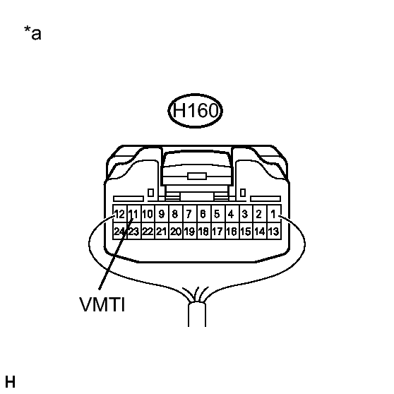
      GTY460210Courtesy of © TOYOTA, LICENSE AGREEMENT TMS1002

      Standard Voltage

      Tester Connection Condition Specified Condition
      H160-11 (VMTI) - Body ground Power switch on (ACC)
      Screen display changes
      3.5 V or higher
      → Below 1 V
      → 3.5 V or higher
      TEXT IN ILLUSTRATION

      *a Component with harness connected
      (Multi-display)

    NG → See step   2 

    OK → See step   4 

  2. CHECK HARNESS AND CONNECTOR (RADIO RECEIVER ASSEMBLY - MULTI-DISPLAY) 
    1. Disconnect the H140 radio receiver assembly connector.
    2. Disconnect the H160 multi-display connector.
    3. Measure the resistance according to the value(s) in the table below.

      Standard Resistance

      Tester Connection Condition Specified Condition
      H140-10 (VMTF) - H160 -11 (VMTI) Always Below 1 Ω
      H140-10 (VMTF) - Body ground Always 10 kΩ or higher

    NG → REPAIR OR REPLACE HARNESS OR CONNECTOR 

    OK: Go to next step 

  3. REPLACE MULTI-DISPLAY 
    1. Replace the multi-display with a new or known good one. Refer to REMOVAL [12/2013 - ] .
    2. Check that the screen display is normal.

      OK

      Screen display is normal.

    NG → See step   5 

    OK → END 

  4. PROCEED TO NEXT SUSPECTED AREA SHOWN IN PROBLEM SYMPTOMS TABLE. Refer to  PROBLEM SYMPTOMS TABLE [12/2013 - ] 
  5. REPLACE RADIO RECEIVER ASSEMBLY. Refer to  REMOVAL [12/2013 - ]