LEMON Manuals: Even more car manuals for everyone
Home >> Lexus >> 2014 >> CT 200h Base >> Repair and Diagnosis (Single Page) >> Accessories & Equipment >> Infotainment >> Navigation System (Diagnostic Codes & Symptom Tests) >> Navigation System >> Circuit Tests >> Microphone Circuit between Microphone and Navigation Receiver Assembly [12/2013 - ] >> Procedure

Microphone Circuit between Microphone and Navigation Receiver Assembly [12/2013 - ]: Procedure

  1. CHECK MICROPHONE (OPERATION CHECK) 
    1. Enter the "Microphone Check" screen.

      Refer to Check Microphone in Operation Check. Refer to OPERATION CHECK [12/2013 - ] .

      GTY430437Courtesy of © TOYOTA, LICENSE AGREEMENT TMS1002
    2. When a voice is input into the microphone, check that the microphone input level meter changes according to the input voice.
    3. Push the recording switch and perform voice recording.

      HINT: 

      • Select the recording switch with the blower motor of the air conditioning system stopped. If an outlet of the air conditioning system is facing the microphone, noise may be recorded.
      • Voice can be recorded for up to 5 seconds.
    4. Check that the recording indicator remains on while recording and that the recorded voice is played normally without noise or distortion.

      OK

      All check results are normal.

    NG → See step   2 

    OK → See step   13 

  2. CONFIRM MODEL 
    1. Choose the model to be inspected.

      Result

      Model Proceed to
      w/o Manual (SOS) switch A
      w/ Manual (SOS) switch B

    B → See step   5 

    A: Go to next step 

  3. CHECK HARNESS AND CONNECTOR (RADIO RECEIVER ASSEMBLY - MAP LIGHT ASSEMBLY (TELEPHONE MICROPHONE ASSEMBLY)) 
    1. Disconnect the H140 radio receiver assembly connector.
    2. Disconnect the T6 map light assembly (telephone microphone assembly) connector.
    3. Measure the resistance according to the value(s) in the table below.

      Standard Resistance

      Tester Connection Condition Specified Condition
      H140-29 (MACC) - T6-14 (MACC) Always Below 1 Ω
      H140-27 (MIN+) - T6-13 (MCO+) Always Below 1 Ω
      H140-48 (MIN-) - T6-12 (MCO-) Always Below 1 Ω
      H140-49 (SNS2) - T6-11 (SNS2) Always Below 1 Ω
      H140-29 (MACC) - Body ground Always 10 kΩ or higher
      H140-27 (MIN+) - Body ground Always 10 kΩ or higher
      H140-48 (MIN-) - Body ground Always 10 kΩ or higher
      H140-28 (SGND) - Body ground Always 10 kΩ or higher
      H140-49 (SNS2) - Body ground Always 10 kΩ or higher

    NG → REPAIR OR REPLACE HARNESS OR CONNECTOR 

    OK: Go to next step 

  4. INSPECT RADIO RECEIVER ASSEMBLY 
    1. Measure the voltage according to the value(s) in the table below.
      GTY461255Courtesy of © TOYOTA, LICENSE AGREEMENT TMS1002

      Standard Voltage

      Tester Connection Condition Specified Condition
      H140-29 (MACC) - Body ground Power switch on (ACC) 4 to 6 V
    2. Measure the resistance according to the value(s) in the table below.

      Standard Resistance

      Tester Connection Condition Specified Condition
      H140-28 (SGND) - Body ground Always Below 1 Ω
      H140-48 (MIN-) - Body ground Always Below 1 Ω
    3. Proceed to the next step based on the inspection result.

      Result

      Result Proceed to
      NG A
      OK B
      TEXT IN ILLUSTRATION

      *a Component with harness connected
      (Radio Receiver Assembly)

    B → See step   10 

    A → See step   14 

  5. CHECK HARNESS AND CONNECTOR (RADIO RECEIVER ASSEMBLY - MAP LIGHT ASSEMBLY (TELEPHONE MICROPHONE ASSEMBLY)) 
    1. Disconnect the H140 radio receiver assembly connector.
    2. Disconnect the T6 map light assembly (telephone microphone assembly) connector.
    3. Measure the resistance according to the value(s) in the table below.

      Standard Resistance

      Tester Connection Condition Specified Condition
      H140-49 (SNS2) - T6-11 (SNS2) Always Below 1 Ω
      H140-49 (SNS2) - Body ground Always 10 kΩ or higher

    NG → REPAIR OR REPLACE HARNESS OR CONNECTOR 

    OK: Go to next step 

  6. CHECK HARNESS AND CONNECTOR (RADIO RECEIVER ASSEMBLY - DCM (TELEMATICS TRANSCEIVER)) 
    1. Disconnect the H140 radio receiver assembly connector.
    2. Disconnect the H67 DCM (telematics transceiver) connector.
    3. Measure the resistance according to the value(s) in the table below.

      Standard Resistance

      Tester Connection Condition Specified Condition
      H140-27 (MIN+) - H67-18 (MCO+) Always Below 1 Ω
      H140-48 (MIN-) - H67-19 (MCO-) Always Below 1 Ω
      H140-27 (MIN+) - Body ground Always 10 kΩ or higher
      H140-48 (MIN-) - Body ground Always 10 kΩ or higher
      H140-28 (SGND) - Body ground Always 10 kΩ or higher

    NG → REPAIR OR REPLACE HARNESS OR CONNECTOR 

    OK: Go to next step 

  7. CHECK HARNESS AND CONNECTOR (DCM (TELEMATICS TRANSCEIVER) - MAP LIGHT ASSEMBLY (TELEPHONE MICROPHONE ASSEMBLY)) 
    1. Disconnect the H67 DCM (telematics transceiver) connector.
    2. Disconnect the T6 map light assembly (telephone microphone assembly) connector.
    3. Measure the resistance according to the value(s) in the table below.

      Standard Resistance

      Tester Connection Condition Specified Condition
      H67-33 (MCVD) - T6-14 (MACC) Always Below 1 Ω
      H67-34 (MCI+) - T6-13 (MCO+) Always Below 1 Ω
      H67-35 (MCI-) - T6-12 (MCO-) Always Below 1 Ω
      H67-33 (MCVD) - Body ground Always 10 kΩ or higher
      H67-34 (MCI+) - Body ground Always 10 kΩ or higher
      H67-35 (MCI-) - Body ground Always 10 kΩ or higher
      H67-32 (SGND) - Body ground Always 10 kΩ or higher

    NG → REPAIR OR REPLACE HARNESS OR CONNECTOR 

    OK: Go to next step 

  8. INSPECT RADIO RECEIVER ASSEMBLY 
    1. Disconnect the H67 DCM (telematics transceiver) connector.
      GTY462199Courtesy of © TOYOTA, LICENSE AGREEMENT TMS1002
    2. Measure the resistance according to the value(s) in the table below.

      Standard Resistance

      Tester Connection Condition Specified Condition
      H140-28 (SGND) - Body ground Always Below 1 Ω
      H140-48 (MIN-) - Body ground Always Below 1 Ω
      TEXT IN ILLUSTRATION

      *a Component with harness connected
      (Radio Receiver Assembly)

    NG → See step   14 

    OK: Go to next step 

  9. INSPECT DCM (TELEMATICS TRANSCEIVER) 
    1. Measure the voltage according to the value(s) in the table below.
      GTY463781Courtesy of © TOYOTA, LICENSE AGREEMENT TMS1002

      Standard Voltage

      Tester Connection Condition Specified Condition
      H67-33 (MCVD) - Body ground Power switch on (ACC) 4 to 6 V
    2. Measure the resistance according to the value(s) in the table below.

      Standard Resistance

      Tester Connection Condition Specified Condition
      H67-35 (MCI-) - Body ground Always Below 1 Ω
      H67-32 (SGND) - Body ground Always Below 1 Ω
      TEXT IN ILLUSTRATION

      *a Component with harness connected
      (DCM (Telematics Transceiver))

    NG → See step   15 

    OK: Go to next step 

  10. INSPECT MAP LIGHT ASSEMBLY (TELEPHONE MICROPHONE ASSEMBLY) 
    1. Remove the map light assembly (telephone microphone assembly). Refer to REMOVAL [12/2013 - ] .
    2. Measure the resistance according to the value(s) in the table below.
      GTY411480Courtesy of © TOYOTA, LICENSE AGREEMENT TMS1002

      Standard Resistance

      Tester Connection Condition Specified Condition
      11 (SNS2) - 12 (MCO-) Always Below 1 Ω
      TEXT IN ILLUSTRATION

      *a Component without harness connected
      (Map Light Assembly (Telephone Microphone Assembly))

    NG → See step   16 

    OK: Go to next step 

  11. INSPECT MAP LIGHT ASSEMBLY (TELEPHONE MICROPHONE ASSEMBLY) 
    1. Turn the power switch on (ACC).
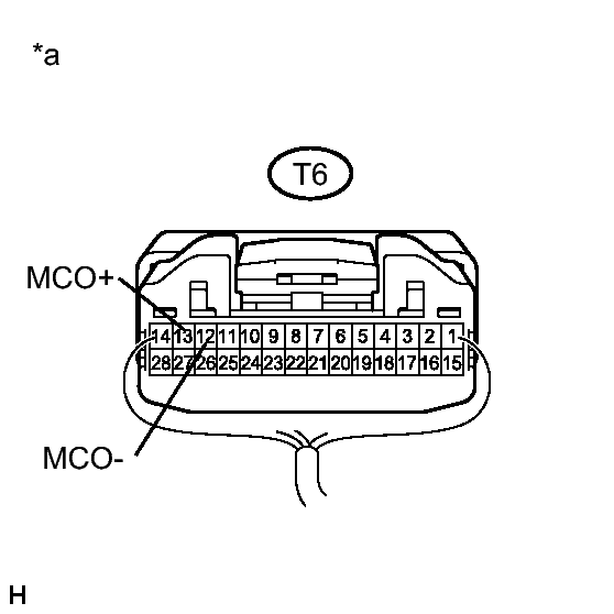
    2. Connect an oscilloscope to terminals 13 (MCO+) and 12 (MCO-) of the T6 map light assembly (telephone microphone assembly) connector.
      GTY457406Courtesy of © TOYOTA, LICENSE AGREEMENT TMS1002
    3. Check the waveform of the map light assembly (telephone microphone assembly) using the oscilloscope.

      Result

      Result Proceed to
      A waveform synchronized with the voice input to the map light assembly (telephone microphone assembly) is output. A
      A waveform synchronized with the voice input to the map light assembly (telephone microphone assembly) is not output. B
      TEXT IN ILLUSTRATION

      *a Component with harness connected
      (Map Light Assembly (Telephone Microphone Assembly))

    B → See step   12 

    A → See step   13 

  12. REPLACE TELEPHONE MICROPHONE ASSEMBLY 
    1. Replace the telephone microphone assembly with a new or known good one. Refer to REMOVAL [12/2013 - ] .
    2. Check if the same malfunction recurs.

      Result

      Result Proceed to
      Malfunction does not recur
      (returns to normal)
      A
      Malfunction recurs B

    B → See step   17 

    A → END 

  13. PROCEED TO NEXT SUSPECTED AREA SHOWN IN PROBLEM SYMPTOMS TABLE. Refer to  PROBLEM SYMPTOMS TABLE [12/2013 - ] 
  14. REPLACE RADIO RECEIVER ASSEMBLY. Refer to  REMOVAL [12/2013 - ] 
  15. REPLACE DCM (TELEMATICS TRANSCEIVER). Refer to  REMOVAL [12/2013 - ] 
  16. REPLACE MAP LIGHT ASSEMBLY (TELEPHONE MICROPHONE ASSEMBLY). Refer to  REMOVAL [12/2013 - ] 
  17. REPLACE MAP LIGHT ASSEMBLY. Refer to  REMOVAL [12/2013 - ]