LEMON Manuals: Even more car manuals for everyone
Home >> Lexus >> 2014 >> CT 200h Base >> Repair and Diagnosis (Single Page) >> Accessories & Equipment >> Drivers Assistance Systems - ADAS >> Rear View Monitor System (Diagnostics & Circuit Tests) >> Rear View Monitor System >> System Description [12/2013 - ] >> System Description [12/2013 - ]

System Description [12/2013 - ]

  1. GENERAL 
    1. To assist the driver with parking the vehicle by displaying an image of the area behind the vehicle, this system has a rear television camera assembly mounted on the back door. The system displays the image on the inner rear view mirror assembly.
    2. The rear view monitor system consists of the following components:
      1. Rear television camera assembly
      2. Inner rear view mirror assembly
      3. No. 1 integration relay
  2. FUNCTION OF COMPONENTS 
    Item Function
    Rear Television Camera Assembly
    • Mounted on the back door to transmit an image of the area behind the vehicle to the inner rear view mirror assembly.
    • Has a color video camera that uses a Complementary Metal Oxide Semiconductor (CMOS) and a wide-angle lens.
    Inner Rear View Mirror Assembly
    • Receives video signals, which contain an image of the area behind the vehicle taken with the rear television camera assembly.
    • Performs control of the system by receiving the reverse signal from the No. 1 integration relay.
    No. 1 Integration Relay Transmits a reverse signal to the inner rear view mirror assembly.
  3. OPERATION EXPLANATION (w/o Garage Door Opener) 
    1. The inner rear view mirror assembly receives the reverse signal when reverse (R) is selected. After receiving the reverse signal, the inner rear view mirror assembly displays an image of the area behind the vehicle from the rear television camera assembly (LED Indicator: Green).
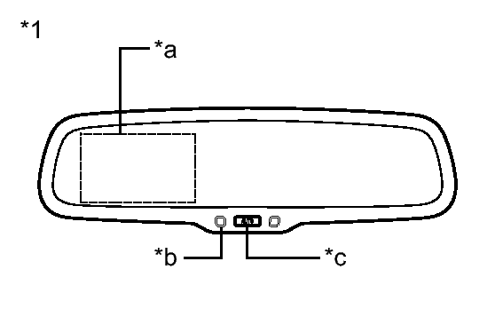
      Fig 1: Identifying Inner Rear View Mirror Assembly (W/O Navigation System And W/O Garage Door Opener)
      GTY402695Courtesy of © TOYOTA, LICENSE AGREEMENT TMS1002
      TEXT IN ILLUSTRATION

      *1 Inner Rear View Mirror Assembly
      *a Display
      *b LED Indicator
      *c AUTO Button

      HINT: 

      • When the shift lever is moved to any position except R, the display turns off. Also, the display automatically turns off after continuous operation for 5 minutes.
      • When the image from the rear television camera assembly is displayed, the display can be turned off by pressing the AUTO button (LED Indicator: Green → Amber). The image can be re-displayed by pressing the AUTO button once again (LED Indicator: Amber → Green).
    2. The operation conditions of the rear view monitor system are as follows:
      • The power switch is on (READY).
      • Reverse (R) is selected.
      • The LED Indicator on the inner rear view mirror assembly is green (The LED Indicator color changes by pressing the AUTO button).
  4. OPERATION EXPLANATION (w/ Garage Door Opener) 
    1. The inner rear view mirror assembly receives the reverse signal when reverse (R) is selected. After receiving the reverse signal, the inner rear view mirror assembly displays an image of the area behind the vehicle from the rear television camera assembly (LED Indicator: Green).
      Fig 2: Identifying Inner Rear View Mirror Assembly Components
      GTY412810Courtesy of © TOYOTA, LICENSE AGREEMENT TMS1002
      TEXT IN ILLUSTRATION

      *1 Inner Rear View Mirror Assembly
      *a Display
      *b LED Indicator
      *c On/Off Button

      HINT: 

      • When the shift lever is moved to any position except R, the display turns off. Also, the display automatically turns off after continuous operation for 5 minutes.
      • When the image from the rear television camera assembly is displayed, the display can be turned off by pressing the on/off button (LED Indicator: Green → Amber). The image can be re-displayed by pressing the on/off button once again (LED Indicator: Amber → Green).
    2. The operation conditions of the rear view monitor system are as follows:
      • The power switch is on (READY).
      • Reverse (R) is selected.
      • The LED Indicator on the inner rear view mirror assembly is green (The LED Indicator color changes by pressing the on/off button).