LEMON Manuals: Even more car manuals for everyone
Home >> Lexus >> 2013 >> LS 460 Base, AWD >> Repair and Diagnosis >> Steering >> Steering Column >> Steering Lock System (Diagnostic Codes & Circuit Tests) >> Steering Lock System >> DTC B2788: IG2 Signal Malfunction >> Procedure

DTC B2788: IG2 Signal Malfunction: Procedure

  1. CHECK STEERING LOCK ACTUATOR (IG2 VOLTAGE) 
    GTY289232Courtesy of © TOYOTA, LICENSE AGREEMENT TMS1002
    1. Measure the voltage according to the value(s) in the table below.

      Standard voltage

      Tester Connection Switch Condition Specified Condition
      L33-6 (IG2) - L33-2 (SGND) Engine switch on (IG) 11 to 14 V
      L33-6 (IG2) - L33-2 (SGND) Engine switch off Below 1 V

    OK → REPLACE STEERING LOCK ACTUATOR 

    NG: Go to next step 

  2. INSPECT FUSE (ECU-IG, P IG2) 
    1. Remove the ECU-IG fuse from the engine room No. 2 junction block.
    2. Remove the P IG2 fuse from the passenger side junction block.
    3. Measure the resistance of the fuses.

      Standard resistance

      Tester Connection Condition Specified Condition
      ECU-IG fuse Always Below 1 Ω
      P IG2 fuse Always Below 1 Ω

    NG → REPLACE FUSE 

    OK: Go to next step 

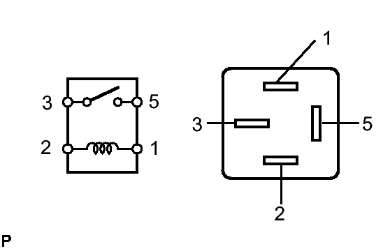
  3. INSPECT IGNITION RELAY NO. 2 (IG2) 
    1. Remove the ignition relay No. 2 from the engine room No. 2 junction block.
      GTY264765Courtesy of © TOYOTA, LICENSE AGREEMENT TMS1002
    2. Measure the resistance according to the value(s) in the table below.

      Standard resistance

      Tester Connection Condition Specified Condition
      3 - 5 When battery voltage is not applied to terminals 1 and 2 10 kΩ or higher
      3 - 5 When battery voltage is applied to terminals 1 and 2 Below 1 Ω

    NG → REPLACE IG2 RELAY 

    OK: Go to next step 

  4. CHECK HARNESS AND CONNECTOR (IG2 RELAY - MAIN BODY ECU AND BODY GROUND) 
    GTY288251Courtesy of © TOYOTA, LICENSE AGREEMENT TMS1002
    1. Disconnect the L12 main body ECU connector.
    2. Remove the ignition relay No. 2 from the engine room No. 2 junction block.
    3. Measure the resistance according to the value(s) in the table below.

      Standard resistance

      Tester Connection Condition Specified Condition
      L12-11 (IG2D) - Relay block ignition relay No. 2 terminal 1 Always Below 1 Ω
      L12-11 (IG2D) - Body ground Always 10 kΩ or higher
      Relay block ignition relay No. 2 terminal 2 - Body ground Always Below 1 Ω

    NG → REPAIR OR REPLACE HARNESS OR CONNECTOR 

    OK: Go to next step 

  5. CHECK MAIN BODY ECU (IG2D OPERATION) 
    1. Connect the L12 main body ECU connector.
    2. Remove the ignition relay No. 2 from the engine room No. 2 junction block.
      GTY288252Courtesy of © TOYOTA, LICENSE AGREEMENT TMS1002
    3. Measure the voltage according to the value(s) in the table below.

      Standard voltage

      Tester Connection Switch Condition Specified Condition
      Relay block ignition relay No. 2 terminal 1 - Body ground Engine switch on (IG) 11 to 14 V

    NG → REPLACE MAIN BODY ECU 

    OK: Go to next step 

  6. CHECK HARNESS AND CONNECTOR (STEERING LOCK ECU - BATTERY) 
    1. Disconnect the L33 steering lock ECU connector.
      GTY285669Courtesy of © TOYOTA, LICENSE AGREEMENT TMS1002
    2. Measure the voltage according to the value(s) in the table below.

      Standard voltage

      Tester Connection Switch Condition Specified Condition
      L33-6 (IG2) - Body ground Engine switch on (IG) 11 to 14 V

    NG → REPAIR OR REPLACE HARNESS OR CONNECTOR 

    OK → REPLACE STEERING LOCK ACTUATOR