LEMON Manuals: Even more car manuals for everyone
Home >> Lexus >> 2013 >> IS 350C Base >> Repair and Diagnosis (Single Page) >> Steering >> Power Steering >> Power Steering System (Diagnostics - Introduction) >> Power Steering System >> System Diagram [08/2012 - ] >> System Diagram [08/2012 - ]

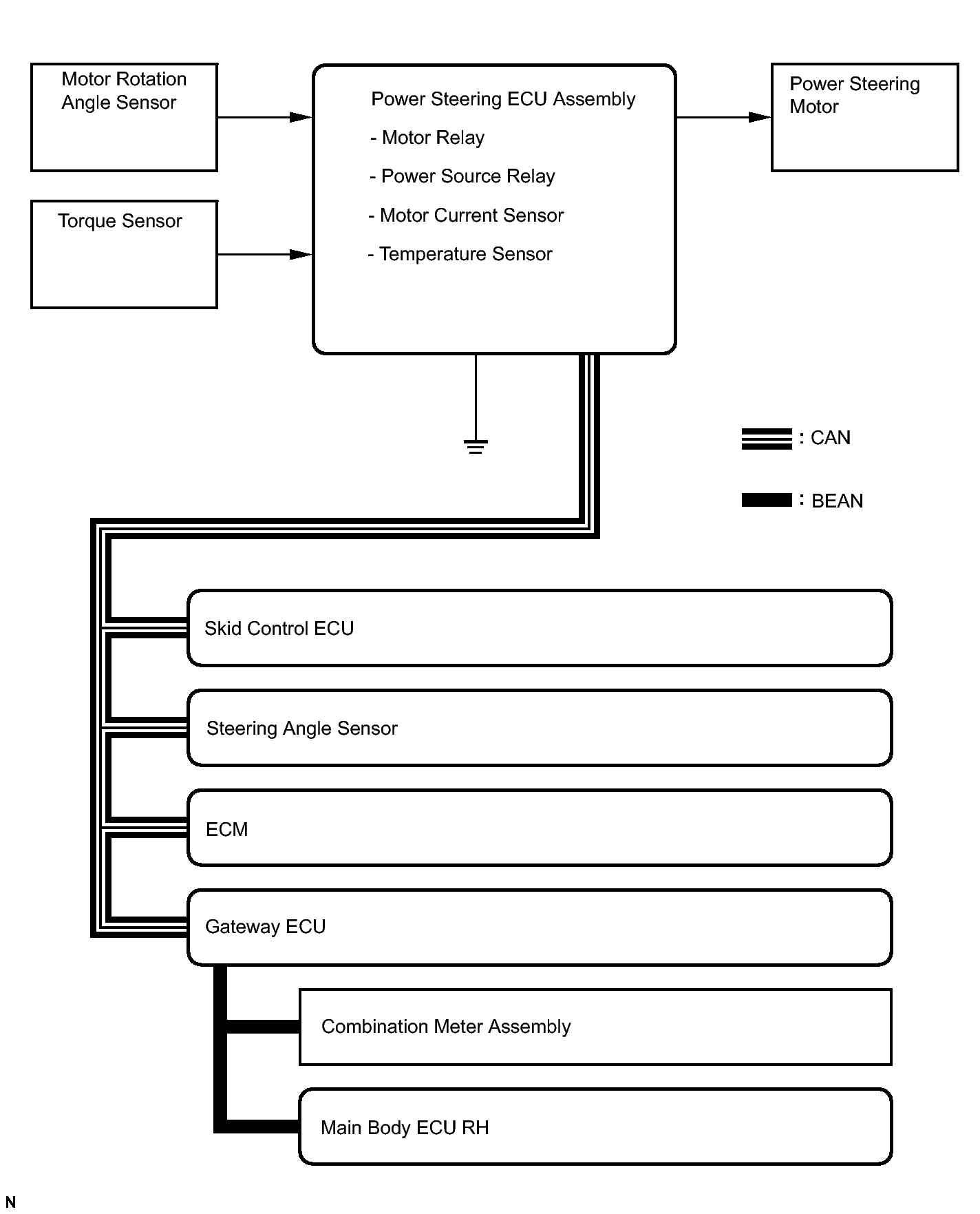
System Diagram [08/2012 - ]

Fig 1: Power Steering System Diagram
GTY257572Courtesy of © TOYOTA, LICENSE AGREEMENT TMS1002
Transmitting ECU
(Transmitter)
Receiving ECU Signal Communication Method
ECM Power Steering ECU Assembly T/M variation information signal CAN
ECM Power Steering ECU Assembly Engine speed signal CAN
ECM Power Steering ECU Assembly Ambient temperature signal CAN
ECM Power Steering ECU Assembly Intake air temperature signal CAN
ECM Power Steering ECU Assembly Engine variation information signal CAN
ECM Power Steering ECU Assembly Vehicle destination information signal CAN
ECM Power Steering ECU Assembly TC terminal condition CAN
Skid Control ECU Power Steering ECU Assembly Output command value (to EPS) signal CAN
Skid Control ECU Power Steering ECU Assembly Additional torque target signal CAN
Skid Control ECU Power Steering ECU Assembly Vehicle speed (SP1) status signal CAN
Skid Control ECU Power Steering ECU Assembly Target steering angle signal CAN
Skid Control ECU Power Steering ECU Assembly Target steering angle and additional torque valid signal CAN
Skid Control ECU Power Steering ECU Assembly Vehicle speed (SP1) signal CAN
Skid Control ECU Power Steering ECU Assembly Test mode signal CAN
Skid Control ECU Power Steering ECU Assembly VSC controlling signal CAN
Skid Control ECU Power Steering ECU Assembly ABS controlling signal CAN
Steering Angle Sensor Power Steering ECU Assembly Data continuity (valid/invalid) signal CAN
Steering Angle Sensor Power Steering ECU Assembly +B open circuit signal CAN
Steering Angle Sensor Power Steering ECU Assembly Sensor malfunction signal CAN
Steering Angle Sensor Power Steering ECU Assembly Steering angle signal CAN
Steering Angle Sensor Power Steering ECU Assembly Zero point memory (in sensor) valid/invalid signal CAN
Steering Angle Sensor Power Steering ECU Assembly Zero point (stored in steering angle sensor) signal CAN
Main body ECU RH Power Steering ECU Assembly Vehicle model signal BEAN, CAN
Power Steering ECU Assembly Skid Control ECU EPS pinion angle invalid signal CAN
Power Steering ECU Assembly Skid Control ECU EPS assisting current invalid signal CAN
Power Steering ECU Assembly Skid Control ECU EPS torque sensor value invalid signal CAN
Power Steering ECU Assembly ECM EPS idle up request signal CAN
Power Steering ECU Assembly Skid Control ECU EPS torque sensor value signal CAN
Power Steering ECU Assembly Skid Control ECU EPS pinion angle signal CAN
Power Steering ECU Assembly Skid Control ECU EPS assisting current signal CAN
Power Steering ECU Assembly Combination Meter EPS light ON request signal BEAN, CAN
Power Steering ECU Assembly Combination Meter EPS diagnostic information signal BEAN, CAN