LEMON Manuals: Even more car manuals for everyone
Home >> Lexus >> 2013 >> IS 350C Base >> Repair and Diagnosis (Single Page) >> Restraints >> Air Bag, SRS >> Occupant Classification System (Diagnostic Codes & Symptom Tests) >> Occupant Classification System >> DTC B1771: Passenger Side Buckle Switch Circuit Malfunction >> Procedure

DTC B1771: Passenger Side Buckle Switch Circuit Malfunction: Procedure

  1. CHECK CONNECTORS 
    1. Turn the engine switch off.
    2. Disconnect the cable from the negative (-) battery terminal.
    3. Check that the connectors are properly connected to the occupant classification ECU and front seat inner belt assembly RH.

      OK

      The connectors are properly connected.

      HINT: 

      If the connectors are not connected securely, reconnect the connectors and proceed to the next inspection.

    4. Disconnect the connectors from the occupant classification ECU and front seat inner belt assembly RH.
    5. Check that the terminals of the connectors are not damaged.

      OK

      The terminals are not deformed or damaged.

    NG → REPLACE FRONT SEAT WIRE RH 

    OK: Go to next step 

  2. CHECK FRONT SEAT WIRE RH (SHORT TO B+) 
    1. Connect the cable to the negative (-) battery terminal.
      GTY260179Courtesy of © TOYOTA, LICENSE AGREEMENT TMS1002
    2. Turn the engine switch on (IG).
    3. Measure the voltage according to the value(s) in the table below.

      Standard Voltage

      Tester Connection Switch Condition Specified Condition
      T16-13 (BSW) - Body ground Engine switch on (IG) Below 1 V
      T16-14 (BGND) - Body ground Engine switch on (IG) Below 1 V
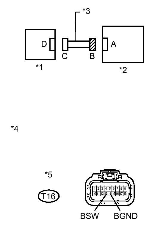
      TEXT IN ILLUSTRATION

      *1 Front Seat Inner Belt Assembly RH
      *2 Occupant Classification ECU
      *3 Front Seat Wire RH
      *4 Front view of wire harness connector
      (to Occupant Classification ECU)
      *5 Connector B

    NG → REPLACE FRONT SEAT WIRE RH 

    OK: Go to next step 

  3. CHECK FRONT SEAT WIRE RH (OPEN) 
    1. Turn the engine switch off.
      GTY256811Courtesy of © TOYOTA, LICENSE AGREEMENT TMS1002
    2. Disconnect the cable from the negative (-) battery terminal.
    3. Using SST, connect terminals 1 (RBE-) and 2 (RBE+) of connector C.
      NOTE: Do not forcibly insert SST into the terminals of the connector when connecting the wire.
      • SST: 09843-18040 
    4. Measure the resistance according to the value(s) in the table below.

      Standard Resistance

      Tester Connection Condition Specified Condition
      T16-13 (BSW) - T16-14 (BGND) Always Below 1 Ω
      TEXT IN ILLUSTRATION

      *1 Front Seat Inner Belt Assembly RH *2 Occupant Classification ECU
      *3 Front Seat Wire RH *4 Front view of wire harness connector
      (to Occupant Classification ECU)
      *5 Front view of wire harness connector
      (to Front Seat Inner Belt Assembly RH)
      *6 Connector B
      *7 Connector C - -

    NG → REPLACE FRONT SEAT WIRE RH 

    OK: Go to next step 

  4. CHECK FRONT SEAT WIRE RH (SHORT TO GROUND) 
    1. Disconnect SST from connector C.
      GTY260179Courtesy of © TOYOTA, LICENSE AGREEMENT TMS1002
    2. Measure the resistance according to the value(s) in the table below.

      Standard Resistance

      Tester Connection Condition Specified Condition
      T16-13 (BSW) - Body ground Always 1 MΩ or higher
      T16-14 (BGND) - Body ground Always 1 MΩ or higher
      TEXT IN ILLUSTRATION

      *1 Front Seat Inner Belt Assembly RH
      *2 Occupant Classification ECU
      *3 Front Seat Wire RH
      *4 Front view of wire harness connector
      (to Occupant Classification ECU)
      *5 Connector B

    NG → REPLACE FRONT SEAT WIRE RH 

    OK: Go to next step 

  5. CHECK FRONT SEAT WIRE RH (SHORT) 
    1. Measure the resistance according to the value(s) in the table below.
      GTY260179Courtesy of © TOYOTA, LICENSE AGREEMENT TMS1002

      Standard Resistance

      Tester Connection Condition Specified Condition
      T16-13 (BSW) - T16-14 (BGND) Always 1 MΩ or higher
      TEXT IN ILLUSTRATION

      *1 Front Seat Inner Belt Assembly RH
      *2 Occupant Classification ECU
      *3 Front Seat Wire RH
      *4 Front view of wire harness connector
      (to Occupant Classification ECU)
      *5 Connector B

    NG → REPLACE FRONT SEAT WIRE RH 

    OK: Go to next step 

  6. CHECK DTC 
    1. Connect the connectors to the occupant classification ECU and front seat inner belt assembly RH.
    2. Connect the cable to the negative (-) battery terminal.
    3. Turn the engine switch on (IG).
    4. Clear the DTCs stored in the occupant classification ECU. Refer to DTC CHECK/CLEAR [08/2012 - ] .
    5. Clear the DTCs stored in the center airbag sensor assembly. Refer to DTC CHECK/CLEAR [08/2012 - ] .
    6. Turn the engine switch off.
    7. Turn the engine switch on (IG).
    8. Check for DTCs. Refer to DTC CHECK/CLEAR [08/2012 - ] .

      OK

      DTC B1771 is not output.

      HINT: 

      Codes other than B1771 may be output at this time, but they are not related to this check.

    NG → See step   7 

    OK → See step   10 

  7. INSPECT FRONT SEAT INNER BELT ASSEMBLY RH 
    1. Turn the engine switch off.
    2. Disconnect the cable from the negative (-) battery terminal.
    3. Replace the front seat inner belt assembly RH with a known good part. Refer to REMOVAL [08/2012 - ] .

      HINT: 

      Perform an inspection using known good parts from another vehicle if possible.

    4. Connect the cable to the negative (-) battery terminal.
    5. Turn the engine switch on (IG).
    6. Clear the DTCs stored in the occupant classification ECU. Refer to DTC CHECK/CLEAR [08/2012 - ] .
    7. Clear the DTCs stored in the center airbag sensor assembly. Refer to DTC CHECK/CLEAR [08/2012 - ] .
    8. Turn the engine switch off.
    9. Turn the engine switch on (IG).
    10. Check for DTCs. Refer to DTC CHECK/CLEAR [08/2012 - ] .

      OK

      DTC B1771 is not output.

      HINT: 

      Codes other than B1771 may be output at this time, but they are not related to this check.

    NG → See step   8 

    OK → END 

  8. REPLACE OCCUPANT CLASSIFICATION ECU 
    1. Connect the Techstream to the DLC3.
    2. Turn the engine switch on (IG).
    3. Using the Techstream, save the ECU data from the ECU currently installed on the vehicle. Refer to REGISTRATION [08/2012 - ] .
    4. Turn the engine switch off.
    5. Disconnect the cable from the negative (-) battery terminal.
    6. Replace the occupant classification ECU. Refer to REMOVAL [08/2012 - ] .
    7. Connect the cable to the negative (-) battery terminal.
    8. Turn the engine switch on (IG).
    9. Using the Techstream, load the previous ECU data stored into the new ECU. Refer to REGISTRATION [08/2012 - ] .
    10. Turn the engine switch off.
    11. Turn the engine switch on (IG).
    12. Clear the DTCs stored in the memory. Refer to DTC CHECK/CLEAR [08/2012 - ] .

      HINT: 

      If the DTCs are not cleared at this time, history DTC will remain.

    NEXT: Go to next step 

  9. PERFORM SENSITIVITY CHECK 
    1. Perform the sensitivity check. Refer to INITIALIZATION [08/2012 - ] .

    NEXT → END 

  10. USE SIMULATION METHOD TO CHECK. Refer to  HOW TO PROCEED WITH TROUBLESHOOTING [08/2012 - ]