LEMON Manuals: Even more car manuals for everyone
Home >> Lexus >> 2013 >> IS 350C Base >> Repair and Diagnosis (Single Page) >> Accessories & Equipment >> Wiper/Washer Systems >> Wiper System/ Washer System (Diagnostics & Circuit Tests) >> Wiper And Washer System >> Circuit Tests >> Headlight Cleaner Motor and Relay Circuit >> Procedure

Headlight Cleaner Motor and Relay Circuit: Procedure

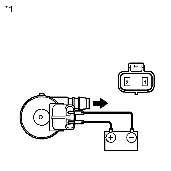
  1. INSPECT HEADLIGHT CLEANER MOTOR AND PUMP ASSEMBLY 

    HINT: 

    The following check should be performed with the headlight cleaner motor and pump assembly installed to the washer jar.

    1. Fill the washer jar with washer fluid.
    2. Connect a positive (+) battery lead to terminal 1 of the headlight cleaner motor and pump assembly, and a negative (-) battery lead to terminal 2.
      GTY266650Courtesy of © TOYOTA, LICENSE AGREEMENT TMS1002
    3. Check that washer fluid flows from the washer jar.

      OK

      Washer fluid is pumped from the washer jar.

      TEXT IN ILLUSTRATION

      *1 Component without harness connected
      (Headlight Cleaner Motor and Pump Assembly)

    NG → See step   4 

    OK: Go to next step 

  2. CHECK HARNESS AND CONNECTOR (HEADLIGHT CLEANER MOTOR CIRCUIT) 
    1. Connect the headlight cleaner motor and pump assembly connector.
    2. Disconnect the A3 headlight cleaner control relay connector.
      GTY265502Courtesy of © TOYOTA, LICENSE AGREEMENT TMS1002
    3. Measure the voltage according to the value(s) in the table below.

      Standard Voltage

      Tester Connection Condition Specified Condition
      A3-3 (IG) - A3-4 (E) Engine switch off Below 1 V
      Engine switch on (IG) 11 to 14 V
      A3-6 (PB) - A3-4 (E) Always 11 to 14 V
      TEXT IN ILLUSTRATION

      *1 Front view of wire harness connector
      (to Headlight Cleaner Control Relay)

    NG → REPAIR OR REPLACE HARNESS OR CONNECTOR (HEADLIGHT CLEANER CONTROL RELAY - BATTERY) 

    OK → See step   3 

  3. PROCEED TO NEXT SUSPECTED AREA SHOWN IN PROBLEM SYMPTOMS TABLE. Refer to  PROBLEM SYMPTOMS TABLE [08/2012 - ]  
  4. REPLACE HEADLIGHT CLEANER MOTOR AND PUMP ASSEMBLY. Refer to  REMOVAL [08/2012 - ]