LEMON Manuals: Even more car manuals for everyone
Home >> Lexus >> 2013 >> IS 350C Base >> Repair and Diagnosis (Single Page) >> Accessories & Equipment >> Infotainment >> Navigation System (Diagnostic Codes & Circuit Tests) >> Navigation System >> Circuit Tests >> Vehicle Speed Signal Circuit Between Stereo Component Amplifier and Combination Meter >> Procedure

Vehicle Speed Signal Circuit Between Stereo Component Amplifier and Combination Meter: Procedure

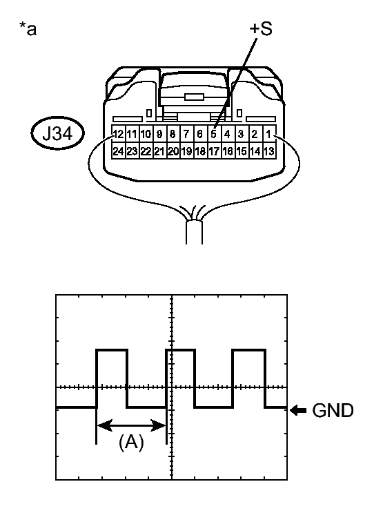
  1. INSPECT COMBINATION METER ASSEMBLY (OUTPUT WAVEFORM) 
    1. Check the output waveform.
      GTY415791Courtesy of © TOYOTA, LICENSE AGREEMENT TMS1002
      1. Remove the combination meter assembly with the connector still connected.
      2. Connect an oscilloscope to terminal J34-5 (+S) and body ground.
      3. Turn the engine switch on (IG).
      4. Turn a wheel slowly.
      5. Check the signal waveform according to the condition(s) in the table below.
        Item Condition
        Measurement terminal J34-5 (+S) - Body ground
        Tool setting 5 V/DIV., 20 ms./DIV.
        Vehicle condition Wheel being rotated

        OK

        The waveform is similar to that shown.

        HINT: 

        When the system is functioning normally, one wheel revolution generates 4 pulses. As the vehicle speed increases, the width indicated by (A) in the graphic narrows.

        TEXT IN ILLUSTRATION

        *a Component with harness connected
        (Combination Meter Assembly)

    NG → See step   3 

    OK: Go to next step 

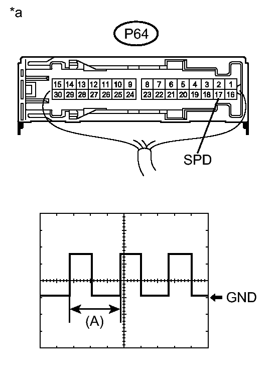
  2. INSPECT STEREO COMPONENT AMPLIFIER ASSEMBLY (INPUT WAVEFORM) 
    1. Check the input waveform.
      GTY403659Courtesy of © TOYOTA, LICENSE AGREEMENT TMS1002
      1. Remove the stereo component amplifier assembly with the connector still connected.
      2. Connect an oscilloscope to terminal P64-17 (SPD) and body ground.
      3. Turn the engine switch on (IG).
      4. Turn a wheel slowly.
      5. Check the signal waveform according to the condition(s) in the table below.
        Item Condition
        Measurement terminal P64-17 (SPD) - Body ground
        Tool setting 5 V/DIV., 20 ms./DIV.
        Vehicle condition Wheel being rotated

        OK

        The waveform is similar to that shown.

        HINT: 

        When the system is functioning normally, one wheel revolution generates 4 pulses. As the vehicle speed increases, the width indicated by (A) in the graphic narrows.

        TEXT IN ILLUSTRATION

        *a Component with harness connected
        (Stereo Component Amplifier Assembly)

    NG → REPAIR OR REPLACE HARNESS OR CONNECTOR (STEREO COMPONENT AMPLIFIER ASSEMBLY - COMBINATION METER ASSEMBLY) 

    OK → See step   4 

  3. REPLACE COMBINATION METER ASSEMBLY. Refer to  REMOVAL [08/2012 - ] 
  4. PROCEED TO NEXT SUSPECTED AREA SHOWN IN PROBLEM SYMPTOMS TABLE. Refer to  PROBLEM SYMPTOMS TABLE [08/2012 - ]