LEMON Manuals: Even more car manuals for everyone
Home >> Lexus >> 2013 >> IS 250C Base >> Repair and Diagnosis (Single Page) >> Restraints >> Air Bag, SRS >> Occupant Classification System (Diagnostic Codes & Symptom Tests) >> Occupant Classification System >> DTC B1790: Center Airbag Sensor Assembly Communication Circuit Malfunction >> Procedure

DTC B1790: Center Airbag Sensor Assembly Communication Circuit Malfunction: Procedure

  1. CHECK CONNECTORS 
    1. Turn the engine switch off.
    2. Disconnect the cable from the negative (-) battery terminal.
      WARNING: Wait at least 90 seconds after disconnecting the cable from the negative (-) battery terminal to disable the SRS system.
    3. Check that the connectors are properly connected to the occupant classification ECU and center airbag sensor assembly. Also check that the connectors that link the front seat wire RH and floor wire are properly connected.

      OK

      The connectors are properly connected.

      HINT: 

      If the connectors are not connected securely, reconnect the connectors and proceed to the next inspection.

    4. Disconnect the connectors from the center airbag sensor assembly and occupant classification ECU. Also disconnect the connectors that link the front seat wire RH and floor wire.
    5. Check that the terminals of the connectors are not damaged.

      OK

      The terminals are not deformed or damaged.

    NG → REPLACE WIRE HARNESS 

    OK: Go to next step 

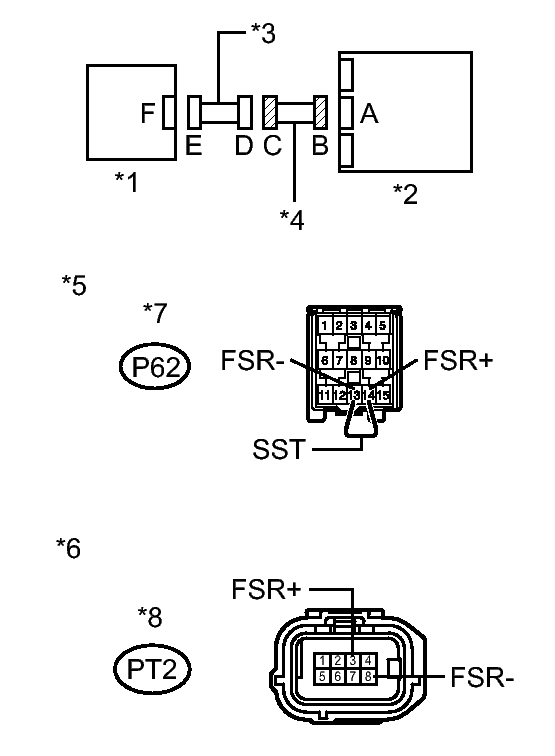
  2. CHECK OCCUPANT CLASSIFICATION SYSTEM CIRCUIT (SHORT TO B+) 
    1. Connect the connectors that link the front seat wire RH and floor wire.
      GTY400955Courtesy of © TOYOTA, LICENSE AGREEMENT TMS1002
    2. Connect the cable to the negative (-) battery terminal.
    3. Turn the engine switch on (IG).
    4. Measure the voltage according to the value(s) in the table below.

      Standard Voltage

      Tester Connection Switch Condition Specified Condition
      T16-11 (FSR+) - Body ground Engine switch on (IG) Below 1 V
      T16-12 (FSR-) - Body ground Engine switch on (IG) Below 1 V
      TEXT IN ILLUSTRATION

      *1 Occupant Classification ECU
      *2 Center Airbag Sensor Assembly
      *3 Front view of wire harness connector
      (to Occupant Classification ECU)
      *4 Connector E

    NG → See step   12 

    OK: Go to next step 

  3. CHECK OCCUPANT CLASSIFICATION SYSTEM CIRCUIT (OPEN) 
    1. Turn the engine switch off.
      GTY413477Courtesy of © TOYOTA, LICENSE AGREEMENT TMS1002
    2. Disconnect the cable from the negative (-) battery terminal.
      WARNING: Wait at least 90 seconds after disconnecting the cable from the negative (-) battery terminal to disable the SRS system.
    3. Using SST, connect terminals 12 (FSR+) and 13 (FSR-) of connector B.
      NOTE: Do not forcibly insert SST into the terminals of the connector when connecting the wire.
      • SST: 09843-18040 
    4. Measure the resistance according to the value(s) in the table below.

      Standard Resistance

      Tester Connection Condition Specified Condition
      T16-11 (FSR+) - T16-12 (FSR-) Always Below 1 Ω
      TEXT IN ILLUSTRATION

      *1 Occupant Classification ECU
      *2 Center Airbag Sensor Assembly
      *3 Front view of wire harness connector
      (to Center Airbag Sensor Assembly)
      *4 Connector B
      *5 Front view of wire harness connector
      (to Occupant Classification ECU)
      *6 Connector E

    NG → See step   13 

    OK: Go to next step 

  4. CHECK OCCUPANT CLASSIFICATION SYSTEM CIRCUIT (SHORT) 
    1. Disconnect SST from connector B.
      GTY400955Courtesy of © TOYOTA, LICENSE AGREEMENT TMS1002
    2. Measure the resistance according to the value(s) in the table below.

      Standard Resistance

      Tester Connection Condition Specified Condition
      T16-11 (FSR+) - T16-12 (FSR-) Always 1 MΩ or higher
      TEXT IN ILLUSTRATION

      *1 Occupant Classification ECU
      *2 Center Airbag Sensor Assembly
      *3 Front view of wire harness connector
      (to Occupant Classification ECU)
      *4 Connector E

    NG → See step   14 

    OK: Go to next step 

  5. CHECK OCCUPANT CLASSIFICATION SYSTEM CIRCUIT (SHORT TO GROUND) 
    1. Measure the resistance according to the value(s) in the table below.
      GTY400955Courtesy of © TOYOTA, LICENSE AGREEMENT TMS1002

      Standard Resistance

      Tester Connection Condition Specified Condition
      T16-11 (FSR+) - Body ground Always 1 MΩ or higher
      T16-12 (FSR-) - Body ground Always 1 MΩ or higher
      TEXT IN ILLUSTRATION

      *1 Occupant Classification ECU
      *2 Center Airbag Sensor Assembly
      *3 Front view of wire harness connector
      (to Occupant Classification ECU)
      *4 Connector E

    NG → See step   15 

    OK: Go to next step 

  6. CHECK DTC 
    1. Connect the connectors to the occupant classification ECU and center airbag sensor assembly.
    2. Connect the Techstream to the DLC3.
    3. Connect the cable to the negative (-) battery terminal.
    4. Turn the engine switch on (IG).
    5. Clear the DTCs stored in the occupant classification ECU. Refer to DTC CHECK/CLEAR [08/2012 - ] .
    6. Clear the DTCs stored in the center airbag sensor assembly. Refer to DTC CHECK/CLEAR [08/2012 - ] .
    7. Turn the engine switch off.
    8. Turn the engine switch on (IG).
    9. Using the Techstream, check for DTCs of the occupant classification ECU. Refer to DTC CHECK/CLEAR [08/2012 - ] .

      OK

      DTC B1790 is not output.

      HINT: 

      Codes other than DTC B1790 may be output at this time, but they are not related to this check.

    NG → See step   7 

    OK → See step   16 

  7. REPLACE OCCUPANT CLASSIFICATION ECU 
    1. Connect the Techstream to the DLC3.
    2. Turn the engine switch on (IG).
    3. Using the Techstream, save the ECU data from the ECU currently installed on the vehicle. Refer to REGISTRATION [08/2012 - ] .
    4. Turn the engine switch off.
    5. Disconnect the cable from the negative (-) battery terminal.
      WARNING: Wait at least 90 seconds after disconnecting the cable from the negative (-) battery terminal to disable the SRS system.
    6. Replace the occupant classification ECU. Refer to REMOVAL [08/2012 - ] .
    7. Connect the cable to the negative (-) battery terminal.
    8. Turn the engine switch on (IG).
    9. Using the Techstream, load the previous ECU data stored into the new ECU. Refer to REGISTRATION [08/2012 - ] .
    10. Turn the engine switch off.
    11. Turn the engine switch on (IG).
    12. Clear the DTCs stored in the memory. Refer to DTC CHECK/CLEAR [08/2012 - ] .

      HINT: 

      If the DTCs are not cleared at this time, history DTCs will remain.

    NEXT: Go to next step 

  8. RECHECK DTC 
    1. Turn the engine switch on (IG).
    2. Clear the DTCs stored in the occupant classification ECU. Refer to DTC CHECK/CLEAR [08/2012 - ] .
    3. Clear the DTCs stored in the center airbag sensor assembly. Refer to DTC CHECK/CLEAR [08/2012 - ] .
    4. Turn the engine switch off.
    5. Turn the engine switch on (IG).
    6. Using the Techstream, check for DTCs of the occupant classification ECU. Refer to DTC CHECK/CLEAR [08/2012 - ] .

      OK

      DTC B1790 is not output.

      HINT: 

      Codes other than DTC B1790 may be output at this time, but they are not related to this check.

    NG → See step   10 

    OK: Go to next step 

  9. PERFORM SENSITIVITY CHECK 
    1. Perform the sensitivity check. Refer to INITIALIZATION [08/2012 - ] .

    NEXT → END 

  10. REPLACE CENTER AIRBAG SENSOR ASSEMBLY 
    1. Turn the engine switch off.
    2. Disconnect the cable from the negative (-) battery terminal.
      WARNING: Wait at least 90 seconds after disconnecting the cable from the negative (-) battery terminal to disable the SRS system.
    3. Replace the center airbag sensor assembly. Refer to REMOVAL [08/2012 - ] .

    NEXT: Go to next step 

  11. PERFORM SENSITIVITY CHECK 
    1. Perform the sensitivity check. Refer to INITIALIZATION [08/2012 - ] .

    NEXT → END 

  12. CHECK FLOOR WIRE (SHORT TO B+) 
    1. Turn the engine switch off.
      GTY412849Courtesy of © TOYOTA, LICENSE AGREEMENT TMS1002
    2. Disconnect the cable from the negative (-) battery terminal.
      WARNING: Wait at least 90 seconds after disconnecting the cable from the negative (-) battery terminal to disable the SRS system.
    3. Disconnect the front seat wire RH connector from the floor wire.
    4. Connect the cable to the negative (-) battery terminal.
    5. Turn the engine switch on (IG).
    6. Measure the voltage according to the value(s) in the table below.

      Standard Voltage

      Tester Connection Switch Condition Specified Condition
      PT2-3 (FSR+) - Body ground Engine switch on (IG) Below 1 V
      PT2-8 (FSR-) - Body ground Engine switch on (IG) Below 1 V
      TEXT IN ILLUSTRATION

      *1 Occupant Classification ECU
      *2 Center Airbag Sensor Assembly
      *3 Front Seat Wire RH
      *4 Floor Wire
      *5 Front view of wire harness connector
      (to Front Seat Wire RH)
      *6 Connector C

    NG → REPLACE FLOOR WIRE 

    OK → REPLACE FRONT SEAT WIRE RH 

  13. CHECK FLOOR WIRE (OPEN) 
    1. Disconnect the front seat wire RH connector from the floor wire.
      GTY396641Courtesy of © TOYOTA, LICENSE AGREEMENT TMS1002

      HINT: 

      SST has already been inserted into connector B.

    2. Measure the resistance according to the value(s) in the table below.

      Standard Resistance

      Tester Connection Condition Specified Condition
      PT2-3 (FSR+) - PT2-8 (FSR-) Always Below 1 Ω
      TEXT IN ILLUSTRATION

      *1 Occupant Classification ECU
      *2 Center Airbag Sensor Assembly
      *3 Front Seat Wire RH
      *4 Floor Wire
      *5 Front view of wire harness connector
      (to Center Airbag Sensor Assembly)
      *6 Front view of wire harness connector
      (to Front Seat Wire RH)
      *7 Connector B
      *8 Connector C

    NG → REPLACE FLOOR WIRE 

    OK → REPLACE FRONT SEAT WIRE RH 

  14. CHECK FLOOR WIRE (SHORT) 
    1. Disconnect the front seat wire RH connector from the floor wire.
      GTY412849Courtesy of © TOYOTA, LICENSE AGREEMENT TMS1002
    2. Measure the resistance according to the value(s) in the table below.

      Standard Resistance

      Tester Connection Condition Specified Condition
      PT2-3 (FSR+) - PT2-8 (FSR-) Always 1 MΩ or higher
      TEXT IN ILLUSTRATION

      *1 Occupant Classification ECU
      *2 Center Airbag Sensor Assembly
      *3 Front Seat Wire RH
      *4 Floor Wire
      *5 Front view of wire harness connector
      (to Front Seat Wire RH)
      *6 Connector C

    NG → REPLACE FLOOR WIRE 

    OK → REPLACE FRONT SEAT WIRE RH 

  15. CHECK FLOOR WIRE (SHORT TO GROUND) 
    1. Disconnect the front seat wire RH connector from the floor wire.
      GTY412849Courtesy of © TOYOTA, LICENSE AGREEMENT TMS1002
    2. Measure the resistance according to the value(s) in the table below.

      Standard Resistance

      Tester Connection Condition Specified Condition
      PT2-3 (FSR+) - Body ground Always 1 MΩ or higher
      PT2-8 (FSR-) - Body ground Always 1 MΩ or higher
      TEXT IN ILLUSTRATION

      *1 Occupant Classification ECU
      *2 Center Airbag Sensor Assembly
      *3 Front Seat Wire RH
      *4 Floor Wire
      *5 Front view of wire harness connector
      (to Front Seat Wire RH)
      *6 Connector C

    NG → REPLACE FLOOR WIRE 

    OK → REPLACE FRONT SEAT WIRE RH 

  16. USE SIMULATION METHOD TO CHECK. Refer to  HOW TO PROCEED WITH TROUBLESHOOTING [08/2012 - ]