LEMON Manuals: Even more car manuals for everyone
Home >> Lexus >> 2013 >> IS 250C Base >> Repair and Diagnosis (Single Page) >> Electrical >> Starter >> Smart Access System (Keyless Start) (Diagnostics & Circuit Tests) >> SMART ACCESS SYSTEM WITH PUSH-BUTTON START (For Start Function) >> Circuit Tests >> Engine Switch Indicator Circuit >> Wiring Diagram

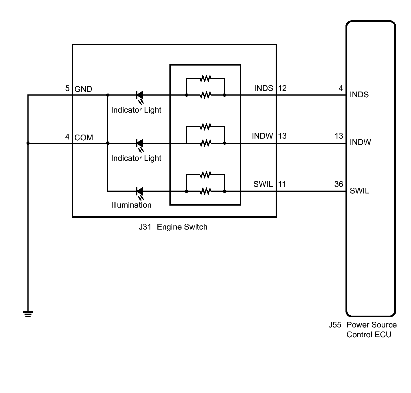
Engine Switch Indicator Circuit: Wiring Diagram

Fig 1: Engine Switch And Power Source Control ECU Wiring Diagram
GTY137707Courtesy of © TOYOTA, LICENSE AGREEMENT TMS1002