LEMON Manuals: Even more car manuals for everyone
Home >> Lexus >> 2013 >> IS 250C Base >> Repair and Diagnosis (Single Page) >> Body & Frame >> Windows >> Power Window Control System (Diagnostics & Symptom Tests) >> Power Window Control System >> Symptom Tests >> Driver Side Power Window does not Operate with Power Window Master Switch >> Procedure

Driver Side Power Window does not Operate with Power Window Master Switch: Procedure

  1. PERFORM ACTIVE TEST USING TECHSTREAM 
    1. Connect the Techstream to the DLC3.
    2. Turn the engine switch on (IG).
    3. Turn the Techstream on.
    4. Enter the following menus: Body Electrical / Master Switch / Active Test.
    5. Perform the Active Test according to the display on the Techstream.
      MASTER SWITCH (POWER WINDOW REGULATOR MASTER SWITCH ASSEMBLY)

      Tester Display Test Part Control Range Diagnostic Note
      Driver Side Power Window Driver door power window OFF / UP / DOWN -

      OK

      Driver door power window operates normally.

      WARNING:

      Be careful to avoid injuries as this test causes vehicle parts to move. During the Active Test, the jam protection function will not operate.

    NG → See step   2 

    OK → See step   6 

  2. CHECK HARNESS AND CONNECTOR (MASTER SWITCH - BODY GROUND AND BATTERY) 
    1. Disconnect the power window regulator master switch assembly connector.
      GTY275971Courtesy of © TOYOTA, LICENSE AGREEMENT TMS1002
    2. Measure the resistance and voltage according to the value(s) in the table below.

      Standard Resistance

      Tester Connection Condition Specified Condition
      M17-20 (GND) - Body ground Always Below 1 Ω

      Standard Voltage

      Tester Connection Condition Specified Condition
      M17-8 (B) - M17-20 (GND) Always 11 to 14 V
      M17-9 (IGB) - M17-20 (GND) Engine switch on (IG) 11 to 14 V
      M17-9 (IGB) - M17-20 (GND) Engine switch off Below 1 V
      M17-10 (B) - M17-20 (GND) Always 11 to 14 V
      TEXT IN ILLUSTRATION

      *1 Front view of wire harness connector
      (to Power Window Regulator Master Switch Assembly)

    NG → REPAIR OR REPLACE HARNESS OR CONNECTOR 

    OK: Go to next step 

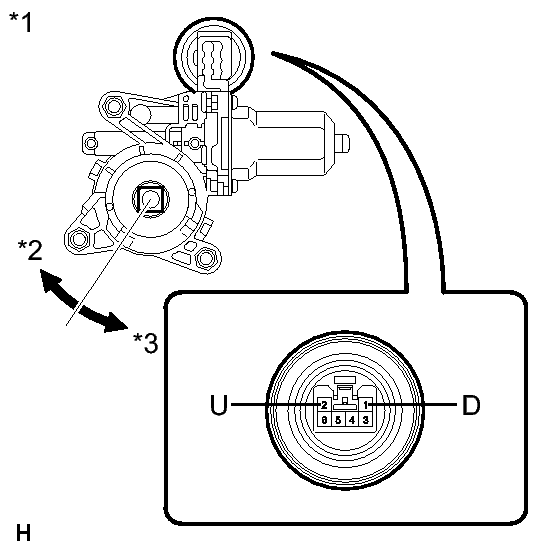
  3. INSPECT POWER WINDOW REGULATOR MOTOR ASSEMBLY (for Driver Side) 
    1. Remove the power window regulator motor assembly (for driver side). Refer to REMOVAL [08/2012 - ] .
      GTY255841Courtesy of © TOYOTA, LICENSE AGREEMENT TMS1002
    2. Check power window regulator motor operation:
      1. Apply battery voltage to connector terminals 1 and 2.
        NOTE:

        Do not apply battery voltage to any terminals except terminals 1 and 2.

      2. Check that the motor gear rotates smoothly as follows.

        OK

        Measurement Condition Specified Condition
        Battery positive (+) → 1 (D)
        Battery negative (-) → 2 (U)
        Motor gear rotates counterclockwise
        Battery positive (+) → 2 (U)
        Battery negative (-) → 1 (D)
        Motor gear rotates clockwise
        TEXT IN ILLUSTRATION

        *1 Component without harness connected
        (Power Window Regulator Motor Assembly (for Driver Side))
        *2 Clockwise
        *3 Counterclockwise
    3. Check PTC operation:
      NOTE:

      This check must be performed with the power window regulator and door glass installed on the vehicle.

      1. Install the power window regulator motor assembly (for driver side). Refer to INSTALLATION [08/2012 - ] .
      2. Reconnect the power window regulator master switch connector.
      3. Initialize the power window regulator master switch assembly. Refer to INITIALIZATION [08/2012 - ] .
      4. Connect an electrical tester DC 400 A probe to the wire harness of terminal 2.
        GTY274936Courtesy of © TOYOTA, LICENSE AGREEMENT TMS1002
        TEXT IN ILLUSTRATION

        *1 Component with harness connected
        (Power Window Regulator Motor Assembly (for Driver Side))
        NOTE:

        Match the arrow mark of the probe with the direction of the current flow.

      5. Fully close the door glass by pulling up the power window regulator master switch assembly. Wait for approximately 60 seconds.
      6. Continue to pull up the power window regulator master switch assembly and measure how long it takes for the electrical current to change from a range of 16 to 28 A to approximately 1 A (current shut-off inspection).

        Standard

        4 to 90 seconds

      7. Wait for 60 seconds after the previous step, and then press the power window regulator master switch assembly.

        OK

        The driver door window goes down.

    NG → See step   5 

    OK: Go to next step 

  4. CHECK HARNESS AND CONNECTOR (MASTER SWITCH - REGULATOR MOTOR (for Driver Side)) 
    1. Disconnect the power window regulator master switch connector.
    2. Disconnect the power window regulator motor assembly (for driver side) connector.
      GTY254324Courtesy of © TOYOTA, LICENSE AGREEMENT TMS1002
    3. Measure the resistance according to the value(s) in the table below.

      Standard Resistance

      Tester Connection Condition Specified Condition
      M17-1 (UP) - M16-2 (U) Always Below 1 Ω
      M17-11 (DN) - M16-1 (D) Always Below 1 Ω
      M17-1 (UP) - Body ground Always 10 kΩ or higher
      M17-11 (DN) - Body ground Always 10 kΩ or higher
      M16-2 (U) - Body ground Always 10 kΩ or higher
      M16-1 (D) - Body ground Always 10 kΩ or higher
      TEXT IN ILLUSTRATION

      *1 Front view of wire harness connector
      (to Power Window Regulator Master Switch Assembly)
      *2 Front view of wire harness connector
      (to Power Window Regulator Motor Assembly (for Driver Side))

    NG → REPAIR OR REPLACE HARNESS OR CONNECTOR 

    OK → See step   6 

  5. REPLACE POWER WINDOW REGULATOR MOTOR ASSEMBLY (for Driver Side). Refer to  REMOVAL [08/2012 - ] 
  6. REPLACE POWER WINDOW REGULATOR MASTER SWITCH ASSEMBLY. Refer to  REMOVAL [08/2012 - ]