LEMON Manuals: Even more car manuals for everyone
Home >> Lexus >> 2013 >> IS 250C Base >> Repair and Diagnosis (Single Page) >> Accessories & Equipment >> Wiper/Washer Systems >> Wiper System/ Washer System (Diagnostics & Circuit Tests) >> Wiper And Washer System >> Circuit Tests >> Wiper Switch (HI Speed) Circuit >> Procedure

Wiper Switch (HI Speed) Circuit: Procedure

  1. CHECK MAIN BODY ECU LH (COWL SIDE JUNCTION BLOCK LH) 
    1. Measure the voltage according to the value(s) in the table below.
      GTY269676Courtesy of © TOYOTA, LICENSE AGREEMENT TMS1002

      Standard Voltage

      Tester Connection Switch Condition Specified Condition
      Q2-11 (2S) - Body ground Wiper switch not in HI position 11 to 14 V
      Q2-11 (2S) - Body ground Wiper switch in HI position Below 1 V
      TEXT IN ILLUSTRATION

      *1 Component without harness connected
      (Main Body ECU LH)

    NG → See step   2 

    OK → See step   5 

  2. INSPECT WINDSHIELD WIPER SWITCH ASSEMBLY 
    1. Remove the windshield wiper switch assembly. Refer to REMOVAL [08/2012 - ]
      GTY268108Courtesy of © TOYOTA, LICENSE AGREEMENT TMS1002
    2. Measure the resistance according to the value(s) in the table below.

      Standard Resistance

      Tester Connection Switch Condition Specified Condition
      3 (2S) - 5 (E) Wiper switch in HI position Below 1 Ω
      3 (2S) - 5 (E) Wiper switch not in HI position 10 kΩ or higher
      TEXT IN ILLUSTRATION

      *1 Component without harness connected
      (Windshield Wiper Switch Assembly)

    NG → See step   6 

    OK: Go to next step 

  3. CHECK HARNESS AND CONNECTOR (WINDSHIELD WIPER SWITCH ASSEMBLY - BODY GROUND) 
    1. Disconnect the J26 windshield wiper switch assembly connector.
      GTY277690Courtesy of © TOYOTA, LICENSE AGREEMENT TMS1002
    2. Measure the resistance according to the value(s) in the table below.

      Standard Resistance

      Tester Connection Condition Specified Condition
      J26-5 (E) - Body ground Always Below 1 Ω
      TEXT IN ILLUSTRATION

      *1 Front view of wire harness connector
      (to Windshield Wiper Switch Assembly)

    NG → REPAIR OR REPLACE HARNESS OR CONNECTOR 

    OK: Go to next step 

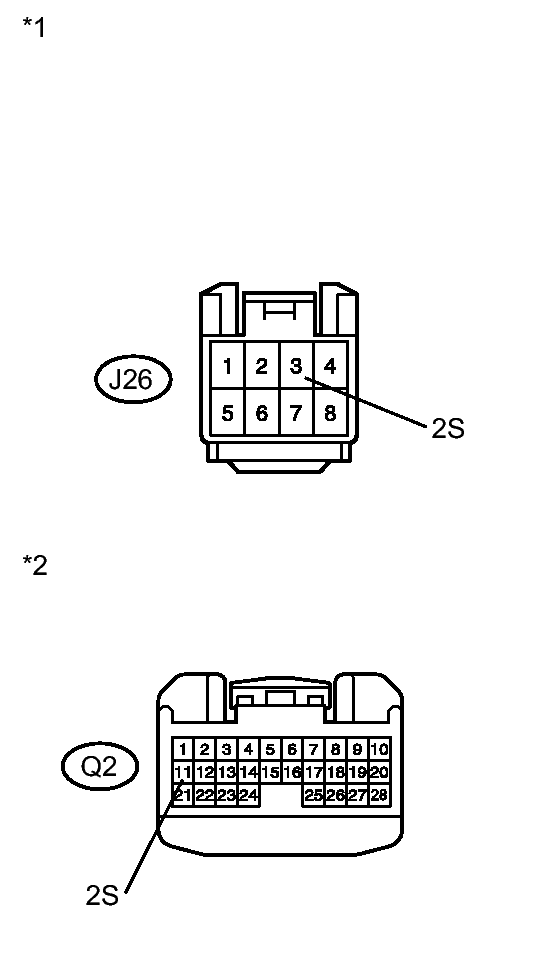
  4. CHECK HARNESS AND CONNECTOR (WINDSHIELD WIPER SWITCH ASSEMBLY - MAIN BODY ECU LH) 
    1. Disconnect the Q2 main body ECU LH (cowl side junction block LH) connector.
      GTY286895Courtesy of © TOYOTA, LICENSE AGREEMENT TMS1002
    2. Measure the resistance according to the value(s) in the table below.

      Standard Resistance

      Tester Connection Condition Specified Condition
      J26-3 (2S) - Q2-11 (2S) Always Below 1 Ω
      Q2-11 (2S) - Body ground Always 10 kΩ or higher
      TEXT IN ILLUSTRATION

      *1 Front view of wire harness connector
      (to Windshield Wiper Switch Assembly)
      *2 Front view of wire harness connector
      (to Main Body ECU LH)

    NG → REPAIR OR REPLACE HARNESS OR CONNECTOR 

    OK → See step   5 

  5. PROCEED TO NEXT SUSPECTED AREA SHOWN IN PROBLEM SYMPTOMS TABLE. Refer to  PROBLEM SYMPTOMS TABLE [08/2012 - ]  
  6. REPLACE WINDSHIELD WIPER SWITCH ASSEMBLY. Refer to  REMOVAL [08/2012 - ]