LEMON Manuals: Even more car manuals for everyone
Home >> Lexus >> 2013 >> IS 250C Base >> Repair and Diagnosis (Single Page) >> Accessories & Equipment >> Wiper/Washer Systems >> Wiper System/ Washer System (Diagnostics & Circuit Tests) >> Wiper And Washer System >> Circuit Tests >> Front Wiper Motor Circuit >> Procedure

Front Wiper Motor Circuit: Procedure

  1. PERFORM ACTIVE TEST USING TECHSTREAM 
    1. Connect the Techstream to the DLC3.
    2. Turn the engine switch on (IG).
    3. Turn the Techstream on.
    4. Enter the following menus: Body Electrical / Body No. 3 / Active Test.
    5. Check the operation.
      BODY NO. 3 (MAIN BODY ECU LH)

      Tester Display Test Part Control Range Diagnostic Note
      Wiper Motor Hi Front wiper motor HI operation ON/OFF -
      Wiper Motor Lo Front wiper motor LO operation ON/OFF -

      OK

      Front wiper motor operates.

    NG → See step   2 

    OK → See step   4 

  2. INSPECT WINDSHIELD WIPER MOTOR ASSEMBLY 
    1. Remove the windshield wiper motor assembly. Refer to REMOVAL [08/2012 - ] .
    2. Check the LO operation.
      GTY273556Courtesy of © TOYOTA, LICENSE AGREEMENT TMS1002
      1. Connect a positive (+) battery lead to terminal 1 (+1) and a negative (-) lead to terminal 5 (E), and check that the motor operates at low speed (LO).

        OK

        Motor operates at low speed (LO).

        TEXT IN ILLUSTRATION

        *1 Component without harness connected
        (Windshield Wiper Motor Assembly)
    3. Check the HI operation.
      1. Connect a positive (+) battery lead to terminal 4 (+2) and a negative (-) lead to terminal 5 (E), and check that the motor operates at high speed (HI).

        OK

        Motor operates at high speed (HI).

    NG → See step   5 

    OK: Go to next step 

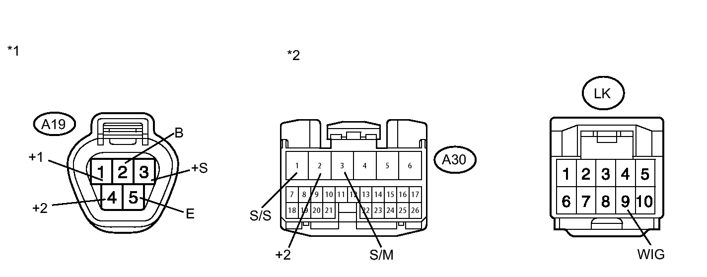
  3. CHECK HARNESS AND CONNECTOR (WINDSHIELD WIPER MOTOR ASSEMBLY - MAIN BODY ECU LH) 
    1. Disconnect the A19 windshield wiper motor assembly connector.
      GTY270955Courtesy of © TOYOTA, LICENSE AGREEMENT TMS1002
    2. Disconnect the A30 and LK main body ECU LH (cowl side junction block LH) connector.
    3. Measure the resistance according to the value(s) in the table below.

      Standard Resistance

      Tester Connection Condition Specified Condition
      LK-9 (WIG) - A19-2 (B) Always Below 1 Ω
      A30-1 (S/S) - A19-1 (+1) Always Below 1 Ω
      A30-2 (+2) - A19-4 (+2) Always Below 1 Ω
      A30-3 (S/M) - A19-3 (+S) Always Below 1 Ω
      A19-3 (+S) - Body ground Always 10 kΩ or higher
      A19-2 (B) - Body ground Always 10 kΩ or higher
      A19-4 (+2) - Body ground Always 10 kΩ or higher
      A19-5 (E) - Body ground Always Below 1 Ω
      A19-1 (+1) - Body ground Always 10 kΩ or higher
      TEXT IN ILLUSTRATION

      *1 Front view of wire harness connector
      (to Windshield Wiper Motor Assembly)
      *2 Front view of wire harness connector
      (to Main Body ECU LH)

    NG → REPAIR OR REPLACE HARNESS OR CONNECTOR 

    OK → REPLACE MAIN BODY ECU LH (COWL SIDE JUNCTION BLOCK LH) 

  4. PROCEED TO NEXT SUSPECTED AREA SHOWN IN PROBLEM SYMPTOMS TABLE. Refer to  PROBLEM SYMPTOMS TABLE [08/2012 - ]  
  5. REPLACE WINDSHIELD WIPER MOTOR ASSEMBLY. Refer to  REMOVAL [08/2012 - ]